К верхней части документа
Captiva
   
Начальная страница GMDE Загрузить статическое содержание Загрузить динамическое содержание Справка?

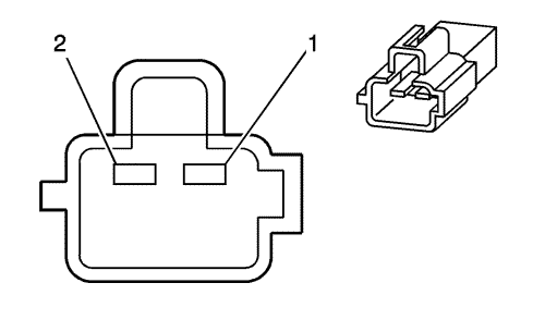
F105 Подушка безопасности пассажира на панели приборов


1356268

Информация о деталях разъемов

  • Тип жгута проводов: Надувные подушки безопасности
  • Разъем oem: 60201704
  • Разъем технического обслуживания: Техническое обслуживание жгутов проводов - См. Каталог деталей
  • Описание: 2-контактный штекер

Информация о деталях контактов

  • Заделанный контакт: Техническое обслуживание жгутов проводов - См. Каталог деталей
  • Инструмент для разблокирования: Находится на рассмотрении
  • Щуп диагностической проверки: Находится на рассмотрении

F105 Подушка безопасности пассажира на панели приборов

Палец

Размер

Цвет

Цепь

Функционирование

Опция

1

0,5

wh/bk

1403

Сигнал управления высокого уровня модуля приборной панели со стороны переднего пассажира

--

2

0,5

d-gn/wh

1404

Сигнал управления низкого уровня модуля приборной панели со стороны переднего пассажира

--

   


https://vnx.su/ 🛠 Руководства по ремонту и эксплуатации для автомобилей

Поиск по сайту

Остались вопросы или пожелания? Пишите на почту: support@vnx.su

Карта Сайта