К верхней части документа
Captiva
   
Начальная страница GMDE Загрузить статическое содержание Загрузить динамическое содержание Справка?

X437 - От аксессуаров для Holden до жгута проводов доработки модуля звуковой сигнализации парковки (с HDN)


2183763

2183764

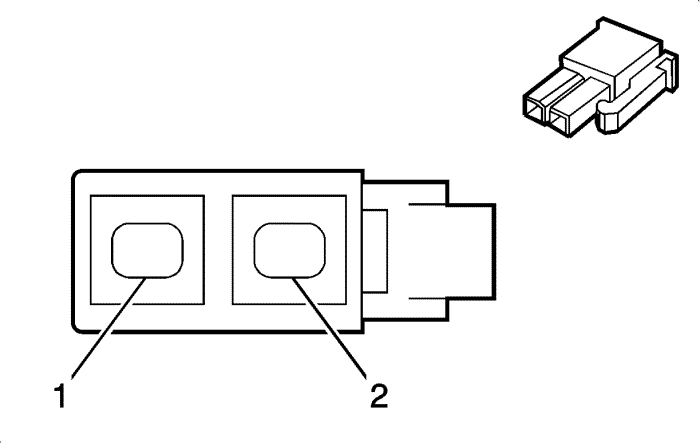
Информация о деталях разъемов

  • Тип жгута проводов: Аксессуар для holden
  • Разъем oem: Находится на рассмотрении
  • Разъем технического обслуживания: Находится на рассмотрении
  • Описание: 2-контактная розетка (wh)

Информация о деталях разъемов

  • Тип жгута проводов: Аксессуар для holden
  • Разъем oem: Находится на рассмотрении
  • Разъем технического обслуживания: Находится на рассмотрении
  • Описание: на 2 направлений, штырьковый (wh)

X437 - От аксессуаров для Holden до жгута проводов доработки модуля звуковой сигнализации парковки (с HDN)

Палец

Размер

Цвет

Цепь

Опция

Функционирование

Палец

Размер

Цвет

Цепь

Опция

1

--

bk

8

--

Заземление

1

--

bk

8

--

2

--

rd

3

--

Сигнал 12 Вольт

2

--

rd

3

--

   


https://vnx.su/ 🛠 Руководства по ремонту и эксплуатации для автомобилей

Поиск по сайту

Остались вопросы или пожелания? Пишите на почту: support@vnx.su

Карта Сайта