К верхней части документа
Captiva
   
Начальная страница GMDE Загрузить статическое содержание Загрузить динамическое содержание Справка?

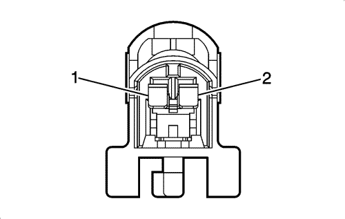
X303 Жгут проводов модуля потолочной лонжеронной подушки безопасности - справа от жгута проводов кузова


2177025

2578917

Информация о деталях разъемов

  • Тип жгута проводов: Кузов
  • Разъем oem: 1393429-6
  • Разъем технического обслуживания: Находится на рассмотрении
  • Описание: 2-контактный, гнездовой, серия 1.5 (YE)

Информация о деталях разъемов

  • Тип жгута проводов: Удлинитель бокового релинга крыши для надувной подушки безопасности
  • Разъем oem: 1393433-8
  • Разъем технического обслуживания: Техническое обслуживание жгутов проводов - См. Каталог деталей
  • Описание: 2-контактный, штырьковый, серия 070 (ye)

Информация о деталях контактов

  • Заделанный контакт: Находится на рассмотрении
  • Инструмент для разблокирования: Находится на рассмотрении
  • Щуп диагностической проверки: Находится на рассмотрении

Информация о деталях контактов

  • Заделанный контакт: Техническое обслуживание жгутов проводов - См. Каталог деталей
  • Инструмент для разблокирования: Находится на рассмотрении
  • Щуп диагностической проверки: Находится на рассмотрении

X303 Жгут проводов модуля потолочной лонжеронной подушки безопасности - справа от жгута проводов кузова

Палец

Размер

Цвет

Цепь

Опция

Функционирование

Палец

Размер

Цвет

Цепь

Опция

1

0,5

wh/bk

5022

-

Низкий уровень модуля надувной подушки безопасности у бокового релинга крыши справа спереди

1

0,5

wh/bk

5022

--

2

0,5

ye/bk

5021

-

Высокий уровень модуля надувной подушки безопасности у бокового релинга крыши справа спереди

2

0,5

ye/bk

5021

--

   


https://vnx.su/ 🛠 Руководства по ремонту и эксплуатации для автомобилей

Поиск по сайту

Остались вопросы или пожелания? Пишите на почту: support@vnx.su

Карта Сайта