Captiva |
||||||||
|
|
|
|||||||
|
|
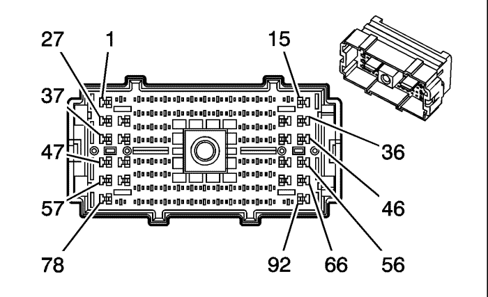
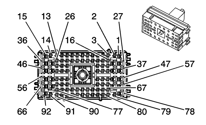
Информация о деталях разъемов
| Информация о деталях разъемов
|
Информация о деталях контактов
| Информация о деталях контактов
|
Палец | Размер | Цвет | Цепь | Опция | Функционирование | Палец | Размер | Цвет | Цепь | Опция |
|---|---|---|---|---|---|---|---|---|---|---|
1 | 0.3 | ye/bk | 693 | Короткая колесная база с upf | Сигнал выключения звука сотового телефона | 1 | 0.3 | ye/bk | 693 | Короткая колесная база с upf |
0,5 | БЕЗ ИЗОЛЯЦИИ | 6799 | ucs | Экран видеокамеры | 0,5 | БЕЗ ИЗОЛЯЦИИ | 6799 | ucs | ||
2 | 0,5 | l-gn | 200 | без vxc | Правый передний динамик (+) (1) | 2 | 0,5 | l-gn | 200 | без vxc |
3 | 0,5 | d-gn | 117 | без vxc | Сигнал динамика справа спереди (-) (1) | 3 | 0,5 | d-gn | 117 | без vxc |
4 | 0./5 | l-bu | 5362 | utj | Сигнал включения сигнализации от датчика наклона | 4 | 0./5 | l-bu | 5362 | utj |
5 | 0,5 | tn/bk | 5168 | utj | Сигнал включения мощной сирены | 5 | 0,5 | tn/bk | 5168 | utj |
6 | 1.25 | rd/wh | 1940 | Короткая колесная база с upf | Напряжение на положительной клемме аккумуляторной батареи | 6 | 1.25 | rd/wh | 1940 | Короткая колесная база с upf |
0.3 | gy | 5248 | ud7 | Низкое опорное напряжение аварийного сигнала системы облегчения парковки | 0.3 | gy | 5248 | ud7 | ||
0.3 | gy | 5248 | Длинная колесная база с ufr | Низкое опорное напряжение аварийного сигнала системы облегчения парковки | 0.3 | gy | 5248 | Длинная колесная база с ufr | ||
7 | 0.3 | ye | 5247 | ud7 | Аварийный сигнал системы облегчения парковки | 7 | 0.3 | ye | 5247 | ud7 |
0.3 | ye | 5247 | Длинная колесная база с ufr | Аварийный сигнал системы облегчения парковки | 0.3 | ye | 5247 | Длинная колесная база с ufr | ||
8 | 0.3 | l-bu | 2380 | Длинная колесная база с ufr | Сигнал звукового предупреждения системы помощи при парковке сзади | 8 | 0.3 | l-bu | 2380 | Длинная колесная база с ufr |
9 | 0,5 | pk | 5068 | utj | Сигнал отключения выключателя датчика охранной сигнализации | 9 | 0,5 | pk | 5068 | utj |
10 | 0,5 | l-bu | 6844 | - | Сигнал переключателя системы управления помощи при спуске abs/tcs | 10 | 0,5 | l-bu | 6844 | -- |
11 | 0,5 | gy | 6208 | ucs | Коаксиальный сигнал видеокамеры | 11 | 0,5 | gy | 6208 | ucs |
0.3 | tn/wh | 312 | Короткая колесная база без t4f | Напряжение питания правой фары ближнего света | 0.3 | tn/wh | 312 | Короткая колесная база без t4f | ||
12 | 0,5 | vt/bk | 9003 | utj | Сигнал датчика проникновения через правое окно | 12 | 0,5 | vt/bk | 9003 | utj |
13 | 0,5 | tn | 201 | без vxc | Левый передний динамик (+) (1) | 13 | 0,5 | tn | 201 | без vxc |
14 | 0,5 | gy | 118 | без vxc | Сигнал динамика слева спереди (-) (1) | 14 | 0,5 | gy | 118 | без vxc |
15 | 0.85 | rd/wh | 1940 | -- | Напряжение на положительной клемме аккумуляторной батареи | 15 | 0.85 | rd/wh | 1940 | Длинная колесная база с utj или короткая колесная база с ufr |
16 | 0,5 | l-bu/bk | 659 | Короткая колесная база с upf | Низкий опорный голосовой сигнал сотового телефона | 16 | 0,5 | l-bu/bk | 659 | Короткая колесная база с upf |
17 | 0,5 | l-bu | 115 | без vxc | Сигнал правого заднего динамика (-) | 17 | 0,5 | l-bu | 115 | без vxc |
18 | 0,5 | d-bu | 46 | без vxc | Правый задний динамик (+) | 18 | 0,5 | d-bu | 46 | без vxc |
19 | 0,5 | pu/wh | 5203 | c68 | Датчик качества воздуха - Сигнал | 19 | 0,5 | pu/wh | 5203 | c68 |
20 | 0.3 | gy | 391 | - | Сигнал переключателя очистителя заднего окна | 20 | 0.3 | gy | 391 | -- |
21 | 0,5 | d-gn/wh | 636 | -- | Сигнал датчика температуры наружного воздуха | 21 | 0,5 | d-gn/wh | 636 | -- |
22 | 0,5 | og/bk | 645 | - | Низкий опорный сигнал датчика | 22 | 0,5 | og/bk | 645 | -- |
23 | 0.3 | wh | 193 | c68 | Управление реле заднего антизапотевателя | 23 | 0.3 | wh | 193 | c68 |
24 | 0.3 | d-gn | 189 | Короткая колесная база без t4f или длинная колесная база без v8a | Напряжение питания двигателя регулировки наклона света фар | 24 | 0.3 | d-gn | 189 | Короткая колесная база без t4f или длинная колесная база без v8a |
25 | 0.3 | tn/wh | 312 | Длинная колесная база без v8a | Напряжение питания правой фары ближнего света | 25 | 0.3 | tn/wh | 312 | Длинная колесная база без v8a |
26 | 0.3 | gy | 6137 | c60 | Сигнал датчика температуры радиатора системы улавливания паров топлива | 26 | 0.3 | gy | 6137 | - |
27 | 0.85 | og | 1732 | - | Опорное напряжение 12 Вольт электронного блока управления (3) | 27 | 0,5 | og | 1732 | - |
0.3 | og | 1732 | - | Опорное напряжение 12 Вольт электронного блока управления (3) | ||||||
28 | 0.3 | wh | 5359 | mx0 | Напряжение питания датчика срабатывания тормоза | 28 | 0,5 | wh | 5359 | mx0 |
0.3 | tn | 6109 | mn6 | Опорное напряжение датчика включения сцепления | 0,5 | tn | 6109 | mn6 | ||
29 | 0.3 | ye | 18 | -- | Напряжение питания левого заднего стоп-сигнала/лампы сигналов поворота | 29 | 0,5 | ye | 18 | -- |
30 | 0.3 | bn | 5360 | mx0 | Низкое опорное напряжение датчика срабатывания тормоза | 30 | 0,5 | bn | 5360 | mx0 |
0.3 | wh | 6100 | mn6 | Низкое опорное напряжение датчика избыточного нагрева компрессора | 0.3 | wh | 6100 | mn6 | ||
31 | 0.3 | ye | 5361 | mx0 | Сигнал датчика срабатывания тормоза | 31 | 0,5 | ye | 5361 | mx0 |
0.3 | ye | 6111 | mn6 | Сигнал датчика включения сцепления | 0.3 | ye | 6111 | mn6 | ||
32 | 0.3 | ye | 1496 | Удлиненная колесная база | Управление двигателем вправо/вверх привода зеркала | 32 | 0.3 | ye | 1496 | Удлиненная колесная база |
33 | -- | -- | -- | -- | Не используется | 33 | -- | -- | -- | -- |
34 | 0,5 | pu/wh | 5754 | u88 | Управление НЧ динамиком с питанием от усилителя (1) | 34 | 0,5 | pu/wh | 5754 | u88 |
35 | 0,5 | tn/bk | 2500 | -- | Высокоскоростная шина последовательных данных gmlan (+) (1) | 35 | 0,5 | tn/bk | 2500 | -- |
36 | 0,75 | pu | 1703 | nv8 | Управление чувствительным к скорости электромагнитом регулируемого усилия рулевого привода | 36 | 0,75 | pu | 1703 | nv8 |
37 | 0,5 | bk/wh | 251 | - | "Земля" сигнала | 37 | 0,5 | bk/wh | 251 | -- |
38 | 0,5 | pk/wh | 2092 | - | Сигнал переключателя режима экономии топлива (eco) | 38 | 0,5 | pk/wh | 2092 | -- |
39 | 0,5 | by | 2093 | - | Опорное напряжение 5 В переключателя режима экономии топлива (eco) | 39 | 0,5 | by | 2093 | -- |
40 | 0,5 | d-bu | 658 | Короткая колесная база с upf | Голосовой сигнал сотового телефона | 40 | 0,5 | d-bu | 658 | Короткая колесная база с upf |
0,5 | pk/bk | 5755 | u88 | Управление НЧ динамиком с питанием от усилителя (2) | 0,5 | pk/bk | 5755 | u88 | ||
41 | 0.3 | bn | 1271 | -- | Низкий опорный сигнал положения педали акселератора (1) | 41 | 0.3 | bn | 1271 | -- |
42 | 0.3 | wh/bk | 1164 | -- | Опорное напряжение 5 вольт положения педали акселератора (1) | 42 | 0.3 | wh/bk | 1164 | -- |
43 | 0.3 | l-bu | 1162 | -- | Сигнал положения педали акселератора (2) | 43 | 0.3 | l-bu | 1162 | -- |
44 | 0.3 | tn | 1274 | -- | Опорное напряжение 5 вольт положения педали акселератора (2) | 44 | 0.3 | tn | 1274 | -- |
45 | 0,5 | tn | 2501 | -- | Высокоскоростная шина последовательных данных gmlan (-) (1) | 45 | 0,5 | tn | 2501 | -- |
46 | 0.85 | l-bu | 1738 | nv8 | Напряжение питания чувствительного к скорости электромагнита регулируемого усилия рулевого привода | 46 | 0.85 | l-bu | 1738 | nv8 |
47 | 0.3 | gy | 2555 | Короткая колесная база с ufr | Сигнал отключения системы парковки с задней стороны | 47 | 0.3 | gy | 2555 | Короткая колесная база с ufr |
48 | 0,5 | ye | 116 | без vxc | Сигнал динамика слева сзади (-) | 48 | 0,5 | ye | 116 | без vxc |
49 | 0.3 | pu | 1272 | -- | Низкий опорный сигнал положения педали акселератора (2) | 49 | 0.3 | pu | 1272 | -- |
50 | 0.3 | d-bu | 1161 | -- | Сигнал положения педали акселератора (1) | 50 | 0.3 | d-bu | 1161 | -- |
51 | 0,5 | bn | 199 | без vxc | Левый задний динамик (+) | 51 | 0,5 | bn | 199 | без vxc |
52 | -- | -- | -- | -- | Не используется | 52 | -- | -- | -- | -- |
53 | 0,5 | БЕЗ ИЗОЛЯЦИИ | 5842 | Короткая колесная база | Дополнительный аудиосигнал (2) | 53 | 0,5 | БЕЗ ИЗОЛЯЦИИ | 5842 | Короткая колесная база |
0.3 | wh | 81 | Удлиненная колесная база | Управление двигателем вправо привода левого зеркала | 0.3 | wh | 81 | Удлиненная колесная база | ||
54 | 0.3 | vt/rd | 5841 | Короткая колесная база | Вспомогательный аудиосигнал справа (2) | 54 | 0.3 | vt/rd | 5841 | Короткая колесная база |
0.3 | l-gn | 89 | Удлиненная колесная база | Управление двигателем вниз привода левого зеркала | 0.3 | l-gn | 89 | Удлиненная колесная база | ||
55 | 0.3 | bn | 5852 | Короткая колесная база с ufr | Сигнал отключения светодиода системы парковки с задней стороны | 55 | 0.3 | bn | 5852 | Короткая колесная база с ufr |
56 | 0,5 | tn | 2501 | -- | Высокоскоростная шина последовательных данных gmlan (-) (1) | 56 | 0,5 | tn | 2501 | -- |
57 | 0.3 | wh/bk | 910 | - | Запрос кондиционера | 57 | 0.3 | wh/bk | 910 | -- |
58 | 2 | rd/wh | 3140 | v92 | Напряжение на положительной клемме аккумуляторной батареи | 58 | 2 | rd/wh | 3140 | v92 |
3 | rd/wh | 3140 | v2s | Напряжение на положительной клемме аккумуляторной батареи | 3 | rd/wh | 3140 | v2s | ||
59 | 0.3 | og/wh | 881 | Удлиненная колесная база | Управление двигателем вправо привода правого зеркала | 59 | 0.3 | og/wh | 881 | Удлиненная колесная база |
0,5 | bn/wh | 5169 | Короткая колесная база | Среднескоростная шина последовательных данных gmlan (+) | 0,5 | bn/wh | 5169 | Короткая колесная база с upf | ||
60 | 0.3 | pu/wh | 889 | Удлиненная колесная база | Управление двигателем вниз привода правого зеркала | 60 | 0.3 | pu/wh | 889 | Удлиненная колесная база |
0,5 | bn | 5170 | Короткая колесная база | Среднескоростная шина последовательных данных gmlan (-) | 0,5 | bn | 5170 | Короткая колесная база с upf | ||
61 | -- | -- | -- | -- | Не используется | 61 | -- | -- | -- | -- |
62 | 0.3 | pu | 328 | - | Сигнал выключателя плафона освещения салона | 62 | 0.3 | pu | 328 | -- |
63 | 0.3 | bn | 4 | -- | Напряжение питания дополнительного оборудования | 63 | 0.3 | bn | 4 | -- |
64 | 0.3 | vt/wh | 6839 | Короткая колесная база | Вспомогательное устройство №1 Переключенное напряжение | 64 | 0.3 | vt/wh | 6839 | Короткая колесная база |
0.3 | d-bu | 6189 | Удлиненная колесная база | Сигнал открывания стеклоподъемника/внутреннего отсека багажника | 0.3 | d-bu | 6189 | Удлиненная колесная база | ||
65 | 2 | rd/wh | 3140 | v2s | Напряжение на положительной клемме аккумуляторной батареи | 65 | 2 | rd/wh | 3140 | v2s |
66 | 0.3 | d-bu | 5992 | v2s с utj | Сигнал "прицеп подсоединён" | 66 | 0.3 | d-bu | 5992 | v2s с utj |
0,5 | d-bu | 5992 | v92 | Сигнал "прицеп подсоединён" | 0,5 | d-bu | 5992 | v92 | ||
67 | 0.3 | tn | 28 | - | Управление реле звукового сигнала | 67 | 0.3 | tn | 28 | - |
0.3 | tn | 28 | -- | |||||||
68 | 0,5 | tn/bk | 6202 | ucs | Масса видеокамеры | 68 | 0,5 | tn/bk | 6202 | ucs |
69 | 0.3 | d-gn/wh | 762 | c60 | Сигнал запроса кондиционера | 69 | 0.3 | d-gn/wh | 762 | c60 |
70 | 0.3 | bn | 5852 | Длинная колесная база с ufr | Сигнал отключения светодиода системы парковки с задней стороны | 70 | 0.3 | bn | 5852 | Длинная колесная база с ufr |
71 | 0.3 | gy | 2555 | Длинная колесная база с ufr | Сигнал отключения системы парковки с задней стороны | 71 | 0.3 | gy | 2555 | Длинная колесная база с ufr |
72 | 0.85 | wh | 5190 | v92 или v2s с utj | Противотуманная фара на прицепе | 72 | 0.85 | wh | 5190 | v92 или v2s с utj |
73 | 0.3 | l-bu | 5986 | -- | Активна передача последовательных данных | 73 | 0.3 | l-bu | 5986 | -- |
74 | 0.85 | rd/wh | 1150 | v2s без utj | Заземление | 74 | 0.85 | rd/wh | 1150 | v2s без utj |
0.85 | ye | 1618 | utj | Напряжение питания левого заднего стоп-сигнала/указателя поворота прицепа | 0.85 | ye | 1618 | utj | ||
75 | 0,5 | pk | 339 | v2s без utj | Напряжение зажигания 1 Работа/Пуск | 75 | 0,5 | pk | 339 | v2s без utj |
0.85 | ye | 1619 | utj | Напряжение питания правого заднего стоп-сигнала/указателя поворота прицепа | 0.85 | ye | 1619 | utj | ||
76 | 0.3 | pk | 1963 | dlr или dma | Управление реле двигателя раскрывания зеркала | 76 | 0.3 | pk | 1963 | dlr или dma |
77 | 0.3 | tn | 683 | c60 | Напряжение питания индикатора обогревателя заднего стекла | 77 | 0.3 | tn | 683 | c60 |
78 | 0,5 | gy/bk | 690 | - | Управление реле ламп освещения подножки | 78 | 0,5 | gy/bk | 690 | -- |
79 | 0.3 | wh | 9004 | t4f | Индикатор корректора света фар | 79 | 0.3 | wh | 9004 | t4f |
0.3 | gy | 2373 | Длинная колесная база с ud7/ufr | Управление задним красным индикатором задней системы облегчения парковки | 0.3 | gy | 2373 | Длинная колесная база с ud7/ufr | ||
80 | 0,5 | wh/bk | 6436 | f45/f86 | Согласованные последовательные данные с низким уровнем на шине can | 80 | 0,5 | wh/bk | 6436 | f45/f86 |
81 | 0,5 | bn/wh | 6437 | f45/f86 | Согласованные последовательные данные с высоким уровнем на шине can | 81 | 0,5 | bn/wh | 6437 | f45/f86 |
82 | 0.3 | l-bu | 187 | t79 | Сигнал переключателя задних противотуманных фар | 82 | 0.3 | l-bu | 187 | t79 |
83 | 0,5 | og/bk | 6045 | f45/f86 | Низкое опорное напряжение датчик поворотных колес | 83 | 0,5 | og/bk | 6045 | f45/f86 |
84 | 0,5 | by | 6044 | f45/f86 | Датчик угла рулевого управления - опорное напряжение 5 В | 84 | 0,5 | by | 6044 | f45/f86 |
85 | 0,5 | wh | 6798 | ucs | Сигнал видеокамеры | 85 | 0,5 | wh | 6798 | ucs |
86 | -- | -- | -- | -- | Не используется | 86 | -- | -- | -- | -- |
87 | 0.3 | d-gn/wh | 817 | - | Сигнал скорости автомобиля | 87 | 0.3 | d-gn/wh | 817 | - |
0.3 | d-gn/wh | 817 | nv8 | Сигнал скорости автомобиля | ||||||
88 | 0,5 | tn/wh | 6433 | f45/f86 | Последовательные данные высокоскоростной шины can | 88 | 0,5 | tn/wh | 6433 | f45/f86 |
89 | 0,5 | l-gn/bk | 6432 | f45/f86 | Последовательные данные низкоскоростной шины can | 89 | 0,5 | l-gn/bk | 6432 | f45/f86 |
90 | 0.3 | gy/gn | 903 | ud7 или длинная колесная база с ufr | Система облегчения парковки | 90 | 0.3 | gy/gn | 903 | ud7 или длинная колесная база с ufr |
91 | 0,5 | og | 6201 | ucs | Напряжение питания видеокамеры | 91 | 0,5 | og | 6201 | ucs |
92 | 0,5 | tn/bk | 2500 | -- | Высокоскоростная шина последовательных данных gmlan (+) (1) | 92 | 0,5 | tn/bk | 2500 | -- |
| https://vnx.su/ 🛠 Руководства по ремонту и эксплуатации для автомобилей |