К верхней части документа
Captiva
   
Начальная страница GMDE Загрузить статическое содержание Загрузить динамическое содержание Справка?

F105L Надувная подушка безопасности на релинге крыши - Слева (AWX или AY0)


2474768

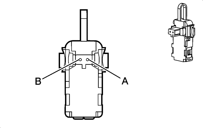
Информация о деталях разъемов

  • Тип жгута проводов: Удлинитель бокового релинга крыши для надувной подушки безопасности
  • Разъем oem: 4100-1101
  • Разъем технического обслуживания: Техническое обслуживание жгутов проводов
  • Описание: 2-контактный гнездный, серия micro-pack hvt (bk с ye)

Информация о деталях контактов

  • Заделанный контакт: Техническое обслуживание жгутов проводов - См. Каталог деталей
  • Инструмент для разблокирования: Находится на рассмотрении
  • Щуп диагностической проверки: Находится на рассмотрении

F105L Надувная подушка безопасности на релинге крыши - Слева (AWX или AY0)

Палец

Размер

Цвет

Цепь

Функционирование

Опция

a

0,5

pk

5020

Низкий уровень модуля надувной подушки безопасности у бокового релинга крыши слева спереди

--

b

0,5

pu/wh

5019

Высокий уровень модуля надувной подушки безопасности у бокового релинга крыши слева спереди

--

   


https://vnx.su/ 🛠 Руководства по ремонту и эксплуатации для автомобилей

Поиск по сайту

Остались вопросы или пожелания? Пишите на почту: support@vnx.su

Карта Сайта