К верхней части документа
Captiva
   
Начальная страница GMDE Загрузить статическое содержание Загрузить динамическое содержание Справка?

E31R Лампа зеркала в солнцезащитной шторке - Справа


1413001

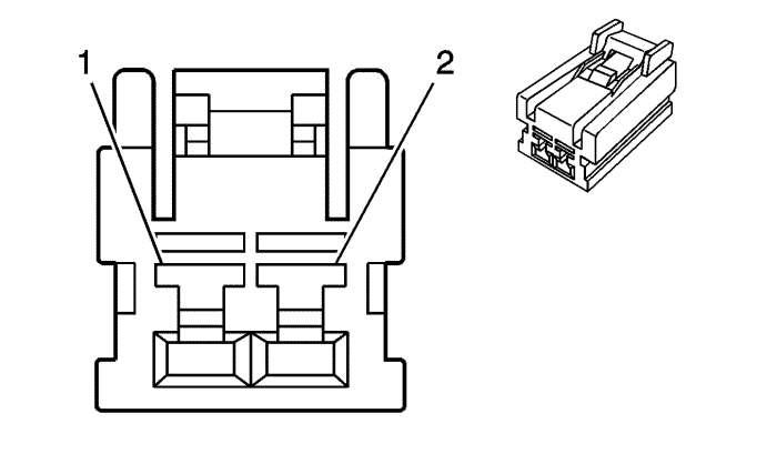
Информация о деталях разъемов

  • Тип жгута проводов: Обивка потолка
  • Разъем oem: 936224-1
  • Разъем технического обслуживания: 88988411
  • Описание: 2-контактный, гнездовой, серия 090 (na)

Информация о деталях контактов

  • Заделанный контакт: Находится на рассмотрении
  • Инструмент для отсоединения: j-38125-553
  • Щуп диагностической проверки: j-35616-18 (bk)

E31R Лампа зеркала в солнцезащитной шторке - Справа

Палец

Размер

Цвет

Цепь

Функционирование

Опция

1

0,5

og

1732

bcm Опорное напряжение 12 Вольт

--

2

0,5

bk

450

Заземление

--

   


https://vnx.su/ 🛠 Руководства по ремонту и эксплуатации для автомобилей

Поиск по сайту

Остались вопросы или пожелания? Пишите на почту: support@vnx.su

Карта Сайта