К верхней части документа
Captiva
   
Начальная страница GMDE Загрузить статическое содержание Загрузить динамическое содержание Справка?

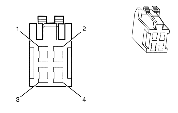
P19B Динамик - На центральной приборной панели (HDN с Holden, 60-летняя годовщина)


1989562

Информация о деталях разъемов

  • Тип жгута проводов: Аксессуар для holden
  • Разъем oem: Находится на рассмотрении
  • Разъем технического обслуживания: Техническое обслуживание жгутов проводов - См. Каталог деталей
  • Описание: 4-контактный, гнездовой (wh)

Информация о деталях контактов

  • Заделанный контакт: Техническое обслуживание жгутов проводов - См. Каталог деталей
  • Инструмент для разблокирования: Находится на рассмотрении
  • Щуп диагностической проверки: Находится на рассмотрении

P19B Динамик - На центральной приборной панели (HDN с Holden, 60-летняя годовщина)

Палец

Размер

Цвет

Цепь

Функционирование

Опция

1

0,5

gy

--

Сигнал динамика - среднего (+)

--

2

0,5

gy/bk

-

Сигнал динамика - среднего (-)

--

3-4

--

--

--

Не используется

--

   


https://vnx.su/ 🛠 Руководства по ремонту и эксплуатации для автомобилей

Поиск по сайту

Остались вопросы или пожелания? Пишите на почту: support@vnx.su

Карта Сайта