К верхней части документа
Captiva
   
Начальная страница GMDE Загрузить статическое содержание Загрузить динамическое содержание Справка?

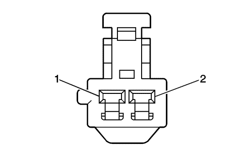
P2 Индикатор положения рычага переключения коробки передач (MX0)


1265364

Информация о деталях разъемов

  • Тип жгута проводов: Приборная панель
  • Разъем oem: mg611857
  • Разъем технического обслуживания: Находится на рассмотрении
  • Описание: 2-контактный, гнездовой, серия 090 (na)

Информация о деталях контактов

  • Заделанный контакт: Находится на рассмотрении
  • Инструмент для разблокирования: Находится на рассмотрении
  • Щуп диагностической проверки: Находится на рассмотрении

P2 Индикатор положения рычага переключения коробки передач (MX0)

Палец

Размер

Цвет

Цепь

Функционирование

Опция

1

0,5

bk/wh

351

Заземление

--

2

0,5

bk/wh

230

Регулировка яркости ламп подсветки приборной панели

--

   


https://vnx.su/ 🛠 Руководства по ремонту и эксплуатации для автомобилей

Поиск по сайту

Остались вопросы или пожелания? Пишите на почту: support@vnx.su

Карта Сайта