К верхней части документа
Captiva
   
Начальная страница GMDE Загрузить статическое содержание Загрузить динамическое содержание Справка?

M72 Регулируемый электромагнитный клапан рулевого управления с сервоусилителем (NV8)


333041

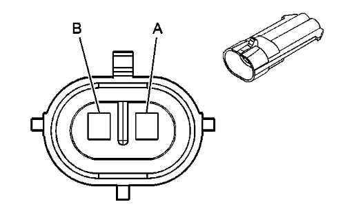
Информация о деталях разъемов

  • Тип жгута проводов: Кузов
  • Разъем oem: 12162000
  • Разъем технического обслуживания: 12167120
  • Описание: на 2 направления, штырьковый, metri-pack, серия 150 (bk)

Информация о деталях контактов

  • Заделанный контакт: Находится на рассмотрении
  • Инструмент для разблокирования: Находится на рассмотрении
  • Щуп диагностической проверки: Находится на рассмотрении

M72 Регулируемый электромагнитный клапан рулевого управления с сервоусилителем (NV8)

Палец

Размер

Цвет

Цепь

Функционирование

Опция

a

0,75

l-bu

1738

Напряжение питания электромагнита регулируемого усилия рулевого привода

--

b

0,75

pu

1703

Управление электромагнитом системы изменения усилия на рулевом колесе

--

   


https://vnx.su/ 🛠 Руководства по ремонту и эксплуатации для автомобилей

Поиск по сайту

Остались вопросы или пожелания? Пишите на почту: support@vnx.su

Карта Сайта