К верхней части документа
Captiva
   
Начальная страница GMDE Загрузить статическое содержание Загрузить динамическое содержание Справка?

M14B Привод замка двери - подъемной задней багажного отделения (длинная колесная база)


2268767

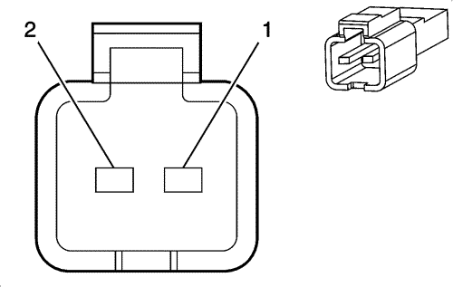
Информация о деталях разъемов

  • Тип жгута проводов: Перемычка задней подъемной двери
  • Разъем oem: 15386250
  • Разъем технического обслуживания: Техническое обслуживание жгутов проводов - См. Каталог деталей
  • Описание: 2-контактный, штырьковый, серия 090 (na)

Информация о деталях контактов

  • Заделанный контакт: Техническое обслуживание жгутов проводов - См. Каталог деталей
  • Инструмент для отсоединения: j-38125-553
  • Щуп диагностической проверки: j-35616-19 (bk)

M14B Привод замка двери - подъемной задней багажного отделения (длинная колесная база)

Палец

Размер

Цвет

Цепь

Функционирование

Опция

1

0.85

tn

294

Управление приводом отпирания замков дверей

--

2

0.85

gy

295

Управление приводом запирания замков дверей

--

   


https://vnx.su/ 🛠 Руководства по ремонту и эксплуатации для автомобилей

Поиск по сайту

Остались вопросы или пожелания? Пишите на почту: support@vnx.su

Карта Сайта