К верхней части документа
Captiva
   
Начальная страница GMDE Загрузить статическое содержание Загрузить динамическое содержание Справка?

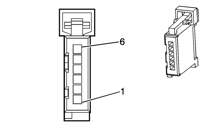
B99 Датчик угла рулевого колеса (F45 или F86)


1835137

Информация о деталях разъемов

  • Тип жгута проводов: Приборная панель
  • Разъем oem: 1488752-1
  • Разъем технического обслуживания: 88988374
  • Описание: 6-контактный гнездный, серия 64 get (bk)

Информация о деталях контактов

  • Заделанный контакт: Находится на рассмотрении
  • Инструмент для разблокирования: Находится на рассмотрении
  • Щуп диагностической проверки: Находится на рассмотрении

B99 Датчик угла рулевого колеса (F45 или F86)

Палец

Размер

Цвет

Цепь

Функционирование

Опция

1

0,5

gy

6044

Датчик угла рулевого управления - опорное напряжение 5 В

--

2

0,5

bn/wh

6437

Согласованные последовательные данные с высоким уровнем на шине can

--

3

0,5

tn/wh

6433

Последовательные данные высокоскоростной шины can

--

4

0,5

l-gn/bk

6432

Последовательные данные низкоскоростной шины can

--

5

0,5

wh/bk

6436

Согласованные последовательные данные с низким уровнем на шине can

--

6

0,5

og/bk

6045

Низкое опорное напряжение датчик поворотных колес

--

   


https://vnx.su/ 🛠 Руководства по ремонту и эксплуатации для автомобилей

Поиск по сайту

Остались вопросы или пожелания? Пишите на почту: support@vnx.su

Карта Сайта