К верхней части документа
Captiva
   
Начальная страница GMDE Загрузить статическое содержание Загрузить динамическое содержание Справка?

K9 Модуль управления кузовным оборудованием X7


1664498

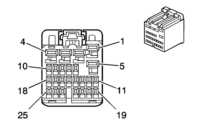
Информация о деталях разъемов

  • Тип жгута проводов: Приборная панель
  • Разъем oem: 15482791
  • Разъем технического обслуживания: 88988840
  • Описание: 25-контактный гнездный, серия hit (l-bu)

Информация о деталях контактов

  • Заделанный контакт: Находится на рассмотрении
  • Инструмент для разблокирования: Находится на рассмотрении
  • Щуп диагностической проверки: Находится на рассмотрении

K9 Модуль управления кузовным оборудованием X7

Палец

Размер

Цвет

Цепь

Функционирование

Опция

1

0,35

bk

350

Заземление

--

2

0,35

rd/wh

1140

Напряжение на положительной клемме аккумуляторной батареи

--

3

0,35

rd/wh

1040

Напряжение на положительной клемме аккумуляторной батареи

--

4

--

--

--

Не используется

--

5

0,35

bk

350

Заземление

--

6

--

--

--

Не используется

--

7

0,35

ye

749

Управление индикатором системы безопасности

--

8

0,35

tn/bk

2500

Высокоскоростная шина последовательных данных gmlan (+)

--

9

0,35

tn

2501

Высокоскоростная шина последовательных данных gmlan (-)

--

10

0,35

d-gn

5060

Низкоскоростная шина последовательных данных gmlan

--

11

0,35

d-gn

44

Сигнал переключателя яркости ламп подсветки приборной панели

--

12

0,35

og/wh

812

Опорное напряжение 12 Вольт

--

13

0,35

pu

7062

Сигнал нормально замкнутого контакта выключателя педали тормоза

--

14

0,35

bn

6138

Низкое опорное напряжение датчика температуры теплообменника evap

--

15

--

--

--

Не используется

--

16

0,35

tn/bk

2500

Высокоскоростная шина последовательных данных gmlan (+)

--

17

0,35

tn

2501

Высокоскоростная шина последовательных данных gmlan (-)

--

18

0,35

ye

1491

Управление лампой тыльной подсветки

--

19

0,35

l-bu

5986

Активна передача последовательных данных

--

20

--

--

--

Не используется

--

21

0,35

og

192

Сигнал выключателя передних противотуманных фар

-

22-24

--

--

--

Не используется

--

25

0,35

pu/wh

1382

Сигнал регулирования яркости светодиода

--

   


https://vnx.su/ 🛠 Руководства по ремонту и эксплуатации для автомобилей

Поиск по сайту

Остались вопросы или пожелания? Пишите на почту: support@vnx.su

Карта Сайта