К верхней части документа
Captiva
   
Начальная страница GMDE Загрузить статическое содержание Загрузить динамическое содержание Справка?

K9 Модуль управления кузовным оборудованием X6


1664496

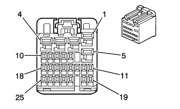
Информация о деталях разъемов

  • Тип жгута проводов: Приборная панель
  • Разъем oem: 15482790
  • Разъем технического обслуживания: 88988839
  • Описание: 25-контактный гнездный, серия hit (na)

Информация о деталях контактов

  • Заделанный контакт: Находится на рассмотрении
  • Инструмент для разблокирования: Находится на рассмотрении
  • Щуп диагностической проверки: Находится на рассмотрении

K9 Модуль управления кузовным оборудованием X6

Палец

Размер

Цвет

Цепь

Функционирование

Опция

1

0,35

og

1732

Опорное напряжение 12 Вольт 3 электронного блока управления

--

2

0,35

rd/wh

1640

Напряжение на положительной клемме аккумуляторной батареи

--

3

0,35

bn/wh

230

Регулировка яркости ламп подсветки приборной панели

--

4-7

--

--

--

Не используется

--

8

0,35

l-bu

13

Сигнал габаритных фонарей переключателя фар

--

9

--

--

--

Не используется

--

10

0,35

d-bu

6189

Сигнал открывания стеклоподъемника/багажника

--

11

0,35

wh

278

Сигнал датчика наружного освещения

--

12

0,35

wh

103

Сигнал включения фар переключателем

--

13-16

--

--

--

Не используется

--

17

0,35

d-gn

306

Управление сигналом выключения фар

--

18

0,35

pk

5068

Блокирование выключателя датчика проникновения

--

19

--

--

--

Не используется

--

20

0,35

l-bu

292

Сигнал переключателя обогрева заднего окна

--

21

0,35

l-bu

1788

Сигнал переключателя системы контроля тягового усилия (1)

--

22-24

--

--

--

Не используется

--

25

0,35

pu

328

Сигнал выключателя плафона освещения салона

--

   


https://vnx.su/ 🛠 Руководства по ремонту и эксплуатации для автомобилей

Поиск по сайту

Остались вопросы или пожелания? Пишите на почту: support@vnx.su

Карта Сайта