К верхней части документа
Captiva
   
Начальная страница GMDE Загрузить статическое содержание Загрузить динамическое содержание Справка?

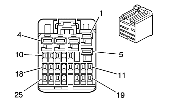
K9 Модуль управления кузовным оборудованием X3


1664502

Информация о деталях разъемов

  • Тип жгута проводов: Кузов
  • Разъем oem: 15482793
  • Разъем технического обслуживания: 88988842
  • Описание: 25-контактный гнездный, серия hit (pk)

Информация о деталях контактов

  • Заделанный контакт: Находится на рассмотрении
  • Инструмент для разблокирования: Находится на рассмотрении
  • Щуп диагностической проверки: Находится на рассмотрении

K9 Модуль управления кузовным оборудованием X3

Палец

Размер

Цвет

Цепь

Функционирование

Опция

1

0,35

gy/bk

690

Управление реле ламп освещения подножки

--

2

0,35

l-gn

24

Напряжение питания фонаря заднего хода

--

3-7

--

--

--

Не используется

--

8

0,35

bn/wh

746

Сигнал переключателя открытия правой передней двери

--

9

--

--

--

Не используется

--

10

0,35

gy/bk

745

Сигнал переключателя открытия левой передней двери

--

11

0,35

gy

6137

Сигнал датчика температуры теплообменника evap

--

12

0,35

pk/bk

1303

Сигнал выключателя приоткрытой задней подъемной двери 1

--

13-14

--

--

--

Не используется

--

15

0,35

gy

6127

Сигнал выключателя отпирания задней подъемной двери

--

16

0,35

pu

5059

Сигнал включения сигнализации проникновения

-

17-19

--

--

--

Не используется

--

20

0,35

pu

1124

Сигнал отпирания кнопочного выключателя дверных замков

--

21

0,35

ye

1491

Управление фонарем заднего хода

--

22

0,35

l-gn

1123

Сигнал запирания кнопочного выключателя дверных замков

--

23

0,35

bn

305

Сигнал ключевого выключателя багажника

-

24-25

--

--

--

Не используется

--

   


https://vnx.su/ 🛠 Руководства по ремонту и эксплуатации для автомобилей

Поиск по сайту

Остались вопросы или пожелания? Пишите на почту: support@vnx.su

Карта Сайта