К верхней части документа
Captiva
   
Начальная страница GMDE Загрузить статическое содержание Загрузить динамическое содержание Справка?

K9 Модуль управления кузовным оборудованием X2


1664500

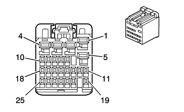
Информация о деталях разъемов

  • Тип жгута проводов: Кузов
  • Разъем oem: 15480179
  • Разъем технического обслуживания: 88988837
  • Описание: 25-контактный гнездный, серия hit (bn)

Информация о деталях контактов

  • Заделанный контакт: Находится на рассмотрении
  • Инструмент для разблокирования: Находится на рассмотрении
  • Щуп диагностической проверки: Находится на рассмотрении

K9 Модуль управления кузовным оборудованием X2

Палец

Размер

Цвет

Цепь

Функционирование

Опция

1

0,35

ye

18

Напряжение питания левого заднего стоп-сигнала/лампы сигналов поворота

--

2

0,35

d-gn

19

Напряжение питания правого заднего стоп-сигнала/лампы сигналов поворота

--

3

--

--

--

Не используется

--

4

0,35

l-bu/wh

1314

Напряжение питания левой передней лампы сигналов поворота

--

5

--

--

--

Не используется

--

6

0,35

bn

683

Напряжение питания индикатора обогревателя заднего стекла

--

7-10

--

--

--

Не используется

--

11

0,35

bn

755

Управление обмоткой реле режима сохранения питания потребителей (rap)

--

12

--

--

--

Не используется

--

13

0,35

l-gn

5486

Управление обмоткой реле Работа

--

14

0,35

bn

4

Напряжение питания дополнительного оборудования

--

15

0,35

pu

5531

Сигнал датчика-выключателя закрытого капота

--

16

0,35

l-bu

1134

Сигнал переключателя стояночного тормоза

--

17

--

--

--

Не используется

--

18

0,35

bn

288

Управление реле звукового сигнала

--

19

0,35

wh

193

Управление реле заднего антизапотевателя

--

20

0,35

gy

91

Напряжение питания обмотки реле электродвигателя стеклоочистителя

--

21

0,35

bn

860

Сигнал высокого уровня переключателя стеклоочистителя лобового стекла

--

22

--

--

--

Не используется

--

23

0,35

pk/wh

1970

Управление реле фар ближнего света

--

24

0,35

d-bu

45

Управление реле стояночных огней

--

25

--

--

--

Не используется

--

   


https://vnx.su/ 🛠 Руководства по ремонту и эксплуатации для автомобилей

Поиск по сайту

Остались вопросы или пожелания? Пишите на почту: support@vnx.su

Карта Сайта