К верхней части документа
Captiva
   
Начальная страница GMDE Загрузить статическое содержание Загрузить динамическое содержание Справка?

K9 Модуль управления кузовным оборудованием X1


1664499

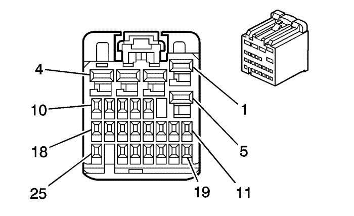
Информация о деталях разъемов

  • Тип жгута проводов: Кузов
  • Разъем oem: 15482792
  • Разъем технического обслуживания: 88988841
  • Описание: 25-контактный гнездный, серия hit (bk)

Информация о деталях контактов

  • Заделанный контакт: Находится на рассмотрении
  • Инструмент для разблокирования: Находится на рассмотрении
  • Щуп диагностической проверки: Находится на рассмотрении

K9 Модуль управления кузовным оборудованием X1

Палец

Размер

Цвет

Цепь

Функционирование

Опция

1

0,35

rd/wh

1240

Напряжение на положительной клемме аккумуляторной батареи

--

2

0,35

rd/wh

1440

Напряжение на положительной клемме аккумуляторной батареи

--

3

0,35

rd/wh

1540

Напряжение на положительной клемме аккумуляторной батареи

--

4

0,35

rd/wh

1340

Напряжение на положительной клемме аккумуляторной батареи

--

5

0,35

d-bu/wh

1315

Напряжение питания правой передней лампы сигналов поворота

--

6

--

--

--

Не используется

--

7

0,35

ye

196

Сигнал переключателя электродвигателя стеклоочистителя

--

8-10

--

--

--

Не используется

--

11

0,35

d-gn/wh

1317

Управление реле противотуманных фар

--

12

0,35

og

5186

Лампа левого сигнала поворота на прицепе

--

13

0,35

ye

5187

Лампа правого сигнала поворота на прицепе

--

14

0,35

l-gn

482

Сигнал датчика дождя

--

15

0,35

og

2268

Цепь реле омывателя лобового стекла

--

16

0,35

bn/wh

1969

Управление реле фар дальнего света

--

17

--

--

--

Не используется

--

18

0,35

bn

481

Сигнал датчика дождя

--

19

0,35

d-bu

5985

Активизация последовательных данных дополнительного оборудования

--

20

0,35

ye

1977

Управление реле заднего противотуманного фонаря

--

21

0,35

ye

5199

Управление обмоткой реле работа/стартер

--

22

0,35

l-bu

1344

Управление реле отрывания задней подъемной двери

--

23

--

--

--

Не используется

--

24

0,35

wh

2282

Управление реле омывателя фар

--

25

0,35

wh

1080

Напряжение питания реле стояночного тормоза

--

   


https://vnx.su/ 🛠 Руководства по ремонту и эксплуатации для автомобилей

Поиск по сайту

Остались вопросы или пожелания? Пишите на почту: support@vnx.su

Карта Сайта