К верхней части документа
Captiva
   
Начальная страница GMDE Загрузить статическое содержание Загрузить динамическое содержание Справка?

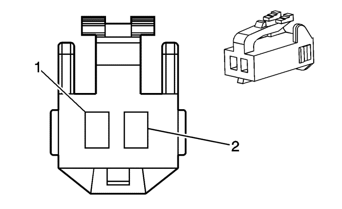
B69 Датчик-выключатель приоткрытой задней подъемной двери (Длинная колесная база)


1830935

Информация о деталях разъемов

  • Тип жгута проводов: Перемычка задней подъемной двери
  • Разъем oem: 651201-4
  • Разъем технического обслуживания: Техническое обслуживание жгутов проводов - См. Каталог деталей
  • Описание: 2-контактный, серия 090 (gy)

Информация о деталях контактов

  • Заделанный контакт: Техническое обслуживание жгутов проводов - См. Каталог деталей
  • Инструмент для отсоединения: j-38125-553
  • Щуп диагностической проверки: j-35616-33 (ye)

B69 Датчик-выключатель приоткрытой задней подъемной двери (Длинная колесная база)

Палец

Размер

Цвет

Цепь

Функционирование

Опция

1

0.3

pk/bk

1303

Сигнал выключателя приоткрытой задней подъемной двери (1)

--

2

0.3

bk

650

Заземление

--

   


https://vnx.su/ 🛠 Руководства по ремонту и эксплуатации для автомобилей

Поиск по сайту

Остались вопросы или пожелания? Пишите на почту: support@vnx.su

Карта Сайта