К верхней части документа
Captiva
   
Начальная страница GMDE Загрузить статическое содержание Загрузить динамическое содержание Справка?

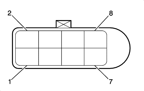
K28 Модуль регулировки наклона света фар (T4F)


2281742

Информация о деталях разъемов

  • Тип жгута проводов: Кузов
  • Разъем oem: 42121000
  • Разъем технического обслуживания: Находится на рассмотрении
  • Описание: на 8 направлений внутренний, серия 1.2 Micro II Timer, герметичный (BK)

Информация о деталях контактов

  • Заделанный контакт: Находится на рассмотрении
  • Инструмент для разблокирования: Находится на рассмотрении
  • Щуп диагностической проверки: Находится на рассмотрении

K28 Модуль регулировки наклона света фар (T4F)

Палец

Размер

Цвет

Цепь

Функционирование

Опция

1

0,5

bk

550

Заземление

--

2

0,5

bn

541

Напряжение "Зажигания 3 Работа"

--

3

0.3

wh

9004

Индикатор корректора света фар

--

4

0.3

d-gn/wh

817

Сигнал скорости автомобиля

--

5

0.3

pu

1319

k-линия последовательной передачи данных двигателя/аудиосистемы

--

6

0,5

tn/wh

312

Напряжение питания правой фары ближнего света

--

7

0,5

d-gn

189

Напряжение питания двигателя регулировки наклона света фар

--

8

--

--

--

Не используется

--

   


https://vnx.su/ 🛠 Руководства по ремонту и эксплуатации для автомобилей

Поиск по сайту

Остались вопросы или пожелания? Пишите на почту: support@vnx.su

Карта Сайта