К верхней части документа
Captiva
   
Начальная страница GMDE Загрузить статическое содержание Загрузить динамическое содержание Справка?

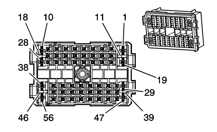
X51A Блок предохранителей - На приборной панели X1


1835064

Информация о деталях разъемов

  • Тип жгута проводов: Приборная панель
  • Разъем oem: 0-1897760-2
  • Разъем технического обслуживания: Находится на рассмотрении
  • Наименование: 56-контактный, внутренний серия hybrid (bk)

Информация о деталях контактов

  • Заделанный контакт: Находится на рассмотрении
  • Инструмент для разблокирования: Находится на рассмотрении
  • Щуп диагностической проверки: Находится на рассмотрении

X51A Блок предохранителей - На приборной панели X1

Палец

Размер

Цвет

Цепь

Функционирование

Опция

1-2

--

--

--

Не используется

--

3

0.3

ye

1977

Управление реле заднего противотуманного фонаря

t79

4-10

--

--

--

Не используется

--

11

0.3

pk

139

Напряжение зажигания 1 Работа/Пуск

--

12

--

--

--

Не используется

--

13

0,5

rd/wh

1940

Напряжение на положительной клемме аккумуляторной батареи

atg

14

1.25

rd/wh

1940

Напряжение на положительной клемме аккумуляторной батареи

upf

15

0.3

pk

139

Напряжение зажигания 1 Работа/Пуск

c99

16-19

--

--

--

Не используется

--

20

0.85

rd/wh

1640

Напряжение на положительной клемме аккумуляторной батареи

--

21

0,5

og

122

Напряжение питания заднего противотуманного фонаря

t79

22

0,5

rd/wh

1940

Напряжение на положительной клемме аккумуляторной батареи

--

23

0.85

rd/wh

1940

Напряжение на положительной клемме аккумуляторной батареи

ufr или utj

24

--

--

--

Не используется

--

25

0.3

pk

139

Напряжение зажигания 1 Работа/Пуск

Длинная колесная база с c68 без ucs

26-28

--

--

--

Не используется

--

29

2

rd/wh

3140

Напряжение на положительной клемме аккумуляторной батареи

v2s или v92

3

rd/wh

3140

Напряжение на положительной клемме аккумуляторной батареи

v2s

30

--

--

--

Не используется

--

31

0.3

rd/wh

1740

Напряжение на положительной клемме аккумуляторной батареи

--

32

0.85

rd/wh

1040

Напряжение на положительной клемме аккумуляторной батареи

--

33

0.3

rd/wh

1940

Напряжение на положительной клемме аккумуляторной батареи

Длинная колесная база с c68 без ucs

0.3

rd/wh

1940

Напряжение на положительной клемме аккумуляторной батареи

Длинная колесная база с ucs

0.85

rd/wh

1940

Напряжение на положительной клемме аккумуляторной батареи

Короткая колесная база

0.85

rd/wh

1940

Напряжение на положительной клемме аккумуляторной батареи

Короткая колесная база

34

0.3

pk

139

Напряжение зажигания 1 Работа/Пуск

--

0.3

pk

139

Напряжение зажигания 1 Работа/Пуск

--

35

0.3

pk

139

Напряжение зажигания 1 Работа/Пуск

tfm или tfn

36

0.3

pk

439

Напряжение зажигания 1 Работа/Пуск

--

37

0,5

bn

41

Напряжение "Зажигания 3 Работа"

--

38

--

--

--

Не используется

--

39

0,5

rd/wh

1840

Напряжение на положительной клемме аккумуляторной батареи

--

40

0,5

rd/wh

1940

Напряжение на положительной клемме аккумуляторной батареи

--

41

0.3

ye

1491

Управление лампой тыльной подсветки

--

42

0,5

rd/wh

740

Напряжение на положительной клемме аккумуляторной батареи

--

43

0.85

rd/wh

1140

Напряжение на положительной клемме аккумуляторной батареи

--

0.85

rd/wh

1140

Напряжение на положительной клемме аккумуляторной батареи

utj или v2s

44

0,5

pk

339

Напряжение зажигания 1 Работа/Пуск

v2s или utj или v92

45

0,5

bn

541

Напряжение "Зажигания 3 Работа"

nv8

46-47

--

--

--

Не используется

--

48

0,5

rd/wh

1840

Напряжение на положительной клемме аккумуляторной батареи

--

49

0,5

ye

9088

Управление лампой тыльной подсветки

-

50, 51

--

--

--

Не используется

--

52

1.25

rd/wh

1940

Напряжение на положительной клемме аккумуляторной батареи

--

53

--

--

--

Не используется

--

54

0,5

ye

243

Напряжение питания дополнительного оборудования

Удлиненная колесная база

55

0,5

ye

343

Напряжение питания дополнительного оборудования

Удлиненная колесная база

0.3

ye

343

Напряжение питания дополнительного оборудования

Короткая колесная база

56

3

bn

141

Напряжение "Зажигания 3 Работа"

--

57-60

--

--

--

Не используется

--

   


https://vnx.su/ 🛠 Руководства по ремонту и эксплуатации для автомобилей

Поиск по сайту

Остались вопросы или пожелания? Пишите на почту: support@vnx.su

Карта Сайта