Captiva |
||||||||
|
|
|
|||||||
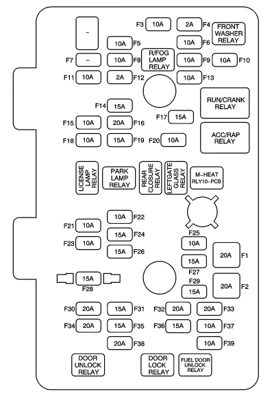
Нет. | Паспортное наименование устройства | Присвоенное наименование устройства | Номинал | Описание |
|---|---|---|---|---|
Предохранители | ||||
1 | Предохранитель bcm (int light) trlr fog | Предохранитель f1da | 20a | k7 Вспомогательный модуль управления кузовным оборудованием (utj), k9 Модуль управления кузовным оборудованием, x88 Разъем для прицепа (v2s) |
2 | Предохранитель sdm (batt) | Предохранитель f2da | 10a | Модуль диагностики и контроля подушек безопасности k36 |
3 | Предохранитель bcm (vbatt) | Предохранитель f3da | 10a | Модуль управления кузовом k9 |
4 | Предохранитель rr fog | Предохранитель f4da | 15a | e29r Противотуманная фара - задняя (Короткая колесная база с t79) или e29lr Противотуманная фара - левая задняя или e29rr Противотуманная фара - правая задняя (Длинная колесная база с t79) |
5 | Предохранитель awd/vent | Предохранитель f5da | 15a | k47 Модуль управления муфтой заднего дифференциала (f46), q13 Электромагнитный клапан вентиляции системы улавливания паров топлива (nqu) |
6 | Предохранитель комбинации приборов | Предохранитель f6da | 10a | Р16 приборная доска |
7 | Предохранитель trlr batt | Предохранитель f7da | 30a | x88 Разъем прицепа (v92/v2s) |
8 | Предохранитель bcm (dimmer) | Предохранитель f8da | 15a | Модуль управления кузовом k9 |
9 | Предохранитель trlr | Предохранитель f9da | 20a | kr61 Реле заднего хода прицепа, kr64l Реле указателя поворота прицепа - левого и kr64r Реле указателя поворота прицепа - правого (v92) |
10 | Предохранитель frt wsr | Предохранитель f10da | 20a | g24 Насос омывателя ветрового стекла |
11 | Предохранитель spare | Предохранитель f11da | -- | Не используется |
12 | Предохранитель cim | Предохранитель f12da | 10a | Не используется |
13 | Предохранитель pwr/moding | Предохранитель f14da | 2a | s39 Замок зажигания |
14 | Предохранитель rvs/hvac/dlc | Предохранитель f15da | 15a | k89 Модуль управления иммобилайзером |
15 | Предохранитель drl | Предохранитель f16da | 15a | e4c Фара дневного ходового света - левая (длинная колесная база с t3n без v8a) |
16 | Предохранитель amp | Предохранитель f18da | 30a | t3 Усилитель звуковых сигналов |
17 | Предохранитель radio | Предохранитель f19da | 15a | a11 Радиоприемник |
18 | Предохранитель bcm (stop) | Предохранитель f20da | 15a | Модуль управления кузовом k9 |
19 | Предохранитель fscm/vent sol | Предохранитель f21da | 20a | k27 Модуль управления топливным насосом |
20 | Предохранитель str/whl sw | Предохранитель f23da | 2a | s70l Комбинированный переключатель рулевого колеса - слева, s70r Комбинированный переключатель рулевого колеса - справа |
21 | Предохранитель bcm (trn sig) | Предохранитель f24da | 15a | Модуль управления кузовом k9 |
22 | Предохранитель htd seat pwr | Предохранитель f25da | 20a | p19ac Суб-НЧ динамик (u88) |
23 | Предохранитель l/gate | f26da Предохранитель | 10a | k29d модуль управления подогревателем сиденья водителя (С37), k29p модуль управления подогревателем сиденья переднего пассажира (С38) |
24 | Предохранитель run2 | Предохранитель f27da | 10a | b108 Датчик качества воздуха, k33 Блок управления системой ОВКВ, kr32a Высокоскоростное реле электромотора нагнетательного вентилятора (c60), kr83a Реле 1 вспомогательного электрического обогревателя |
25 | Предохранитель heating mat sw | Предохранитель f28da | 20a | s32d Переключатель сиденья с подогревом - водитель (левостороннее управление) s32p Переключатель сиденья с подогревом - пассажир (правостороннее управление) |
26 | Предохранитель ssps | Предохранитель f29da | 10a | k28 Блок управления корректором фар (Короткая колесная база с t4f), k43 Блок управления рулевым управлением с усилителем (nv8), m29l Исполнительный механизм корректора света фар - левый (Короткая колесная база с t4f) и m29r Исполнительный механизм корректора света фар - правый (Короткая колесная база с t4f) |
27 | Предохранитель audio key capture | Предохранитель f30da | 10a | b81b Переключатель положения парковки (kb7) |
28 | Предохранитель bcm (ctsy) | Предохранитель f31da | 15a | Модуль управления кузовом k9 |
29 | Предохранитель run/crank | Предохранитель f33da | 15a | b75b Датчик массового расхода воздуха/температуры воздуха на впуске (lnp/lnq), k20 Модуль управления двигателя, kr28 Реле вакуумного насоса (lf1), q8 Электромагнитный клапан управления в сборе (mx0) |
30 | Предохранитель clstr | Предохранитель f34da | 10a | kr57 Реле задних противотуманных фар (t79), p14 Индикатор отключения пассажирской подушки безопасности (c99), p16 Комбинация приборов, p17 Модуль информационного дисплея (длинная колесная база с С68 без ucs), s48a Многофункциональный переключатель - панель приборов (tfm/tfn) |
31 | apo jack (rear cargo) | Предохранитель f35da | 20a | x80c Розетка питания аксессуаров - в багажнике |
32 | Предохранитель fscm | Предохранитель f36da | 10a | k27 Модуль управления топливным насосом (le5/le9/lf1) |
33 | Предохранитель sdm (ign_1) | Предохранитель f37da | 10a | Модуль диагностики и контроля подушек безопасности k36 |
34 | Предохранитель bcm (prk/trn) | Предохранитель f38da | 15a | Модуль управления кузовом k9 |
35 | Предохранитель isrvm/rcm | Предохранитель f39da | 5a | a10 Салонное зеркало заднего вида, p4 Сирена сигнализации (utj) |
36 | Предохранитель xbcm | Предохранитель f40da | 10a | k7 Вспомогательный модуль управления кузовным оборудованием (utj), x88 Разъем для прицепа (v2s без utj) |
37 | Предохранитель osrvm | Предохранитель f41da | 2a | s48a Многофункциональный переключатель - приборная панель (короткая колесная база с dma), s48c Многофункциональный переключатель 1 - Приборная панель (длинная колесная база), s52 Переключатель наружного зеркала заднего вида |
38 | Предохранитель logistic mode | Предохранитель f42da | 10a | b67 Ультразвуковой датчик проникновения в автомобиль (utj), k41 Передний и задний модуль управления системой помощи при парковке (короткая колесная база с ufr), p4 Сирена противоугонной системы (utj), p6 Часы (длинная колесная база), s48a Многофункциональный переключатель - панель приборов (короткая колесная база) |
39 | Предохранитель f/door lock | Предохранитель f44da | 15a | kr94 Реле исполнительного механизма открывания крышки заправочной горловины топливного бака (af8 с v68) |
40 | Предохранитель dr/lck | Предохранитель f45da | 20a | kr90 Реле отпирания замков дверей, kr97 Реле запирания замков дверей |
41 | Предохранитель s/roof/folding mirror | Предохранитель f46da | 10a | k61 Блок управления потолочным люком (df5) и блок управления зеркалом k96 (dlr или dma) |
42 | Предохранитель cigar | Предохранитель f47da | 20a | e32f Гнездо прикуривателя - переднее |
43 | Предохранитель apo jack (console) | Предохранитель f48da | 20a | x80h Розетка питания дополнительного оборудования - На центральной консоли |
44 | Предохранитель s/roof batt | Предохранитель f51da | 20a | k61 Модуль потолочного люка (cf5) |
45 | Предохранитель hvac blwr | Предохранитель f52da | 40a | m8 Электродвигатель вентилятора |
46 | Предохранитель drvr pwr seat | Предохранитель f53da | 30a | s64d Переключатель регулятора сиденья - водителя (ah5), x99 Разъем электропитания сиденья для сборочного завода (ah5) |
47 | Предохранитель drv pwr wndw | Предохранитель f54da | 20a | m74d Электромотор стеклоподъемника - водителя, s79d Переключатель стеклоподъемника - водителя |
48 | Предохранитель pass pwr wndw | Предохранитель f55da | 30a | m74lr Электромотор стеклоподъемника - левый задний (a31), m74p Электромотор стеклоподъемника - пассажира (a31), m74rr Электромотор стеклоподъемника - правый задний (a31), s79d Переключатель стеклоподъемника - водителя, s79p Переключатель стеклоподъемника - пассажира |
49 | Предохранитель spare | Предохранитель f56da | -- | Не используется |
50 | Предохранитель spare | Предохранитель f57da | -- | Не используется |
Реле | ||||
51 | Реле cigar/apo jack rly | kr70 Реле вспомогательного источника питания | -- | Не используется |
52 | Реле run rly | kr74 Реле включения зажигания | - | Предохранители f27da run2, f28da heating mat sw, f29da ssps и f52da hvac blwr |
53 | Реле run/crank rly | kr73 Реле питающего провода системы зажигания | - | Предохранители f33da, f34da, f36da, f37da, f39da, 40da и диод компрессора кондиционера r1da |
54 | Реле acc/rap rly | kr76 Реле системы сохранения электропитания дополнительного оборудования | - | Предохранители f30da, f41da, f46da, f47da, f48da, f54da, f41da, f55da |
55 | pwr diode | r1da Диод компрессора кондиционера | 5a | b67 Ультразвуковой датчик проникновения в автомобиль (utj), k41 Передний и задний модуль управления системой помощи при парковке (короткая колесная база с ufr), p4 Сирена противоугонной системы (utj), p6 Часы (длинная колесная база), s48a Многофункциональный переключатель - панель приборов (короткая колесная база) |
Важно Перечисленные ниже реле являются необслуживаемыми реле печатной платы (ПП) и расположены внутри блока | ||||
- | Реле печатной платы насоса жидкости переднего омывателя | kr11 Реле насоса омывателя лобового стекла | - | f10da Предохранитель frt wsr |
- | Реле drl pcb | kr42 Реле дневных ходовых огней | - | f16da Предохранитель drl |
- | Предохранитель rr fog pcb | kr57 Реле заднего противотуманного фонаря | - | Предохранитель f4da rr fog |
- | Реле trailer bu pcb | kr61 Реле фар заднего хода прицепа | - | x88 Разъём жгута проводов прицепа |
- | Реле trailer turn lh pcb | kr64l Реле указателя поворота прицепа - левого | - | x88 Разъём жгута проводов прицепа |
- | Реле trailer turn rh pcb | kr64r Реле указателя поворота прицепа - правого | - | x88 Разъём жгута проводов прицепа |
- | Реле door unlock pcb | kr90 Реле отпирания двери | - | m14d Исполнительный механизм замка двери - водительской, m14p Исполнительный механизм замка двери - пассажирской, m14lr Исполнительный механизм замка двери - левой задней, m14rr Исполнительный механизм замка двери - правой задней, a23c Исполнительный механизм защелки задней подъемной двери |
- | Реле f/dr lk pcb | kr94 Реле привода отпирания топливозаправочного лючка | - | a23d Дверная защелка в сборе - водительская, m97 Исполнительный механизм замка крышки заливной горловины топливного бака |
- | Реле lift glass pcb | kr95a Реле разблокировки замка задней двери багажного отделения | - | f26da Предохранитель l/gate |
- | Реле door lock pcb | kr97 Реле замка двери | - | m14d Исполнительный механизм замка двери - водительской, m14p Исполнительный механизм замка двери - пассажирской, m14lr Исполнительный механизм замка двери - левой задней, m14rr Исполнительный механизм замка двери - правой задней, a23c Исполнительный механизм защелки задней подъемной двери |
- | Реле drv dead lock pcb | kr97d Реле замка двери водителя | - | a23d Узел защелки двери - водителя |
- | Реле dead locks pcb | kr114 Реле системы защиты замка двери | - | kr90 Реле отпирания двери и реле защиты замка двери |
| https://vnx.su/ 🛠 Руководства по ремонту и эксплуатации для автомобилей |