Наверх документа
Captiva
   
Начальная страница GMDE Загрузить статическое оглавление Загрузить динамическое оглавление Помощь?

Демонтаж коленвала и подшипников

Специальный инструмент

    • ge 6125-1b Переходник скользящего выбивателя
    • en 45059 Измеритель угла
    • en 49102 Съемник крышки коренного подшипника коленчатого вала

Эквивалентные местные инструменты см. Специальный инструмент .

Процедура установки коренного подшипника коленчатого вала

    Примечание: Запрещается повторно использовать коренные подшипники коленчатого вала, применявшиеся ранее на двигателе, их следует заменить НОВЫМИ коренными подшипниками коленчатого вала при последующей сборке.

  1. Очистить отверстие коленвала блока цилиндров, используя ткань без ворса.
  2. Счистить все масло с задней стороны половинок новых подшипников.

  3. 902742
  4. Установить новые верхние коренные подшипники-вкладыши коленчатого вала в требуемые положения. Упорный подшипник устанавливается на шейку номер 3. Проверить, что вкладыш верхнего подшипника имеет смазочное отверстие и смазочную канавку. Покачивая подшипник, установить его на место так, чтобы фиксирующий выступ вошел в паз коленвала. Подшипник должен располагаться заподлицо с верхним картером.

  5. 902744
  6. Установить новые нижние коренные подшипники на место в крышки коренных подшипников. Нижние коренные подшипники НЕ имеют каких-либо канавок или отверстий, по которым их можно было бы отличить. Подшипники должны располагаться заподлицо с крышками коренных подшипников.

Процедура установки коленчатого вала


    1864436
  1. Установить шпонку коленчатого вала, если она была снята. Пользуясь небольшим бронзовым или пластмассовым молотком с бойком из мягкого материала, установить легкими ударами шпонку до упора в шпоночную канавку.

  2. 902743
  3. Осторожно опустить коленчатый вал на место в блоке цилиндров.

Измерение зазоров коренных подшипников


    1553593
  1. Разместить отрезки свежей пластмассовой проволоки на всех коренных шейках коленчатого вала, на всю ширину шеек.
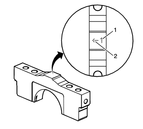
  2. Определить правильный порядок расположения крышек коренных подшипников. Крышки коренных подшипников пронумерованы от 1 (1) до 4, а передняя крышка коренного подшипника помечена цифрой 1. Стрелка (2) должна быть направлена к передней части двигателя.

  3. 902745
  4. Установить крышки коренных подшипников коленчатого вала.
  5. Слегка завернуть первоначально использованные внутренние болты крышек коренных подшипников.
  6. Слегка завернуть первоначально использованные наружные болты крышек коренных подшипников.

  7. 902789
  8. Слегка завернуть первоначально использованные короткие/внутренние боковые болты крышек коренных подшипников.
  9. Слегка завернуть первоначально использованные длинные/наружные боковые болты крышек коренных подшипников.

  10. 1553597
  11. Молотком с мягким бойком осторожно постучать по крышкам коренных подшипников.

  12. 1553599
  13. Затянуть болты крышек коренных подшипников с использованием угломера en 45059 в указанном ниже порядке:
  14. Осторожно: См. Предупреждение о крепежных деталях во введении.

  15. В первую очередь затянуть внутренние болты (1-8) в два этапа.
  16. 10.1. На первом этапе затянуть внутренние болты с моментом затяжки 20 Н·м (15 фунт фут).
    10.2. На 2-м этапе доверните внутренние болты (1-8) дополнительно на 80 градусов.

    1553600
  17. Во вторую очередь затянуть наружные болты (9-16) в два этапа.
  18. 11.1. На первом этапе затянуть наружные болты с моментом затяжки 15 Н·м (11 фунт фут).
    11.2. На 2-ом этапе затянуть наружные болты (9-16) дополнительно на угол 110 градусов.

    1553602
  19. В третью очередь затянуть короткие/внутренние болты (17-20) в два этапа.
  20. 12.1. На первом этапе затянуть короткие/внутренние болты с моментом затяжки 30 Н·м (22 фунт фут).
    12.2. На 2-м этапе доверните короткие/внутренние болты (17-20) дополнительно на 60 градусов.
  21. В четвертую очередь затянуть длинные/наружные болты (21-24) в два этапа.
  22. 13.1. На первом этапе затянуть длинные/наружные болты с моментом затяжки 30 Н·м (22 фунт фут).
    13.2. На 2-м этапе до верните длинные/наружные болты (21-24) на 60 градусов.

    Примечание: Коленчатый вал не проворачивать.

  23. Завершив затяжку, оставить сборку для осадки в течение 2 минут.

  24. 902789
  25. Отвернуть боковые болты крышки коренных подшипников коленчатого вала.

  26. 902745
  27. Отвернуть наружные болты крышки коренных подшипников коленчатого вала.
  28. Отвернуть внутренние болты крышки коренных подшипников коленчатого вала.
  29. Снять крышки коренных подшипников коленчатого вала с помощью переходника ge 6125-1b и съемника en 49102.

  30. 54236
  31. Зазоры коренных подшипников определяются путем сравнения ширины расплющенной пластмассовой проволоки в самом широком месте со шкалой, имеющейся на упаковке проволоки.
  32. Примечание: Коренные подшипники МОЖНО использовать снова после проверки зазоров, если эти подшипники никогда не использовались на работающем двигателе.

  33. Сравнить измерения с данными Механические параметры двигателя : LF1 . Если новые подшипники не обеспечивают требуемого зазора между коленчатым валом и подшипниками, то необходимо выполнить следующее:
  34. 20.1. Измерить коренные шейки, чтобы проверить соответствие их размеров требуемым значениям и убедиться в правильности выбора установленных новых подшипников. Если размеры коренных шеек отличаются от требуемых, то заменить или прошлифовать коленчатый вал. Механическая обработка коленчатого вала разрешается и предусмотрены подшипники ремонтных размеров.
    20.2. Измерить диаметры постелей блока двигателя, предназначенных для вкладышей коренных подшипников, чтобы убедиться в правильности их размеров. Механическая обработка постелей блока двигателя не предусмотрена, и если их размер не соответствует техническим требованиям, то блок двигателя должен быть заменен.
  35. Удалить чистой, не оставляющей ворсинок тканью материал пластмассовой проволоки с поверхностей коренных шеек коленчатого вала.

  36. 902743
  37. Извлечь коленчатый вал из блока цилиндров.

  38. 1553604
  39. Обильно смазать верхние и нижние подшипниковые поверхности коленчатого вала предпусковой смазкой или чистым моторным маслом. См. рекомендации по использованию смазки в Клеи, жидкости, смазки и герметики .

  40. 902743
  41. Осторожно опустить коленчатый вал на место в блоке цилиндров.

  42. 1553593
  43. Определить правильный порядок расположения крышек коренных подшипников. Крышки коренных подшипников пронумерованы от 1 (1) до 4, а передняя крышка коренного подшипника помечена цифрой 1. Стрелка (2) должна быть направлена к передней части двигателя.

  44. 902745
  45. Установить крышки коренных подшипников коленчатого вала.
  46. Слегка завернуть первоначально использованные внутренние болты крышек коренных подшипников.
  47. Ввернуть, не затягивая, НОВЫЕ наружные болты крышек коренных подшипников.

  48. 1553597
  49. Молотком с мягким бойком осторожно постучать по крышкам коренных подшипников.

  50. 902789

    Примечание: На кромках головок боковых болтов крышек коренных подшипников имеется герметик. Необходимо использовать НОВЫЕ болты. Если не использовать НОВЫЕ болты, то у болтов картера может возникнуть утечка масла.

  51. Слегка завернуть НОВЫЕ короткие/внутренние боковые болты крышек коренных подшипников.
  52. Слегка завернуть НОВЫЕ длинные/наружные боковые болты крышек коренных подшипников.

  53. 1553599
  54. Затянуть болты крышек коренных подшипников с использованием угломера en 45059 в указанном ниже порядке:
  55. В первую очередь затянуть внутренние болты (1-8) в два этапа.
  56. 33.1. На первом этапе затянуть внутренние болты с моментом затяжки 20 Н·м (15 фунт фут).
    33.2. На 2-м этапе доверните внутренние болты (1-8) дополнительно на 80 градусов.

    1553600
  57. Во вторую очередь затянуть наружные болты (9-16) в два этапа.
  58. 34.1. На первом этапе затянуть наружные болты с моментом затяжки 15 Н·м (11 фунт фут).
    34.2. На 2-ом этапе затянуть наружные болты (9-16) дополнительно на угол 110 градусов.

    1553602
  59. В третью очередь затянуть короткие/внутренние болты (17-20) в два этапа.
  60. 35.1. На первом этапе затянуть короткие/внутренние болты с моментом затяжки 30 Н·м (22 фунт фут).
    35.2. На 2-м этапе доверните короткие/внутренние болты (17-20) дополнительно на 60 градусов.
  61. В четвертую очередь затянуть длинные/наружные болты (21-24) в два этапа.
  62. 36.1. На первом этапе затянуть длинные/наружные болты с моментом затяжки 30 Н·м (22 фунт фут).
    36.2. На 2-м этапе до верните длинные/наружные болты (21-24) на 60 градусов.
  63. Убедиться, что коленчатый вал вращается без заедания или шума.
   


https://vnx.su/ 🛠 Руководства по ремонту и эксплуатации для автомобилей

Поиск по сайту

Остались вопросы или пожелания? Пишите на почту: support@vnx.su

Карта Сайта