К верхней части документа
Captiva
   
Начальная страница GMDE Загрузить статическое содержание Загрузить динамическое содержание Справка?

Синхронизация направляющей потолочного люка

Процедура демонтажа

  1. Это необходимо только для того, чтобы опустить обивку. В процедуре замены обивки потолка следует выполнить только те действия, которые обеспечат достаточное опускание обивки для получения доступа к детали. См. Замена панели в обшивке потолка : Длинный кузов → Короткий кузов .
  2. Снять мотор потолочного люка. См. Замена электродвигателя/исполнительного элемента потолочного люка .
  3. Снять стекло потолочного люка с модуля потолочного люка. См. Замена окна люка крыши .

Процедура установки


    1938508
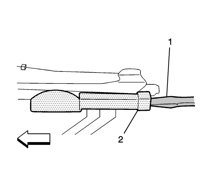
  1. Вставить плоский тупой инструмент (1) на одной линии с платой кабеля потолочного люка (2), прижимая назад.

  2. 2084431
  3. Толкать плату кабеля потолочного люка (1) до тех пор, пока приводной клин потолочного люка (2) не достигнет положения синхронизации.

  4. 1938509
  5. Выровнять приводной клин (1) с отверстием (2) в механизме.
  6. Установить мотор потолочного люка. См. Замена электродвигателя/исполнительного элемента потолочного люка .
  7. Установить стекло потолочного люка в модуль потолочного люка. См. Замена окна люка крыши .
  8. Проверить функционирование потолочного люка.
  9. Установить потолочную панель. См. Замена панели в обшивке потолка : Длинный кузов → Короткий кузов .
   


https://vnx.su/ 🛠 Руководства по ремонту и эксплуатации для автомобилей

Поиск по сайту

Остались вопросы или пожелания? Пишите на почту: support@vnx.su

Карта Сайта