Наверх документа
Captiva
   
Начальная страница GMDE Загрузить статическое оглавление Загрузить динамическое оглавление Помощь?

Описание системы отвода паров топлива

Работа системы улавливания паров бензина (evap)


995604
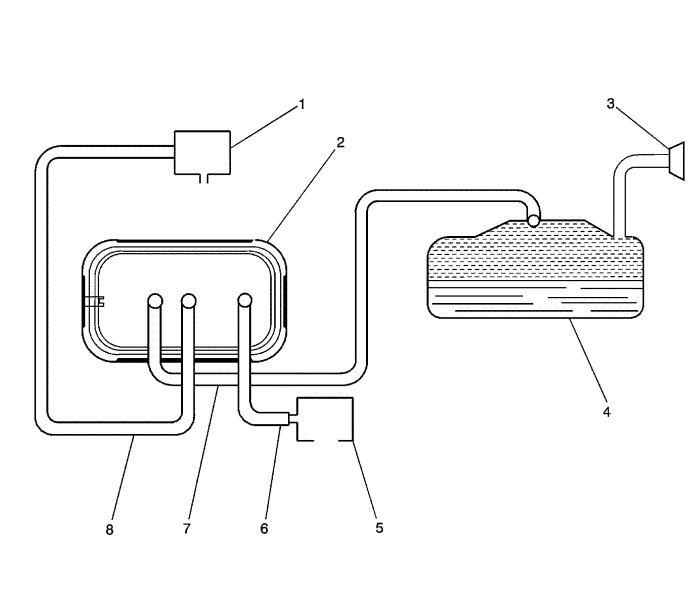
(1)Электромагнитный клапан продувки адсобера паров топлива (evap)
(2)Адсобер паров топлива (evap)
(3)Крышка заливной горловины/заливная горловина
(4)Топливный бак
(5)Патрубок забора воздуха системы улавливания паров топлива
(6)Вентиляционная трубка системы улавливания паров топлива
(7)Трубка паров системы улавливания паров топлива
(8)Трубка продувки системы улавливания паров топлива

Система управления улавливанием паров бензина (evap) ограничивает выход паров бензина в атмосферу. Пары бензина могут выходить из топливного бака под действием давления в баке через трубку паров бензина и попадают в адсорбер системы EVAP. Уголь в адсорбере поглощает пары бензина и сохраняет их. Избыточное давление стравливается через вентиляционную трубку и впускной патрубок система улавливания паров топлива в атмосферу. Адсорбер системы улавливания паров топлива сохраняет пары топлива до момента, когда двигатель сможет их использовать. В соответствующее время модуль управления выдаст команду на открытие электромагнитного клапана продувки системы EVAP, что позволит разрежению от двигателя воздействовать на адсорбер системы EVAP. Атмосферный воздух через впускной патрубок и вентиляционную трубку системы улавливания паров топлива поступит в адсорберы. Проходя через адсорбер, атмосферный воздух выводит из угольного наполнителя адсорбера пары топлива. Смесь воздуха и паров бензина выходит через трубопровод продувки EVAP и электромагнитный клапан продувки системы EVAP во впускной коллектор и расходуется при обычном процессе сгорания топлива.

Компоненты системы улавливания паров бензина (evap)

Система улавливания паров топлива состоит из следующих элементов:

    • Клапан продувки адсорбера системы улавливания паров топлива
    • Адсорбер
    • Топливоналивная горловина/пробка наливной горловины
    • Топливный бак
    • Впускной патрубок системы улавливания паров топлива
    • Трубопровод паров топлива
    • Вентиляционный трубопровод
    • Трубопровод продувки

Адсобер паров топлива (evap)

Адсорбер системы улавливания паров топлива представляет собой герметичную емкость с 3 штуцерами.

Адсорбер заполнен угольными гранулами, которые используются для поглощения и сохранения паров бензина. Пары бензина сохраняются в адсорбере до того момента, когда модуль управления определит, что пары топлива можно будет израсходовать в обычном процессе сжигания топлива.

Электромагнитный продувочный клапан системы отвода паров топлива

Электромагнитный клапан продувки системы улавливания паров бензина (evap) управляет потоком паров бензина из системы evap во впускной коллектор. Модуль управления управляет этим нормально закрытым клапаном с помощью широтно-импульсно модулированного сигнала (ШИМ) для точного регулирования потока паров бензина, направляемого в двигатель.

Патрубок забора воздуха системы улавливания паров топлива

Впускной патрубок системы улавливания паров топлива фильтрует воздух, поступающий в адсорбер.

   


https://vnx.su/ 🛠 Руководства по ремонту и эксплуатации для автомобилей

Поиск по сайту

Остались вопросы или пожелания? Пишите на почту: support@vnx.su

Карта Сайта