К верхней части документа
Captiva
   
Начальная страница GMDE Загрузить статическое содержание Загрузить динамическое содержание Справка?

Замена стойки задней подъемной двери

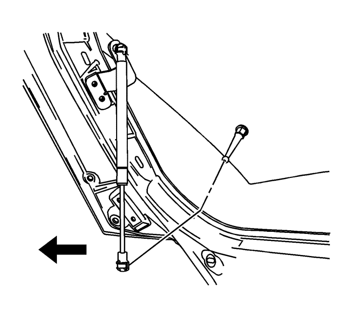
Процедура демонтажа


    1758261
  1. Поднять и подпереть стекло задней откидной двери в открытом положении.
  2. Приподнять и частично освободить пружинные зажимы на стойке с помощью небольшого инструмента с плоским лезвием.
  3. Отсоединить верхний конец стойки от шарнира.
  4. Отсоединить нижний конец стойки от шарнира.
  5. Снять стойку со стекла задней откидной двери.

Процедура установки


    1758261
  1. Установить стойку на стекло задней откидной двери.
  2. Присоединить верхний конец стойки к шарниру.
  3. Прижать его, чтобы полностью установить на место.

  4. Присоединить нижний конец стойки к шарниру.
  5. Прижать его, чтобы полностью установить на место.

  6. Убрать подпорку из-под стекла задней откидной двери.
  7. Закрыть стекло задней откидной двери.
   


https://vnx.su/ 🛠 Руководства по ремонту и эксплуатации для автомобилей

Поиск по сайту

Остались вопросы или пожелания? Пишите на почту: support@vnx.su

Карта Сайта