Наверх документа
Captiva
   
Начальная страница GMDE Загрузить статическое оглавление Загрузить динамическое оглавление Помощь?

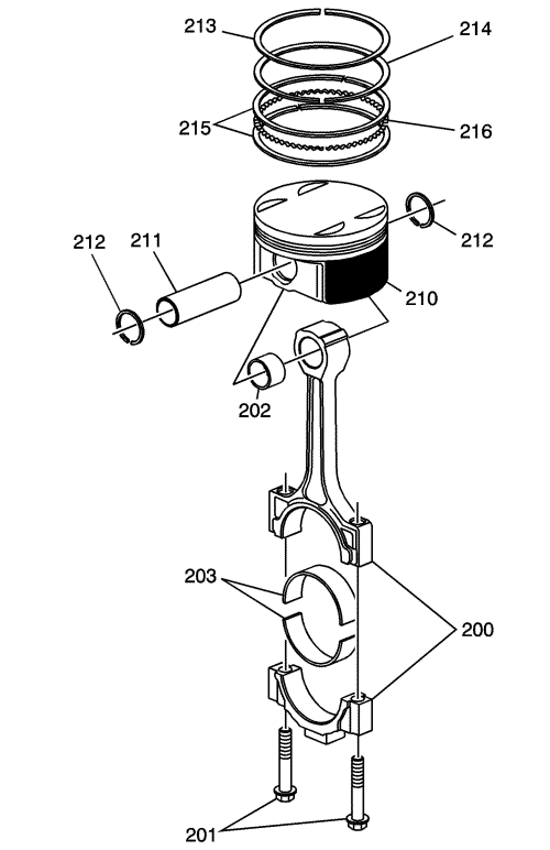
Поршень, кольца, подшипник и шатун


911347
(200)Шатун
(201)Болт шатуна
(202)Втулка шатуна
(203)Зазор подшипника шатуна
(210)Поршень
(211)Поршневой палец
(212)Фиксатор поршневого пальца
(212)Фиксатор поршневого пальца
(213)Верхнее компрессионное поршневое кольцо
(214)Нижнее компрессионное поршневое кольцо
(215)Маслосъемное поршневое кольцо
(216)Прокладка маслосъемного поршневого кольца
   


https://vnx.su/ 🛠 Руководства по ремонту и эксплуатации для автомобилей

Поиск по сайту

Остались вопросы или пожелания? Пишите на почту: support@vnx.su

Карта Сайта