К началу документа
Nubira-Lacetti
На предыдущую страницуНа следующую страницу
Главная страница GMDEЗагрузить нединамическое оглавлениеЗагрузить динамическое оглавлениеПомощь

Диагностический код неисправности p0171

Система корректировки топливоподачи, смесь слишком бедная

Описание системы

Если порог адаптивной коррекции постоянно превышен, отклонение от условий адаптивной коррекции позволяет определить медленно обнаруживающуюся ошибку. Два счетчика (один для обогащенной стороны, другой - для обедненной) увеличивают показания, когда лямбда-контроллер превышает пороговое значение адаптивной коррекции. Ошибка обнаруживается, как только один из счетчиков достигает максимального значения.
Целью этой проверки является имитация неисправности, которая вызывает превышение условий адаптивной коррекции. Необходимо создать два типа неисправности.
Поэтому, для каждого вида неисправности необходимо определить хороший и плохой предел. Для данной неисправности следует измерить порог токсичности до превышения официальных порогов токсичности.
Обратить внимание, что проблема состоит в требуемых порогах токсичности, в системе не так просто создать помехи, превышающие пороги токсичности. Настройка была произведена благодаря целенаправленной калибровке, но, так как такая процедура не допускается официальными правилами, необходимо создать какие-нибудь существенные неисправности (регулятор давления топлива, топливная форсунка, утечка воздуха...).

Условия появления кода dtc

Условия установки кода неисправности

(1,4 двойной верх. распредвал)
(1,6 двойной верх. распредвал)

Действия, выполняемые при установке кода неисправности

Условия очистки кода неисправности/индикации неисправности

Диагностическая информация

Важно: После ремонта использовать функцию сброса корректировки топливоподачи, чтобы сбросить долгосрочную корректировку топливоподачи до 128 (0%).

Проверить надежность соединения датчика кислорода или абсолютного давления в коллекторе у контроллера ЭСУД. Проверить разъемы жгута проводов на наличие следующего:
Осмотреть жгут проводов на наличие повреждений. Если жгут проводов кажется исправным, контролировать значение датчика HO2S на сканирующем приборе, перемещая разъемы и жгуты проводов, относящиеся к двигателю. Изменения на дисплее покажут место нахождения неисправности.

dtc p0171 - Система корректировки топливоподачи, смесь слишком бедная

ШагОперацияЗначенияДаНет
1
Провести проверку системы диагностики.
Проверка системы завершена?
-
Перейти к операции 2
Перейти к пункту "Проверка диагностической системы".
2
  1. Подключить сканирующий прибор к колодке диагностики (dlc).
  2. Включить зажигание.
Какие-либо диагностические коды неисправности компонентов установлены?
-
Перейти к соответствующей таблице диагностических кодов неисправности
Перейти к операции 3
3
Дать работать автомобилю с включенным двигателем до тех пор, пока СТАТУС КОНТУРА не будет показывать закрыто.
Долгосрочная корректировка топливоподачи ниже установленного значения?
27%
Перейти к операции 4
Перейти к операции 5
4
  1. Включить зажигание, двигатель не запускать.
  2. Просмотреть данные записи состояний и записать параметры.
  3. Совершить поездку в условиях записанных состояний и условий установки кода неисправности.
Долгосрочная корректировка топливоподачи опускается ниже установленного значения при работе в заданных условиях?
27%
Перейти к операции 15
Перейти к операции 5
5
Визуально/физически проверить следующее:
  • Вакуумные шланги на трещины, перекручивания и надежность соединения.
  • Воздушный/масляный сепаратор вентиляции картера на правильность монтажа.
  • Систему выпуска отработавших на коррозию, утечку, отсутствующие или ослабленные крепежи.
  • Датчик кислорода установлен прочно и соединительный жгут не контактирует с выпускным коллектором или двигателем.
  • Топливо на загрязнение водой, спиртом и др.
  • Контроллер ЭСУД и массы датчиков чистые, затянуты и находятся в нужном месте.
Одна из этих проверок позволяет локализовать неисправность, требующую ремонта?
-
Перейти к операции 7
Перейти к операции 6
6
  1. Отсоединить разъем датчика абсолютного давления в коллекторе (МАР).
  2. Дать автомобилю работать в закрытом контуре, наблюдая за значениями долгосрочной корректировки топливоподачи.
Долгосрочная корректировка топливоподачи ниже установленного значения?
27%
Перейти к операции 14
Перейти к операции 9
7
  1. Устранить неисправности, обнаруженные в операции 5.
  2. Еще раз проверить значения долгосрочной корректировки топливоподачи на работающем двигателе.
Долгосрочная корректировка топливоподачи ниже установленного значения?
27%
Перейти к операции 8
Перейти к операции 9
8
Условия для обеднения отсутствуют.
Есть проблемы с управляемостью?
-
Перейти к разделу "Диагностика признаков неисправностей"
Перейти к операции 16
9
  1. Визуально/физически проверить следующие позиции на утечки:
    • Впускной коллектор.
    • Корпус дроссельной заслонки.
    • Уплотнительные кольца форсунки.
  2. Устранить все найденные утечки, если необходимо.
Закончен ли ремонт?
-
Перейти к операции 16
Перейти к операции 16
10
Проверить работу клапана регулировки холостого хода или привода регулятора холостого хода главной дроссельной заслонки.
Ремонт был необходим и выполнен?
-
Перейти к операции 15
Перейти к операции 11
11
Проверить топливо на загрязнение водой, спиртом и другими веществами и удалить загрязнения, если необходимо.
Закончен ли ремонт?
-
Перейти к операции 15
Перейти к операции 12
12
  1. Присоединить манометр к топливной системе.
  2. Выключить зажигание не менее, чем на 10 секунд.
  3. Включить зажигание, двигатель не запускать. Топливный насос будет работать примерно 2-3 секунды. Возможно, будет необходимым включить зажигание несколько раз, чтобы получить максимальное давление топлива.
  4. Записать давление топлива при работающем топливном насосе. Давление должно быть в пределах установленного значения. При остановке топливного насоса давление может слегка измениться, затем остановиться на одном уровне.
Давление топлива на одном уровне и держится стабильно?
380~402 кПа (55~58 фунтов/кв. дюйм)
Перейти к операции 13
Перейти к разделу "Диагностика топливной системы"
13
  1. Запустить двигатель и дать ему поработать на холостом ходу при нормальной рабочей температуре.
  2. Давление топлива, записанное на предыдущей операции, должно упасть на указанное значение.
Давление топлива падает на указанное значение?
21~69 кПа (3~10 фунтов/кв. дюйм)
Перейти к разделу "Проверка баланса форсунок"
Перейти к разделу "Диагностика топливной системы"
14
Заменить датчик map.
Работа закончена?
-
Перейти к операции 15
-
15
  1. Используя сканирующий прибор, очистить диагностические коды неисправностей.
  2. Запустить двигатель и дать ему поработать на холостом ходу при нормальной рабочей температуре.
  3. Совершить поездку для установки кодов неисправности, как это указано во вспомогательном тексте.
Сканирующий прибор определяет эту диагностику как прошедшую и успешную?
-
Перейти к операции 16
Перейти к операции 2
16
Проверьте, не установлены ли дополнительные диагностические коды неисправности.
Отображены ли диагностические коды неисправности, которые не были продиагностированы?
-
Перейти к соответствующей таблице диагностических кодов неисправности
Система в норме

Диагностический код неисправности p0172

Система корректировки топливоподачи, смесь слишком богатая

Описание системы

Если порог адаптивной коррекции постоянно превышен, отклонение от условий адаптивной коррекции позволяет определить медленно обнаруживающуюся ошибку. Два счетчика (один для обогащенной стороны, другой - для обедненной) увеличивают показания, когда лямбда-контроллер превышает пороговое значение адаптивной коррекции. Ошибка обнаруживается, как только один из счетчиков достигает максимального значения. Целью этой проверки является имитация неисправности, которая вызывает превышение условий адаптивной коррекции. Необходимо создать два типа неисправности.
Поэтому, для каждого вида неисправности необходимо определить хороший и плохой предел. Для данной неисправности следует измерить порог токсичности до превышения официальных порогов токсичности. Обратить внимание, что проблема состоит в требуемых порогах токсичности, в системе не так просто создать помехи, превышающие пороги токсичности. Настройка была произведена благодаря целенаправленной калибровке, но, так как такая процедура не допускается официальными правилами, необходимо создать какие-нибудь существенные неисправности (регулятор давления топлива, топливная форсунка, утечка воздуха...).

Условия появления кода dtc

Условия установки кода неисправности

(1,4 двойной верх. распредвал)
(1,6 двойной верх. распредвал)

Действия, выполняемые при установке кода неисправности

Условия очистки кода неисправности/индикации неисправности

Диагностическая информация

Важно: После ремонта использовать функцию сброса корректировки топливоподачи, чтобы сбросить долгосрочную корректировку топливоподачи до 128 (0%).

Проверить слабый контакт на контроллере ЭСУД. Проверить жгуты проводов на следующее:
Осмотреть жгут проводов на наличие повреждений. Если жгут проводов кажется исправным, обратить внимание на отображаемое значение датчика кислорода на сканирующем приборе, двигая разъемы и жгуты проводов, относящиеся к двигателю. Изменения на дисплее покажут место нахождения неисправности.

dtc p0172 - Система корректировки топливоподачи, смесь слишком богатая

ШагОперацияЗначенияДаНет
1
Провести проверку системы диагностики.
Проверка системы завершена?
-
Перейти к операции 2
Перейти к пункту "Проверка диагностической системы".
2
  1. Подключить сканирующий прибор к колодке диагностики (dlc).
  2. Включить зажигание.
Какие-либо диагностические коды неисправности компонентов установлены?
-
Перейти к соответствующей таблице диагностических кодов неисправности
Перейти к операции 3
3
Дать работать автомобилю с включенным двигателем до тех пор, пока СТАТУС КОНТУРА не будет показывать закрыто.
Долгосрочная корректировка топливоподачи выше установленного значения?
-30%
Перейти к операции 4
Перейти к операции 5
4
  1. Включить зажигание, двигатель не запускать.
  2. Просмотреть данные записи состояний и записать параметры.
  3. Совершить поездку в условиях записанных состояний и условий установки кода неисправности.
Долгосрочная корректировка топливоподачи выше установленного значения при работе в заданных условиях?
-30%
Перейти к операции 19
Перейти к операции 5
5
Визуально/физически проверить фильтр воздухоочистителя на чрезмерную загрязненность или забитость и устранить неисправность, если необходимо.
Закончен ли ремонт?
-
Перейти к операции 19
Перейти к операции 6
6
Визуально/физически проверить систему впуска воздуха на повреждения или забитость и устранить неисправность, если необходимо.
Закончен ли ремонт?
-
Перейти к операции 19
Перейти к операции 7
7
Проверить впуск в корпус дроссельной заслонки на повреждения или присутствие посторонних предметов, которые могут частично заблокировать поток воздуха и устранить неисправность, если необходимо.
Закончен ли ремонт?
-
Перейти к операции 19
Перейти к операции 8
8
  1. Выключить зажигание.
  2. Проверить отверстие дроссельной заслонки, заслонку и каналы клапана регулирования подачи воздуха на холостом ходу на забитость и присутствие посторонних предметов и устранить неисправность, если необходимо.
Закончен ли ремонт?
-
Перейти к операции 19
Перейти к операции 9
9
Запустить двигатель на парковочном тормозе или нейтрали и при выключенном кондиционере и записать значения холостого хода.
Имеет ли место низкий или неустойчивый холостой ход?
-
Перейти к операции 10
Перейти к операции 12
10
Проверить работу клапана регулировки холостого хода или привода регулятора холостого хода главной дроссельной заслонки.
Ремонт был необходим и выполнен?
-
Перейти к операции 19
Перейти к операции 11
11
  1. Выключить зажигание.
  2. Отсоединить разъем датчика абсолютного давления в коллекторе (МАР).
  3. Запустите двигатель.
  4. Дать автомобилю работать в закрытом контуре, наблюдая за значениями долгосрочной корректировки топливоподачи.
Долгосрочная корректировка топливоподачи повышается выше установленного значения?
-30%
Перейти к операции 18
Перейти к операции 12
12
  1. Включить зажигание.
  2. Медленно нажать на педаль акселератора.
Датчик положения дроссельной заслонки (tp) показывает стабильное и плавное увеличение с минимального уровня сигнала при закрытой дроссельной заслонке до максимального значения при полностью открытой дроссельной заслонке (wot)?
-
Перейти к операции 13
Перейти к операции 17
13
  1. Выполнить диагностику топливной системы.
  2. Если таблица позволяет локализовать проблему, устранить ее, если необходимо.
Закончен ли ремонт?
-
Перейти к операции 19
Перейти к операции 14
14
  1. Выполнить диагностику системы улавливания паров бензина (СУПБ)
  2. Если таблица позволяет локализовать проблему, устранить ее, если необходимо.
Закончен ли ремонт?
-
Перейти к операции 19
Перейти к операции 15
15
  1. Провести проверку баланса форсунок.
  2. Если таблица позволяет локализовать проблему, устранить ее, если необходимо.
Закончен ли ремонт?
-
Перейти к операции 19
Перейти к операции 16
16
  1. Снимите датчик кислорода.
  2. Визуально/физически проверить датчик ho2s на отсутствие силиконового загрязнения.

Примечание: Показателем этого служат белые порошкообразные отложения на той части датчика HO2S, которая находится в выхлопном тракте.

  1. Если на датчике HO2S присутствует загрязнение, найти источник и устранить неисправность, если необходимо.
Закончен ли ремонт?
-
Перейти к операции 19
Перейти к "Диагностическая информация"
17
  1. Проверить крепежные винты датчика ТР.
  2. Если они ослаблены или отсутствуют, затянуть или заменить их, если необходимо.
  3. Если винты в норме, заменить датчик ТР.
Закончен ли ремонт?
-
Перейти к операции 19
-
18
  1. Выключить зажигание.
  2. Заменить датчик map.
Закончен ли ремонт?
-
Перейти к операции 19
-
19
  1. Используя сканирующий прибор, очистить диагностические коды неисправностей.
  2. Запустить двигатель и дать ему поработать на холостом ходу при нормальной рабочей температуре.
  3. Совершить поездку для установки кодов неисправности, как это указано во вспомогательном тексте.
Сканирующий прибор определяет эту диагностику как прошедшую и успешную?
-
Перейти к операции 20
Перейти к операции 2
20
Проверьте, не установлены ли дополнительные диагностические коды неисправности.
Отображены ли диагностические коды неисправности, которые не были продиагностированы?
-
Перейти к соответствующей таблице диагностических кодов неисправности
Система в норме

J3B11F30
Показать иллюстрациюПеревод текста в иллюстрациях


Диагностический код неисправности p0222

Привод регулятора холостого хода дроссельной заслонки, низкое напряжение в цепи

Описание схемы

Привод регулятора холостого хода главной дроссельной заслонки (MTIA) включает в себя привод регулировки холостого хода (ISC), используемый для регулировки числа оборотов двигателя на холостом ходу. Контроллер электронной системы управления двигателем (ЭСУД) заставляет привод ISC регулировать угол раскрытия дроссельной заслонки для регулировки числа оборотов двигателя. Датчик положения дроссельной заслонки (ТР) и датчик положения привода регулировки холостого хода (ISC) также являются частью привода регулятора холостого хода главной дроссельной заслонки. Оба датчика положения подключены к контрольной цепи сигналов напряжением 5 В и общей контрольной цепи с низким уровнем сигнала. У каждого датчика положения предусмотрена своя сигнальная цепь, из которой в контроллер ЭСУД подается напряжение сигнала пропорционально движению пластины дроссельной заслонки. При обнаружении контроллером ЭСУД заниженного напряжения датчика положения привода ISC устанавливается данный код DTC.

Условия появления кода dtc

Условия установки кода неисправности

Действия, выполняемые при установке кода неисправности

Условия очистки кода неисправности/индикации неисправности

Описание проверки

Нижеприведенный номер относится к номерам этапов из таблицы диагностики.
  1. Для такой проверки НЕЛЬЗЯ использовать контрольную цепь с низким уровнем сигнала в разъеме жгута проводов компонентов. Повреждение этого блока управления может привести к повышению тока.
  2. Цепи контрольного сигнала напряжением 5В подключены к котроллеру внутри. Для других датчиков, подключенных к цепи контрольного сигнала напряжением 5В, также могут устанавливаться коды DTC. Имеющий замыкание датчик можно изолировать, отсоединив датчик от совместно используемой цепи контрольного сигнала напряжением 5В. Свериться со схемой электрических соединений и провести диагностику совместно используемых цепей и датчиков.

dtc p0222 - Привод регулятора холостого хода дроссельной заслонки, низкое напряжение в цепи

ШагОперацияЗначенияДаНет
1
Вы провели проверку диагностической системы?
-
Перейти к операции 2
Перейти к пункту "Проверка диагностической системы".
2
  1. Включить зажигание при заглушенном двигателе.
  2. Сканирующим прибором проверить параметры датчика положения привода isc.
Напряжение меньше указанного значения?
0,3 В
Перейти к операции 4
Перейти к операции 3
3
  1. Изучить зарегистрированные данные о сбое для данного кода dtc.
  2. Выключить зажигание на 30 секунд.
  3. Запустите двигатель.
  4. Создать для автомобиля условия появления кода dtc. Можно также создать для автомобиля условия, которые наблюдались на основе зарегистрированных данных о нарушении работы.
Код dtc показал пропуск зажигания?
-
Перейти к операции 4
См. Непостоянные неисправности"
4
  1. Выключить зажигание.
  2. Отсоединить разъем жгута проводов корпуса дроссельной заслонки.
  3. Включить зажигание при заглушенном двигателе.
  4. Присоединить котрольную лампу между цепью контрольного сигнала напряжением 5В датчика положения привода isc и надежным источником заземления.
  5. Присоединить цифровой универсальный измерительный прибор к щупу контрольной лампы и надежному источнику заземления.
Напряжение выше указанного?
4,8 В
Перейти к операции 5
Перейти к операции 6
5
  1. Выключить зажигание.
  2. Соединить 3-амперной перемычкой с предохранителем провод между сигнальной цепью и контрольной цепью сигнала напряжением 5В датчика положения привода isc.
  3. Включить зажигание при заглушенном двигателе.
  4. Сканирующим прибором проверить параметры датчика положения привода isc.
Напряжение в пределах указанного?
4,8~5,2 В
Перейти к операции 8
Перейти к операции 7
6
Проверить контрольную цепь сигналов напряжением 5 В датчика положения привода isc и всеми совместно используемыми контрольными цепями сигналов напряжением 5 В на следующее:
  • Обрыв
  • Замыкание на массу
  • Высокое сопротивление
Неисправность обнаружена и устранена?
-
Перейти к операции 12
Перейти к операции 9
7
Проверить сигнальную цепь датчика положения привода isc на следующее:
  • Замыкание на массу
  • Обрыв
  • Высокое сопротивление
Неисправность обнаружена и устранена?
-
Перейти к операции 12
Перейти к операции 9
8
Проверить на наличие замыкания клемм и надежно ли установлены соединения у корпуса дроссельной заслонки.
Неисправность обнаружена и устранена?
-
Перейти к операции 12
Перейти к операции 10
9
Проверить, нет ли замыкания на клеммах или ненадежного соединения у контроллера электронной системы управления двигателем (ЭСУД).
Неисправность обнаружена и устранена?
-
Перейти к операции 12
Перейти к операции 11
10
Заменить привод регулятора холостого хода главной дроссельной заслонки в сборе.
Замена произведена?
-
Перейти к операции 12
-
11
Заменить контроллер ЭСУД.
Замена произведена?
-
Перейти к операции 12
-
12
  1. Сканирующим прибором сбросить коды dtc.
  2. Выключить зажигание на 30 секунд.
  3. Запустите двигатель.
  4. Создать для автомобиля условия появления кода dtc. Можно также создать для автомобиля условия, которые наблюдались на основе зарегистрированных данных о нарушении работы.
Код dtc показал пропуск зажигания?
-
Перейти к операции 2
Перейти к операции 13
13
Проверьте, не установлены ли дополнительные диагностические коды неисправности.
Если ли коды dtc, которые еще не были продиагностированы?
-
Перейти к соответствующей таблице диагностических кодов неисправности
Система в норме

J3B11F30
Показать иллюстрациюПеревод текста в иллюстрациях


Диагностический код неисправности p0223

Привод регулятора холостого хода дроссельной заслонки, высокое напряжение в цепи

Описание схемы

Привод регулятора холостого хода главной дроссельной заслонки (MTIA) включает в себя привод регулировки холостого хода (ISC), используемый для регулировки числа оборотов двигателя на холостом ходу. Контроллер электронной системы управления двигателем (ЭСУД) заставляет привод ISC регулировать угол раскрытия дроссельной заслонки для регулировки числа оборотов двигателя. Датчик положения дроссельной заслонки (ТР) и датчик положения привода регулировки холостого хода (ISC) также являются частью привода регулятора холостого хода главной дроссельной заслонки. Оба датчика положения подключены к контрольной цепи сигналов напряжением 5 В и общей контрольной цепи с низким уровнем сигнала. У каждого датчика положения предусмотрена своя сигнальная цепь, из которой в контроллер ЭСУД подается напряжение сигнала пропорционально движению пластины дроссельной заслонки. При обнаружении контроллером ЭСУД завышенного напряжения датчика положения привода ISC устанавливается данный код DTC.

Условия появления кода dtc

Условия установки кода неисправности

Действия, выполняемые при установке кода неисправности

Условия очистки кода неисправности/индикации неисправности

Описание проверки

Число, приведенное ниже, относится к номеру этапа из диагностической таблицы.
  1. Цепи контрольного сигнала напряжением 5В подключены к котроллеру внутри. Для других датчиков, подключенных к цепи контрольного сигнала напряжением 5В, также могут устанавливаться коды DTC. Имеющий замыкание датчик можно изолировать, отсоединив датчик от совместно используемой цепи контрольного сигнала напряжением 5В. Свериться со схемой электрических соединений и провести диагностику совместно используемых цепей и датчиков.

dtc p0223 - Привод регулятора холостого хода дроссельной заслонки, высокое напряжение в цепи

ШагОперацияЗначенияДаНет
1
Вы провели проверку диагностической системы?
-
Перейти к операции 2
Перейти к пункту "Проверка диагностической системы".
2
  1. Включить зажигание, двигатель не запускать.
  2. Сканирующим прибором проверить параметры датчика положения привода isc.
Напряжение выше указанного?
4,8 В
Перейти к операции 4
Перейти к операции 3
3
  1. Изучить зарегистрированные данные о сбое для данного кода dtc.
  2. Выключить зажигание на 30 секунд.
  3. Запустите двигатель.
  4. Создать для автомобиля условия появления кода dtc. Можно также создать для автомобиля условия, которые наблюдались на основе зарегистрированных данных о нарушении работы.
Код dtc показал пропуск зажигания?
-
Перейти к операции 4
См. Непостоянные неисправности"
4
  1. Выключить зажигание.
  2. Отсоединить разъем жгута проводов корпуса дроссельной заслонки.
  3. Включить зажигание при заглушенном двигателе.
  4. Цифровым универсальным измерителем измерить участок от контрольной цепи сигналов напряжением 5 В датчика положения привода isc до надежного источника заземления.
Напряжение выше указанного?
5,2 В
Перейти к операции 7
Перейти к операции 5
5
Цифровым универсальным измерителем измерить участок от сигнальной цепи датчика положения привода isc до надежного источника заземления.
Напряжение выше указанного?
0,5 В
Перейти к операции 8
Перейти к операции 6
6
  1. Выключить зажигание.
  2. Цифровым универсальным измерителем измерить участок от контрольной цепи с низким уровнем сигнала датчика положения привода isc до надежного источника заземления.
Находится ли сопротивление ниже указанного значения?
3 Ом
Перейти к операции 10
Перейти к операции 9
7
Проверить, нет ли замыкания на источник питания у контрольной цепи сигналов напряжением 5 В датчика положения привода isc.
Неисправность обнаружена и устранена?
-
Перейти к операции 14
Перейти к операции 11
8
Проверить, нет ли замыкания на источник питания у сигнальной цепи датчика положения привода isc.
Неисправность обнаружена и устранена?
-
Перейти к операции 14
Перейти к операции 11
9
Проверить, нет ли высокого сопротивления или обрыва в контрольной цепи с низким уровнем сигнала датчика положения привода isc.
Неисправность обнаружена и устранена?
-
Перейти к операции 14
Перейти к операции 11
10
Проверить на наличие замыкания клемм и надежно ли установлены соединения у корпуса дроссельной заслонки.
Неисправность обнаружена и устранена?
-
Перейти к операции 14
Перейти к операции 12
11
Проверить, нет ли замыкания на клеммах или ненадежного соединения у контроллера электронной системы управления двигателем (ЭСУД).
Неисправность обнаружена и устранена?
-
Перейти к операции 14
Перейти к операции 13
12
Заменить привод регулятора холостого хода главной дроссельной заслонки в сборе.
Замена произведена?
-
Перейти к операции 14
-
13
Заменить контроллер ЭСУД.
Замена произведена?
-
Перейти к операции 14
-
14
  1. Сканирующим прибором сбросить коды dtc.
  2. Выключить зажигание на 30 секунд.
  3. Запустите двигатель.
  4. Создать для автомобиля условия появления кода dtc. Можно также создать для автомобиля условия, которые наблюдались на основе зарегистрированных данных о нарушении работы.
Код dtc показал пропуск зажигания?
-
Перейти к операции 2
Перейти к операции 15
15
Проверьте, не установлены ли дополнительные диагностические коды неисправности.
Если ли коды dtc, которые еще не были продиагностированы?
-
Перейти к соответствующей таблице диагностических кодов неисправности
Система в норме

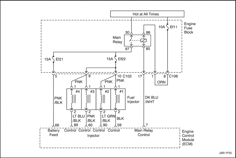
J3B11F55
Показать иллюстрациюПеревод текста в иллюстрациях


Диагностический код неисправности (dtc)

p0261 Форсунка 1-го цилиндра, низкий уровень сигнала цепи управления

p0264 Форсунка 2-го цилиндра, низкий уровень сигнала цепи управления

p0267 Форсунка 3-го цилиндра, низкий уровень сигнала цепи управления

p0270 Форсунка 4-го цилиндра, низкий уровень сигнала цепи управления

Описание схемы

У контроллера электронной системы управления двигателем (ЭСУД) имеются цепи управляющих устройств форсунок для каждого цилиндра, каждая из которых управляет своей форсункой. Форсунка включается, когда цепь управления замыкается на массу контроллером ЭСУД. Контроллер ЭСУД контролирует ток в каждой цепи управления. Контроллер ЭСУД измеряет падение напряжения постоянным резистором и управляет им. Для определения неисправности каждая цепь управления контролируется. Если напряжение в цепи отличается от заданного в контроллере ЭСУД, то устанавливается диагностический код неисправности.

Условия появления кода dtc

Условия установки кода неисправности

Действия, выполняемые при установке кода неисправности

Условия очистки кода неисправности/индикации неисправности

Диагностическая информация

Обрыв или замыкание на массу в цепи управляющего устройства форсунки вызывает установку этого кода DTC. А также вызывает пропуск зажигания от неработающей форсунки. Также должен быть установлен диагностический код неисправности зажигания с указанием неисправной форсунки.
Слишком высокая или слишком низкая долгосрочная и краткосрочная корректировка топливоподачи указывают на неисправность форсунки. См. "Проверка баланса форсунок" в этом разделе для проверки неисправных форсунок.
Сопротивление форсунки, измеренное на соединении контроллера ЭСУД несколько выше, чем измеренное непосредственно на форсунке, так как оно включает сопротивление жгута проводов. Нормальное значение - около 13,5Ом.

dtc p0261 - Форсунка 1-го цилиндра, низкий уровень сигнала цепи управления

dtc p0264 - Форсунка 2-го цилиндра, низкий уровень сигнала цепи управления

dtc p0267 - Форсунка 3-го цилиндра, низкий уровень сигнала цепи управления

dtc p0270 - Форсунка 4-го цилиндра, низкий уровень сигнала цепи управления

ШагОперацияЗначенияДаНет
1
Провести проверку системы диагностики.
Проверка системы завершена?
-
Перейти к операции 2
Перейти к пункту "Проверка диагностической системы".
2
Попытайтесь запустить двигатель.
Двигатель запускается?
-
Перейти к операции 3
Перейти к "Коленчатый вал проворачивается, но двигатель не запускается"
3
  1. Подключить сканирующий прибор и очистить диагностические коды неисправностей.
  2. Дать поработать двигателю на холостом ходу одну минуту.
Код dtc сбрасывается?
-
Перейти к операции 5
Перейти к операции 4
4
  1. Просмотреть данные записи состояний с включенным зажиганием и остановленным двигателем и записать параметры.
  2. Совершить поездку в условиях данных записи состояния неисправности.
Код dtc сбрасывается?
-
Перейти к операции 5
Перейти к "Диагностическая информация"
5
  1. Повернуть ключ зажигания в положение блокировки.
  2. Проверить, нет ли обрыва или замыкания на массу в проводе между клеммой 2 разъема форсунки и соответствующей клеммой разъема контроллера ЭСУД.
Проблема найдена?
-
Перейти к операции 7
Перейти к операции 6
6
  1. Повернуть ключ зажигания в положение блокировки.
  2. Проверить, нет ли обрыва или замыкания на массу в проводе между клеммой 1 разъема форсунки и положительным выводом аккумулятора.
Проблема найдена?
-
Перейти к операции 7
Перейти к операции 8
7
  1. Отремонтировать провод или клемму разъема, если необходимо.
  2. Очистить все диагностические коды неисправности из контроллера ЭСУД.
  3. Провести проверку системы диагностики.
Закончен ли ремонт?
-
Перейти к операции 10
-
8
  1. Заменить форсунку.
  2. Очистить все диагностические коды неисправности из контроллера ЭСУД.
  3. Провести проверку системы диагностики.
Код dtc сбрасывается?
-
Перейти к операции 9
Перейти к операции 10
9
  1. Повернуть ключ зажигания в положение блокировки.
  2. Заменить контроллер ЭСУД.
  3. Провести проверку системы диагностики.
Закончен ли ремонт?
-
Перейти к операции 10
-
10
Проверьте, не установлены ли дополнительные диагностические коды неисправности.
Отображены ли диагностические коды неисправности, которые не были продиагностированы?
-
Перейти к соответствующей таблице диагностических кодов неисправности
Система в норме

J3B11F55
Показать иллюстрациюПеревод текста в иллюстрациях


Диагностический код неисправности (dtc)

p0262 Форсунка 1-го цилиндра, высокий уровень сигнала цепи управления

p0265 Форсунка 2-го цилиндра, высокий уровень сигнала цепи управления

p0268 Форсунка 3-го цилиндра, высокий уровень сигнала цепи управления

p0271 Форсунка 4-го цилиндра, высокий уровень сигнала цепи управления

Описание схемы

У контроллера электронной системы управления двигателем (ЭСУД) имеются цепи управляющих устройств форсунок для каждого цилиндра, каждая из которых управляет своей форсункой. Форсунка включается, когда цепь управления замыкается на массу контроллером ЭСУД. Контроллер ЭСУД контролирует ток в каждой цепи управления. Контроллер ЭСУД измеряет падение напряжения постоянным резистором и управляет им. Для определения неисправности каждая цепь управления контролируется. Если напряжение в цепи отличается от заданного в контроллере ЭСУД, то устанавливается диагностический код неисправности.

Условия появления кода dtc

Условия установки кода неисправности

Действия, выполняемые при установке кода неисправности

Условия очистки кода неисправности/индикации неисправности

Диагностическая информация

Цепь управления форсункой, имеющая замыкание на источник питания, вызывает установку кода DTC. А также вызывает пропуск зажигания от неработающей форсунки. Также должен быть установлен диагностический код неисправности зажигания с указанием неисправной форсунки.
Слишком высокая или слишком низкая долгосрочная и краткосрочная корректировка топливоподачи указывают на неисправность форсунки. См. "Проверка баланса форсунок" в этом разделе для проверки неисправных форсунок.
Сопротивление форсунки, измеренное на соединении контроллера ЭСУД несколько выше, чем измеренное непосредственно на форсунке, так как оно включает сопротивление жгута проводов. Нормальное значение - около 13,5Ом.

dtc p0262 - Форсунка 1-го цилиндра, высокий уровень сигнала цепи управления

dtc p0262 - Форсунка 2-го цилиндра, высокий уровень сигнала цепи управления

dtc p0268 - Форсунка 3-го цилиндра, высокий уровень сигнала цепи управления

dtc p0271 - Форсунка 4-го цилиндра, высокий уровень сигнала цепи управления

ШагОперацияЗначенияДаНет
1
Провести проверку системы диагностики.
Проверка системы завершена?
-
Перейти к операции 2
Перейти к пункту "Проверка диагностической системы".
2
Попытайтесь запустить двигатель.
Двигатель запускается?
-
Перейти к операции 3
Перейти к "Коленчатый вал проворачивается, но двигатель не запускается"
3
  1. Подключить сканирующий прибор и очистить диагностические коды неисправностей.
  2. Дать двигателю поработать на холостом ходу в течение одной минуты.
Код dtc сбрасывается?
-
Перейти к операции 5
Перейти к операции 4
4
  1. Просмотреть данные записи состояний с включенным зажиганием и остановленным двигателем и записать параметры.
  2. Совершить поездку в условиях данных записи состояния неисправности.
Код dtc сбрасывается?
-
Перейти к операции 5
Перейти к "Диагностическая информация"
5
  1. Повернуть ключ зажигания в положение блокировки.
  2. Проверить, нет ли замыкания на источник питания в проводе между клеммой 1 разъема форсунки и соответствующей клеммой разъема контроллера ЭСУД.
Проблема найдена?
-
Перейти к операции 6
Перейти к операции 7
6
  1. Отремонтировать провод или клемму разъема, если необходимо.
  2. Очистить все диагностические коды неисправности из контроллера ЭСУД.
  3. Провести проверку системы диагностики.
Закончен ли ремонт?
-
Перейти к операции 9
-
7
  1. Заменить форсунку.
  2. Очистить все диагностические коды неисправности из контроллера ЭСУД.
  3. Провести проверку системы диагностики.
Код dtc сбрасывается?
-
Перейти к операции 8
Перейти к операции 9
8
  1. Повернуть ключ зажигания в положение блокировки.
  2. Заменить контроллер ЭСУД.
  3. Провести проверку системы диагностики.
Закончен ли ремонт?
-
Перейти к операции 9
-
9
Проверьте, не установлены ли дополнительные диагностические коды неисправности.
Отображены ли диагностические коды неисправности, которые не были продиагностированы?
-
Перейти к соответствующей таблице диагностических кодов неисправности
Система в норме


На предыдущую страницуНа следующую страницу
https://vnx.su/ 🛠 Руководства по ремонту и эксплуатации для автомобилей

Поиск по сайту

Остались вопросы или пожелания? Пишите на почту: support@vnx.su

Карта Сайта