К началу документа
Nubira-Lacetti
На предыдущую страницуНа следующую страницу
Главная страница GMDEЗагрузить нединамическое оглавлениеЗагрузить динамическое оглавлениеПомощь

РАЗДЕЛ 2C

ПЕРЕДНЯЯ ПОДВЕСКА

Внимание! Необходимо отсоединять отрицательный провод аккумулятора перед снятием или установкой любого электрического устройства, а также в тех случаях, когда возможно соприкосновение инструмента или оборудования с открытыми электрическими контактами. Отсоединение этого провода поможет избежать несчастного случая, а также повреждения автомобиля. Необходимо также, чтобы зажигание находилось в положении LOCK, если не будет требоваться иное.

ТЕХНИЧЕСКИЕ ХАРАКТЕРИСТИКИ

Общие технические характеристики

ПРОГРАММА
Высота кузова относительно колес
Между центром переднего колеса и средней точкой колесной арки
368 мм (14,4 дюйма)
Между центром заднего колеса и средней точкой колесной арки
367 мм (14,4 дюйма)
* УСЛОВИЕ: полный топливный бак

Моменты затяжки резьбовых соединений

ПРОГРАММА
Н•м
Фунт-фут
Фунт-дюйм
Гайка стяжного болта шарового шарнира
60
44
-
Гайки креплений шарового шарнира к рычагу
100
74
-
Передний болт крепления рычага к поперечине
125
92
-
Задний болт крепления рычага к поперечине
110
81
-
Болт крепления соединительного звена поперечины к поперечине
114
84
-
Гайка крепления соединительного звена поперечины к кронштейну коробки передач и главной передачи в сборе
169
125
-
Самостопорящаяся гайка крепления ступицы к ведущей оси
300
221
-
Передние болты крепления поперечины к кузову
130
96
-
Гайка крепления штока
75
55
-
Задние болты крепления поперечины к кузову
196
145
-
Гайка крепления стойки стабилизатора к телескопической стойке в сборе
47
35
-
Болты скоб крепления штанги стабилизатора к поперечине
25
18
-
Гайка крепления штанги стабилизатора к стойке стабилизатора
47
35
-
Гайки и болты крепления поворотного кулака к телескопической стойке в сборе
120
89
-
Гайка крепления телескопической стойки в сборе к кузову
65
48
-

СПЕЦИАЛЬНЫЕ ИНСТРУМЕНТЫ

Таблица специальных инструментов


50020
Показать иллюстрациюПеревод текста в иллюстрациях


500-20
Шестигранная гайка

J366612
Показать иллюстрациюПеревод текста в иллюстрациях


j-36661-2
Нажимной винт

J37105B1
Показать иллюстрациюПеревод текста в иллюстрациях


j-37105-b-1
Опорная скоба

J37105B3
Показать иллюстрациюПеревод текста в иллюстрациях


j-37105-b-3
Переходник ступицы

KM158
Показать иллюстрациюПеревод текста в иллюстрациях


km-158
Съемник

KM329A
Показать иллюстрациюПеревод текста в иллюстрациях


km-329-a
Приспособление для сжатия пружин

KM507B
Показать иллюстрациюПеревод текста в иллюстрациях


km-507-b
Съемник для шаровых шарниров

J37105B2
Показать иллюстрациюПеревод текста в иллюстрациях


j-37105-b-2
Переходник подшипников

J42468
Показать иллюстрациюПеревод текста в иллюстрациях


j-42468
Ключ для гайки опоры телескопической стойки
передней подвески

ДИАГНОСТИКА

Буфер хода сжатия телескопической стойки

Буфер хода сжатия телескопической стойки по существу является амортизатором. Однако, по сравнению с амортизаторами, буферы хода сжатия телескопических стоек легче удлиняются и сжимаются вручную.

Недостаточное сопротивление стоек подвески

Проверки
Операция
Проверьте давление воздуха в шинах.
Отрегулируйте давление воздуха в шинах до значения, указанного в табличке с техническими данными шин.
Проверьте, каковы условия нагружения автомобиля при обычной эксплуатации.
Выясните у владельца автомобиля, известны ли ему нормальные условия загрузки.
Проверьте эффективность буфера хода сжатия телескопической стойки при сжатии и отбое.
Резко надавите на угол бампера, ближайший к проверяемому буферу хода сжатия телескопической стойки, а затем отпустите.
Сравните сжатие и отбой с имеющимися на другом таком же автомобиле, не имеющем неисправностей.
Замените буфер хода сжатия телескопической стойки, если потребуется.

Стойки шумят

Проверки
Операция
Проверьте, хорошо ли закреплены узлы крепления и нет ли у них повреждений.
Затяните гайки узлов крепления буферов хода сжатия телескопических стоек. Замените буфер хода сжатия телескопической стойки, если потребуется.
Проверьте эффективность буфера хода сжатия телескопической стойки при сжатии и отбое.
Резко надавите на угол бампера, ближайший к проверяемому буферу хода сжатия телескопической стойки, а затем отпустите.
Сравните сжатие и отбой с имеющимися на другом таком же автомобиле, не имеющем неисправностей.
Замените буфер хода сжатия телескопической стойки, если потребуется.

Утечки

Проверки
Операция
Проверьте, нет ли каких-либо следов утечки жидкости.
Буфер хода сжатия телескопической стойки исправен.
Проверьте целостность крышки уплотнения на полностью вытянутой стойке.
Замените буфер хода сжатия телескопической стойки.
Проверьте, нет ли излишка жидкости в буфере хода сжатия телескопической стойки.
Замените буфер хода сжатия телескопической стойки.

Шаровой шарнир и поворотный кулак

Осмотр шарового шарнира

  1. Поднимите переднюю часть автомобиля так, чтобы вывесить переднюю подвеску.
  2. Возьмитесь за шину сверху и снизу.
  3. Переместите верх шины внутрь колесной арки, а затем подвигайте внутрь и наружу.
  4. Посмотрите, происходит ли какое-либо горизонтальное перемещение поворотного кулака относительно рычага.
  5. Шаровые шарниры должны быть заменены в следующих случаях:

Осмотр шарового пальца

При каждом осмотре шарового шарнира обязательно проверяйте, плотно ли сидит шаровой палец в бобышке поворотного кулака. Один из способов проверки шарового пальца на износ заключается в том, чтобы потрясти колесо, оценивая при этом перемещение конца пальца в бобышке поворотного кулака.
Другой способ проверки шарового пальца на износ сводится к проверке момента затяжки контргайки. Незатянутая гайка может указывать на деформацию пальца или на дефект бобышки поворотного кулака.
Необходимо заменить изношенные или поврежденные шаровые шарниры и поворотные кулаки.

Проверка чрезмерного трения

Для проверки на чрезмерное трение в передней подвески действуйте в последовательности, указанной ниже:
  1. С помощью еще одного механика поднимите автомобиль за передний бампер как можно выше.
  2. Медленно опустите бампер, чтобы кузов автомобиля занял свое нормальное положение относительно колес. См. в этой части "Общие технические характеристики" .
  3. Измерьте расстояние от поверхности дороги до середины бампера.
  4. Надавите на бампер, а затем медленно отпустите, чтобы кузов автомобиля занял свое нормальное положение относительно колес.
  5. Измерьте расстояние от поверхности дороги до середины бампера.
  6. Разность между результатами двух указанных измерений должна быть менее 12,7 мм (0,5 дюйма). Если разность больше этого предельного значения, то проверьте на повреждения или износ рычаги, стойки и шаровые шарниры.

РАСПОЛОЖЕНИЕ КОМПОНЕНТОВ

Передняя подвеска


J3B12C01
Показать иллюстрациюПеревод текста в иллюстрациях


  1. Колпак
  2. Верхняя гайка стойки
  3. Гайка крепления штока
  4. Опора стойки
  5. Подшипник стойки
  6. Шайба
  7. Верхняя опорная чашка пружины
  8. Центратор пружины передней подвески
  9. Верхний изолятор пружины
  10. Буфер с отверстием
  11. Цилиндрическая пружина передней подвески
  12. Нижний изолятор пружины
  13. Телескопическая стойка передней подвески
  14. Болт крепления поворотного кулака к телескопической стойке в сборе
  15. Гайка
  16. Поворотный кулак
  17. Тормозной щит
  18. Подшипник передней ступицы
  19. Наружное стопорное кольцо
  20. Передняя ступица
  21. Диск переднего тормоза
  22. Шайба
  23. Самостопорящаяся гайка
  24. Болт хомута стабилизатора
  25. Хомут стабилизатора
  26. Подушка хомута стабилизатора
  27. Стабилизатор
  28. Гайка стойки стабилизатора
  29. Стойка стабилизатора
  30. Поперечина передней подвески
  31. Щиток поперечины
  32. Болт щитка поперечины
  33. Болт поперечины
  34. Гайка поперечины
  35. Рычаг
  36. Шаровой шарнир

ТЕХНИЧЕСКОЕ ОБСЛУЖИВАНИЕ И РЕМОНТ

РАБОТЫ, ВЫПОЛНЯЕМЫЕ НА АВТОМОБИЛЕ



J3B12C04
Показать иллюстрациюПеревод текста в иллюстрациях


Штанга стабилизатора и изоляторы штанги стабилизатора

Порядок снятия

  1. Приподнимите автомобиль и установите его на предусмотренные для этого опоры.
  2. Отверните гайку крепления штанги стабилизатора к стойке стабилизатора
  3. Снимите поперечину. См. в этой части раздел "Поперечина в сборе" .


  4. J3B12C05
    Показать иллюстрациюПеревод текста в иллюстрациях


  5. Извлеките болты скоб крепления штанги стабилизатора к поперечине.
  6. Снимите с автомобиля штангу стабилизатора, хомуты изоляторов штанги и изоляторы.


J3B12C05
Показать иллюстрациюПеревод текста в иллюстрациях


Порядок установки

  1. Установите штангу стабилизатора.
  2. Установите скобы изоляторов штанги стабилизатора, болты скоб штанги и изоляторы на поперечину. Не затягивайте болт.


  3. J3B12C04
    Показать иллюстрациюПеревод текста в иллюстрациях


  4. Установите стойку стабилизатора на штангу стабилизатора и соедините их гайкой крепления штанги к стойке.
  5. Затянуть

  6. Установите передние колеса. См. Часть 2Е. Шины и колеса.


J3B12C02
Показать иллюстрациюПеревод текста в иллюстрациях


Стойка стабилизатора

Порядок снятия

  1. Отверните гайку крепления штанги стабилизатора к стойке стабилизатора
  2. Отверните гайку крепления стойки стабилизатора к телескопической стойке в сборе.
  3. Снимите стойку стабилизатора.


J3B12C03
Показать иллюстрациюПеревод текста в иллюстрациях


Порядок установки

  1. Установите стойку стабилизатора.
  2. Установите гайку крепления стойки стабилизатора к телескопической стойке в сборе.
  3. Затянуть
    Затяните гайку крепления стойки стабилизатора к телескопической стойке в сборе до достижения момента 47 Н•м (35 фунт-фут).

  4. Установите гайку крепления штанги стабилизатора к стойке стабилизатора.
  5. Затянуть
    Затяните гайку крепления штанги стабилизатора к стойке стабилизатора до достижения момента 47 Н•м (35 фунт-фут).



J3B12C06
Показать иллюстрациюПеревод текста в иллюстрациях


Поворотный кулак в сборе

Необходимое оборудование

Съемник для шаровых шарниров KM-507-B.

Порядок снятия

  1. Приподнимите автомобиль и установите его на предусмотренные для этого опоры.
  2. Снимите колесо. См. Часть 2Е. Шины и колеса.
  3. Отверните самоконтрящуюся гайку с полуоси.


  4. J3B12C07
    Показать иллюстрациюПеревод текста в иллюстрациях


  5. Снимите с тормозного диска суппорт. Обоприте суппорт таким образом, чтобы он не висел на гидравлическом шланге тормоза. См. Часть 4D. Передние дисковые тормоза.
  6. Отсоедините крайнюю рулевую тягу от поворотного кулака в сборе. См. Часть 6C. Рулевой механизм с усилителем.
  7. На автомобилях, оборудованных антиблокировочной тормозной системой (АБС), необходимо разъединить на поворотном кулаке электрический разъем датчика скорости АБС.


  8. J3B12C08
    Показать иллюстрациюПеревод текста в иллюстрациях


  9. Снимите стяжной болт и гайку шарового шарнира.


  10. J3B12C09
    Показать иллюстрациюПеревод текста в иллюстрациях


  11. Отделите поворотный кулак от шарового шарнира с помощью съемника для шаровых шарниров km-507-b.


  12. J3B12C10
    Показать иллюстрациюПеревод текста в иллюстрациях


  13. Отверните гайки с болтов крепления поворотного кулака к телескопической стойке.


  14. J3B12C11
    Показать иллюстрациюПеревод текста в иллюстрациях


    Примечание: Не тяните слишком сильно за ось. Если слишком сильно тянуть за ось при отсоединении, то это может привести к разъединению внутренних элементов и, возможно, к повреждению соединения. При выполнении работ на ведущих осях или вблизи них, используйте защитные втулки уплотнений соединений ведущих осей. Если этого не делать, то возможно повреждение внутренних соединений или уплотнений и, в результате, выход соединения из строя.

  15. Установите ведущую ось на опору.
  16. Отделите вал ведущей оси от ступицы колеса.
  17. Извлеките болты крепления поворотного кулака к телескопической стойке.
  18. Снимите поворотный кулак в сборе с автомобиля.


J3B12C10
Показать иллюстрациюПеревод текста в иллюстрациях


Порядок установки

  1. Установите поворотный кулак в сборе на автомобиль.
  2. Установите гайки крепления поворотного кулака к телескопической стойке.
  3. Затянуть
    Затяните гайки крепления поворотного кулака к телескопической стойке до достижения момента 120 Н•м (89 фунт-фут).

  4. Соедините ведущую ось со ступицей переднего колеса.


  5. J3B12C08
    Показать иллюстрациюПеревод текста в иллюстрациях


  6. Присоедините шаровой шарнир к поворотному кулаку в сборе.
  7. Установите стяжной болт и гайку шарового шарнира.
  8. Затянуть
    Затяните гайку стяжного болта шарового шарнира до достижения момента 60 Н•м (44 фунт-фут).



    J3B12C07
    Показать иллюстрациюПеревод текста в иллюстрациях


  9. Подключите электрический разъем датчика скорости АБС.


  10. J3B12C06
    Показать иллюстрациюПеревод текста в иллюстрациях


  11. Присоедините крайнюю рулевую тягу к поворотному кулаку. См. Часть 6C. Рулевой механизм с усилителем.
  12. Установите суппорт на тормозной диск. См. Часть 4D. Передние дисковые тормоза.
  13. Установите на полуось самоконтрящуюся гайку.
  14. Затянуть
    Затяните самоконтрящуюся гайку крепления ведущей оси к ступице до достижения момента 300 Н•м (221 фунт-фут).

  15. Установите колесо. См. Часть 2Е. Шины и колеса.
  16. Опустите автомобиль.


J3B12C12
Показать иллюстрациюПеревод текста в иллюстрациях


Ступица и подшипник

Необходимое оборудование

Шестигранная гайка 500-20
Нажимной винт J-36661-2
Опорная скоба J-37105-B-1
Переходник подшипников J-37105-B-2
Переходник ступицы J-377105-B-3

Порядок снятия

  1. Отсоедините ведущую ось от ступицы переднего колеса. См. в этой части раздел "Поворотный кулак в сборе" .
  2. Снимите внутреннее стопорное кольцо.


  3. J3B12C13
    Показать иллюстрациюПеревод текста в иллюстрациях


  4. Снимите ступицу колеса, пользуясь опорной скобой j-37105-b-1, переходником ступицы j-377105-b-3, шестигранной гайкой 500-20 и нажимным винтом j-36661-2.


  5. J3B12C14
    Показать иллюстрациюПеревод текста в иллюстрациях


  6. Снимите щит тормоза. См. Часть 4D. Передние дисковые тормоза.
  7. Снимите наружное стопорное кольцо.


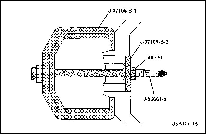
  8. J3B12C15
    Показать иллюстрациюПеревод текста в иллюстрациях


  9. Снимите подшипник колеса, пользуясь опорной скобой j-37105-b-1, переходником подшипника j-37105-b-2, шестигранной гайкой 500-20 и нажимным винтом j-36661-2.
  10. Очистите отверстие в поворотном кулаке.


J3B12C16
Показать иллюстрациюПеревод текста в иллюстрациях


Порядок установки

  1. Установите внутреннее стопорное кольцо и запрессуйте колесный подшипник на место, пользуясь опорной скобой j-37105-b-1, переходником подшипника j-37105-b-2, шестигранной гайкой 500-20 и нажимным винтом j-36661-2.


  2. J3B12C17
    Показать иллюстрациюПеревод текста в иллюстрациях


  3. Установите щит тормоза. См. Часть 4D. Передние дисковые тормоза.
  4. Установите внутреннее стопорное кольцо.
  5. Запрессуйте ступицу колеса на место, пользуясь опорной скобой j-37105-b-3, переходником подшипника j-37105-b-2, шестигранной гайкой 500-20 и нажимным винтом j-36661-2
  6. Установите ведущую ось в ступицу переднего колеса. См. в этой части раздел "Поворотный кулак и телескопическая стойка в сборе" .


J3B12C08
Показать иллюстрациюПеревод текста в иллюстрациях


Рычаг

Необходимое оборудование

Съемник для шаровых шарниров KM-507-B.

Порядок снятия

  1. Приподнимите автомобиль и установите его на предусмотренные для этого опоры. Оставьте рычаги свободно висящими.
  2. Снимите колесо. См. Часть 2Е. Шины и колеса.
  3. Снимите с шарового шарнира стяжной болт и гайку.
  4. Если вы работаете на правой стороне автомобиля, то снимите подвеску двигателя.


  5. J3B12C09
    Показать иллюстрациюПеревод текста в иллюстрациях


  6. Отсоедините шаровой шарнир от поворотного кулака с помощью съемника шаровых шарниров km-507-b.


  7. J3B12C18
    Показать иллюстрациюПеревод текста в иллюстрациях


  8. Извлеките болты крепления рычага к поперечине.
  9. Снимите рычаг с автомобиля.


J3B12C18
Показать иллюстрациюПеревод текста в иллюстрациях


Порядок установки

  1. Установите рычаг.
  2. Установите болты крепления рычага к поперечине. Не затягивайте болты.


  3. J3B12C08
    Показать иллюстрациюПеревод текста в иллюстрациях


  4. Подсоедините шаровой шарнир к поворотному кулаку.
  5. Установите стяжной болт и гайку шарового шарнира.
  6. Затянуть
    Затяните гайку стяжного болта шарового шарнира до достижения момента 60 Н•м (44 фунт-фут).



    J3B12C19
    Показать иллюстрациюПеревод текста в иллюстрациях


  7. Установите болты крепления рычага к поперечине.
  8. Затянуть

  9. Установите колесо. См. Часть 2Е. Шины и колеса.
  10. Опустите автомобиль.


J3B12C20
Показать иллюстрациюПеревод текста в иллюстрациях


Телескопическая стойка в сборе

Порядок снятия

  1. Снимите верхний колпак и гайку стойки.


  2. J3B12C10
    Показать иллюстрациюПеревод текста в иллюстрациях


  3. Приподнимите автомобиль и установите его на предусмотренные для этого опоры.
  4. Снимите колесо. См. Часть 2Е. Шины и колеса.
  5. На автомобилях, оборудованных антиблокировочной тормозной системой (АБС), необходимо отсоединить шланг АБС от телескопической стойки.
  6. Снимите тормозной шланг с кронштейна на телескопической стойке.


  7. J3B12C03
    Показать иллюстрациюПеревод текста в иллюстрациях


  8. Отсоедините стойку штанги стабилизатора, отвернув гайку крепления стойки к стабилизатору.


  9. J3B12C22
    Показать иллюстрациюПеревод текста в иллюстрациях


  10. Отсоедините поворотный кулак, сняв гайки и болты креплений поворотного кулака к телескопической стойке.


  11. J3B12C23
    Показать иллюстрациюПеревод текста в иллюстрациях


  12. Снимите телескопическую стойку в сборе.


J3B12C23
Показать иллюстрациюПеревод текста в иллюстрациях


Порядок установки

  1. Установите телескопическую стойку в сборе


  2. J3B12C24
    Показать иллюстрациюПеревод текста в иллюстрациях


  3. Присоедините телескопическую стойку к поворотному кулаку с помощью гаек и болтов креплений поворотного кулака к стойке.
  4. Затянуть
    Затяните гайки и болты креплений поворотного кулака к стойке до достижения момента 120 Н•м (89 фунт-фут).



    J3B12C03
    Показать иллюстрациюПеревод текста в иллюстрациях


  5. Присоедините стойку штанги стабилизатора к телескопической стойке с помощью крепежной гайки.
  6. Затянуть
    Затяните гайку крепления стойки стабилизатора к телескопической стойке в сборе до достижения момента 47 Н•м (35 фунт-фут).

  7. Закрепите тормозной шланг на кронштейне телескопической стойки.
  8. На автомобилях, оборудованных антиблокировочной тормозной системой (АБС), необходимо подсоединить шланг АБС к телескопической стойке.


  9. J3B12C20
    Показать иллюстрациюПеревод текста в иллюстрациях


  10. Установите колесо. См. Часть 2Е. Шины и колеса.
  11. Опустите автомобиль.
  12. Установите гайки креплений телескопической стойки к кузову.
  13. Затянуть
    Затяните гайки креплений телескопической стойки к кузову до достижения момента 65 Н•м (48 фунт-фут).



J3B12C04
Показать иллюстрациюПеревод текста в иллюстрациях


Поперечина в сборе

Порядок снятия

  1. Приподнимите автомобиль и установите его на предусмотренные для этого опоры.
  2. Снимите колеса. См. Часть 2Е. Шины и колеса.
  3. Снимите гайки и болты с кронштейнов крепления рулевого механизма.
  4. Извлеките болт крепления возвратного шланга к поперечине.
  5. Снимите трубу выпускной системы, находящуюся перед каталитическим нейтрализатором выхлопных газов. См. Часть 1G. Выпускная система двигателя.
  6. Отсоедините рулевую тягу от поворотного кулака. См. Часть 6C. Рулевой механизм с усилителем.
  7. Отсоедините шаровой шарнир от поворотного кулака. См. в этой части раздел "Поворотный кулак в сборе" .
  8. Отсоедините стойку стабилизатора от телескопической стойки. См. в этой части раздел "Стойка стабилизатора"
  9. Снимите гайку крепления соединительного звена поперечины к кронштейну коробки передач и главной передачи в сборе.
    1. Снимите правую нижнюю подвеску двигателя.
    2. Снимите задний кронштейн крепления коробки передач.


    J3B12C08
    Показать иллюстрациюПеревод текста в иллюстрациях


  10. Извлеките задние болты крепления поперечины к кузову.


  11. J3B12C26
    Показать иллюстрациюПеревод текста в иллюстрациях


    Внимание! Необходимо, чтобы при извлечении передних болтов крепления два механика удерживали переднюю часть поперечины, а под поперечину должна быть установлена подходящая домкратная стойка. Отсутствие опоры под передней частью поперечины может стать причиной получения травмы.

  12. Извлеките передние болты крепления поперечины к кузову.
  13. Снимите поперечину в сборе с автомобиля.


J3B12C26
Показать иллюстрациюПеревод текста в иллюстрациях


Порядок установки

  1. Установите поперечину в сборе на автомобиль.
  2. Установите задние болты крепления поперечины к кузову.
  3. Затянуть
    Затяните задние болты крепления поперечины к кузову до достижения момента 196 Н•м (145 фунт-фут).

  4. Установите передние болты крепления поперечины к кузову.
  5. Затянуть
    Затяните передние болты крепления поперечины к кузову до достижения момента 130 Н•м (96 фунт-фут).



    J3B12C08
    Показать иллюстрациюПеревод текста в иллюстрациях


  6. Установите болты и гайки на кронштейны крепления рулевого механизма.
  7. Установите болт крепления возвратного шланга к поперечине. См. Часть 6C. Рулевой механизм с усилителем.


  8. J3B12C04
    Показать иллюстрациюПеревод текста в иллюстрациях


  9. Установите гайку крепления соединительного звена поперечины к кронштейну коробки передач и главной передачи в сборе.
  10. Затянуть
    Затяните гайку крепления соединительного звена поперечины к кронштейну коробки передач и главной передачи в сборе до достижения момента 169 Н•м (125 фунт-фут).

  11. Подсоедините стойку стабилизатора к телескопической стойке. См. в этой части раздел "Стойка стабилизатора"
  12. Присоедините шаровой шарнир к поворотному кулаку в сборе. См. в этой части раздел "Поворотный кулак в сборе" .
  13. Подсоедините рулевую тягу к поворотному кулаку. См. Часть 6C. Рулевой механизм с усилителем.
  14. Установите на автомобиль трубу выпускной системы. См. Часть 1G. Выпускная система двигателя.
  15. Установите колеса. См. Часть 2Е. Шины и колеса.
  16. Опустите автомобиль.

РЕМОНТ АГРЕГАТА



J3B12C27
Показать иллюстрациюПеревод текста в иллюстрациях


Шаровой шарнир

Порядок разборки

  1. Снимите рычаг. См. в этой части раздел "Рычаг" .
  2. Высверлите головки двух заклепок сверлом 12 мм (0,47 дюйма).
  3. Выбейте заклепки пробойником.


J3B12C28
Показать иллюстрациюПеревод текста в иллюстрациях


Порядок сборки

  1. Присоедините шаровой шарнир к рычагу, вставив для этого из-под рычага два болта шарового шарнира.
  2. Затянуть
    Затяните гайки крепления шарового шарнира к рычагу до достижения момента 100 Н•м (74 фунт-фут).

  3. Установите рычаг. См. в этой части раздел "Рычаг" .


J3B12C29
Показать иллюстрациюПеревод текста в иллюстрациях


Втулки рычага

Необходимое оборудование

Съемник KM-158

Порядок разборки

  1. Снимите рычаг. См. в этой части раздел "Рычаг" .
  2. Извлеките из задней втулки рычага разрезные втулки.


  3. J3B12C30
    Показать иллюстрациюПеревод текста в иллюстрациях


  4. Выпрессуйте заднюю втулку рычага с помощью пресса и съемника km-158.


J3B12C30
Показать иллюстрациюПеревод текста в иллюстрациях


Порядок сборки

  1. Запрессуйте в рычаг заднюю втулку с помощью пресса и съемника km-158.


  2. J3B12C29
    Показать иллюстрациюПеревод текста в иллюстрациях


  3. Установите в заднюю втулку рычага разрезные втулки.
  4. Установите рычаг. См. в этой части раздел "Рычаг" .


J3B12C31
Показать иллюстрациюПеревод текста в иллюстрациях


Телескопическая стойка передней подвески в сборе

Необходимое оборудование

Приспособление для сжатия пружин KM-329-A
Ключ для гайки опоры телескопической стойки передней подвески J-42468

Порядок разборки

  1. Снимите телескопическую стойку в сборе. См. в этой части раздел "Телескопическая стойка в сборе" .
  2. Закрепите телескопическую стойку в сборе в приспособлении для сжатия пружин (dw320-010 или km-329-a). Обеспечьте надежную установку захватов на пружине.
  3. С помощью приспособления сожмите пружину стойки передней подвески.


  4. J3B12D29
    Показать иллюстрациюПеревод текста в иллюстрациях


  5. Удерживая гаечным ключом резьбовой шток, отверните гайку штока и снимите шайбу, воспользовавшись имеющимся в продаже двойным накидным гаечным ключом небольшой длины..


  6. J3B12C33
    Показать иллюстрациюПеревод текста в иллюстрациях


    Важно: Запишите, как расположен центратор пружины передней подвески по отношению к кронштейну крепления телескопической сборки к поворотному кулаку. При сборе установите центратор пружины передней подвески в этом же положении.

  7. Снимите верхнюю опору телескопической стойки, кронштейн опоры, верхнюю опорную чашку пружины, верхний изолятор пружины и буфер с отверстием.
  8. Отпустите пружину.
  9. Извлеките пружину и нижний кольцевой изолятор пружины..


J3B12C33
Показать иллюстрациюПеревод текста в иллюстрациях


Порядок сборки

  1. Установите нижний кольцевой изолятор пружины и пружину.
  2. Сожмите пружину с помощью приспособления для сжатия пружин km-329-a.
  3. Установите буфер с отверстием, верхний кольцевой изолятор, центратор пружины передней подвески, верхнюю опорную чашку пружины, верхнюю опору телескопической стойки и подшипник опоры. Проследите за тем, чтобы верхняя опорная чашка пружины зафиксировалась на центраторе пружины.


  4. J3B12D29
    Показать иллюстрациюПеревод текста в иллюстрациях


  5. Установите гайку крепления штока.
  6. Затянуть
    Затяните гайку крепления штока до достижения момента 75 Н•м (55 фунт-фут).

  7. Отпустите пружину в приспособлении для сжатия km-329-a.

Поворотный кулак

Порядок разборки

  1. Снимите поворотный кулак в сборе с автомобиля. См. в этой части раздел "Поворотный кулак в сборе" .
  2. Снимите тормозной диск. См. Часть 4D. Передние дисковые тормоза.
  3. Снимите ступицу и подшипник в сборе. См. в этой части раздел "Ступица и подшипник" .
  4. Снимите грязезащитный щит тормоза. См. Часть 4D. Передние дисковые тормоза.

Порядок сборки

  1. Установите грязезащитный щит тормоза. См. Часть 4D. Передние дисковые тормоза.
  2. Установите ступицу и подшипник в сборе. См. в этой части раздел "Ступица и подшипник" .
  3. Установите тормозной диск. См. Часть 4D. Передние дисковые тормоза.
  4. Установите поворотный кулак в сборе на автомобиль. См. в этой части раздел "Поворотный кулак в сборе" .

ОБЩЕЕ ОПИСАНИЕ И ФУНКЦИОНИРОВАНИЕ СИСТЕМ

Передняя подвеска

Передняя подвеска данного автомобиля представляет собой комбинацию телескопической стойки в сборе и поворотного кулака в сборе. Телескопическая стойка в сборе состоит из буфера хода сжатия телескопической стойки и пружины, установленных на кузове автомобиля. Верхний конец стойки изолирован с помощью резиновой опоры и включает в себя подшипник, дающий стойке возможность вращаться. Поворотный кулак прикреплен к телескопической стойке и поворачивается на шаровом шарнире, прикрепленном к рычагу болтами. Рычаги поворачиваются относительно кузова в резиновых втулках.
Шаровой шарнир прикреплен к поворотному кулаку с помощью стяжного болта и гайки, а нижний рычаг - с помощью заклепок. Штанга стабилизатора соединяет обе телескопических стойки автомобиля с помощью стоек стабилизаторов и прикреплена к поперечине передней подвески. Движения, возникающие при толчках и обратном ходе одного из колес, частично передаются на противоположное колесо автомобиля, чтобы уменьшить крен кузова.
При обслуживании креплений рычагов к кузову и изоляторов, расположенных между штангой стабилизатора и кузовом, следите за тем, чтобы крепежные болты были отпущены до тех пор, пока рычаги не встанут в положение, при котором высота кузова относительно колес не станет равной высоте, занимаемой кузовом полностью заправленного и оборудованного автомобиля. Эта высота соответствует нормальному положению рычагов, которое они занимают, когда автомобиль стоит на земле. См. в этой части раздел "Общие технические характеристики" .
Пружины передней подвески автомобилей, оборудованных двигателями группы II, более сильные, а буферы хода сжатия телескопической стойки более массивные, если сравнивать с пружинами и буферами передней подвески автомобилей, оборудованных двигателями группы I.


На предыдущую страницуНа следующую страницу
https://vnx.su/ 🛠 Руководства по ремонту и эксплуатации для автомобилей

Поиск по сайту

Остались вопросы или пожелания? Пишите на почту: support@vnx.su

Карта Сайта