К началу документа
Nubira-Lacetti
На предыдущую страницуНа следующую страницу
Главная страница GMDEЗагрузить нединамическое оглавлениеЗагрузить динамическое оглавлениеПомощь

Диагностический код неисправности p1504

Отсутствует сигнал скорости автомобиля (только с АКПП)

Описание схемы

Контроллер КПП передает данные о скорости автомобиля контроллеру электронной системы управления двигателем (ЭСУД). Эти данные передаются контроллеру ЭСУД по сети связи, называемой контроллерное сетью (CAN). При получении контроллером ЭСУД неверных данных о скорости автомобиля от контроллера КПП устанавливается такой диагностический код неисправности.

Условия появления кода dtc

Условия установки кода неисправности

Действия, выполняемые при установке кода неисправности

Условия очистки кода неисправности/индикации неисправности

dtc p1504 Отсутствует сигнал скорости автомобиля (только с АКПП)

ШагОперацияЗначенияДаНет
1
Вы провели проверку диагностической системы?
-
Перейти к операции 2
Перейти к пункту "Проверка диагностической системы".
2
  1. Включить зажигание при заглушенном двигателе.
  2. Зарегистрировать данные состояния/сбоя с установкой диагностического кода неисправности.
Вы записали сведения о состоянии/сбое контроллера КПП?
-
Перейти к соответствующей таблице диагностических кодов неисправности
Перейти к операции 3
3
  1. Сканирующим прибором сбросить данные о dtc.
  2. Выключите зажигание не менее чем на 30 секунд.
  3. Запустить двигатель и дать ему поработать на холостом ходу.
Код dtc Р1504 показал пропуск зажигания?
-
Перейти к операции 4
См. Непостоянные неисправности"
4
Установились какие-либо коды dtc контроллера КПП или также другой код "U" DTC?
-
Перейти к соответствующей таблице диагностических кодов неисправности
Перейти к операции 5
5
Проверить цепи контроллерной сети (can) в жгуте проводов между контроллером КПП и контроллером ЭСУД на наличие высокого сопротивления или надежность соединения в местах разъемов контроллеров.
Неисправность обнаружена и устранена?
-
Перейти к операции 7
Перейти к операции 6
6
Заменить контроллер ЭСУД.
Замена произведена?
-
Перейти к операции 7
-
7
  1. Сканирующим прибором сбросить коды dtc.
  2. Выключить зажигание на 30 секунд.
  3. Запустите двигатель.
  4. Создать для автомобиля условия появления кода dtc. Можно также создать для автомобиля условия, которые наблюдались на основе зарегистрированных данных о нарушении работы.
Код dtc показал пропуск зажигания?
-
Перейти к операции 2
Перейти к операции 8
8
Проверьте, не установлены ли дополнительные диагностические коды неисправности.
Если ли коды dtc, которые еще не были продиагностированы?
-
Перейти к соответствующей таблице диагностических кодов неисправности
Система в норме

J3B11F26
Показать иллюстрациюПеревод текста в иллюстрациях


Диагностический код неисправности p1610

Главное реле, высокое напряжение в цепи

Описание схемы

В момент, когда переключатель зажигания находится в положении ВКЛ, ЭСУД переключает заземление главного реле на свое внутреннее заземление.
Диагностический код неисправности устанавливается, когда напряжение поднимается выше откалиброванного значения.

Условия появления кода dtc

Условия установки кода неисправности

Действия, выполняемые при установке кода неисправности

Условия очистки кода неисправности/индикации неисправности

Диагностическая информация

Осмотреть разъемы жгутов на отсутствие снятых клемм, плохого соединения, неисправных замков, деформированных или поврежденных клемм, а также слабого соединения клемм с проводами на контроллере ЭСУД.
Осмотреть жгут проводов на наличие повреждений. Если жгут проводов в порядке, проконтролировать индикацию давления системы кондиционирования на сканирующем приборе, перемещая разъемы и жгуты проводов, связанные с датчиком давления системы кондиционирования. Изменение индикации давления в системе кондиционирования укажет на неисправность.
Если диагностический код неисправности Р1610 не сможет быть продублирован, то просмотр записей неисправностей после последнего неудавшейся диагностической проверки, поможет определить, как часто происходило состояние, приводившее к установке диагностического кода неисправности. Это поможет продиагностировать условия.

dtc p1610 Главное реле, высокое напряжение в цепи

ШагОперацияЗначенияДаНет
1
Провести проверку системы диагностики.
Проверка системы завершена?
-
Перейти к операции 2
Перейти к пункту "Проверка диагностической системы".
2
  1. Повернуть ключ зажигания в положение блокировки.
  2. Отсоединить главное реле.
  3. Замерить сопротивление между клеммами 85 и 86 главного реле.
Сопротивление находится в пределах указанного значения?
75~85Ом
Перейти к операции 3
Перейти к операции 8
3
Проверить надежность соединения между клеммой 86, 30 разъема главного реле и положительным выводом аккумулятора.
Проблема найдена?
-
Перейти к операции 4
Перейти к операции 5
4
При необходимости восстановить соединение.
Закончен ли ремонт?
-
Перейти к операции 10
-
5
  1. Отсоединить разъём контроллера электронной системы управления двигателем (ЭСУД).
  2. Проверить замыкание на аккумулятор у провода между клеммой 85 разъема главного реле и клеммой 7 разъема контроллера ЭСУД.
Проблема найдена?
-
Перейти к операции 7
Перейти к операции 6
6
Проверить замыкание на аккумулятор провод между клеммой 87 разъема главного реле и клеммой 66 разъема контроллера ЭСУД.
Проблема найдена?
-
Перейти к операции 7
Перейти к операции 9
7
Отремонтируйте провод, если необходимо.
Закончен ли ремонт?
-
Перейти к операции 10
-
8
Заменить главное реле.
Замена закончена?
-
Перейти к операции 10
-
9
Заменить контроллер ЭСУД.
Замена закончена?
-
Перейти к операции 11
-
10
  1. Используя сканирующий прибор, очистить диагностические коды неисправностей.
  2. Запустить двигатель и дать ему поработать на холостом ходу при нормальной рабочей температуре.
  3. Совершить поездку для установки кодов неисправности, как это указано во вспомогательном тексте.
Сканирующий прибор определяет эту диагностику как прошедшую и успешную?
-
Перейти к операции 11
Перейти к операции 2
11
Проверьте, не установлены ли дополнительные диагностические коды неисправности.
Отображены ли диагностические коды неисправности, которые не были продиагностированы?
-
Перейти к соответствующей таблице диагностических кодов неисправности
Система в норме

J3B11F26
Показать иллюстрациюПеревод текста в иллюстрациях


Диагностический код неисправности p1611

Главное реле, низкое напряжение в цепи

Описание схемы

В момент, когда переключатель зажигания находится в положении ВКЛ, ЭСУД переключает заземление главного реле на свое внутреннее заземление.
Диагностический код неисправности устанавливается, когда напряжение опускается ниже калиброванного значения.

Условия появления кода dtc

Условия установки кода неисправности

Действия, выполняемые при установке кода неисправности

Условия очистки кода неисправности/индикации неисправности

Диагностическая информация

Осмотреть разъемы жгутов на отсутствие снятых клемм, плохого соединения, неисправных замков, деформированных или поврежденных клемм, а также слабого соединения клемм с проводами на контроллере ЭСУД.
Осмотреть жгут проводов на наличие повреждений. Если жгут проводов в порядке, проконтролировать индикацию давления системы кондиционирования на сканирующем приборе, перемещая разъемы и жгуты проводов, связанные с датчиком давления системы кондиционирования. Изменение индикации давления в системе кондиционирования укажет на неисправность.
Если диагностический код неисправности Р1611 не сможет быть продублирован, то просмотр записей неисправностей после последнего неудавшейся диагностической проверки, поможет определить, как часто происходило состояние, приводившее к установке диагностического кода неисправности. Это поможет продиагностировать условия.

dtc p1611 Главное реле, низкое напряжение в цепи

ШагОперацияЗначенияДаНет
1
Провести проверку системы диагностики.
Проверка системы завершена?
-
Перейти к операции 2
Перейти к пункту "Проверка диагностической системы".
2
  1. Повернуть ключ зажигания в положение блокировки.
  2. Отсоединить главное реле.
  3. Замерить сопротивление между клеммами 85 и 86 главного реле.
Сопротивление находится в пределах указанного значения?
75~85Ом
Перейти к операции 3
Перейти к операции 8
3
Проверить надежность соединения между клеммой 86, 30 разъема главного реле и положительным выводом аккумулятора.
Проблема найдена?
-
Перейти к операции 4
Перейти к операции 5
4
При необходимости восстановить соединение.
Закончен ли ремонт?
-
Перейти к операции 10
-
5
  1. Отсоединить разъём контроллера электронной системы управления двигателем (ЭСУД).
  2. Проверить провод на замыкание на массу или обрыв между клеммой 85 разъема главного реле и клеммой 7 разъема контроллера ЭСУД.
Проблема найдена?
-
Перейти к операции 7
Перейти к операции 6
6
Проверить замыкание на массу или обрыв провода между клеммой 87 разъема главного реле и клеммой 66 разъема контроллера ЭСУД.
Проблема найдена?
-
Перейти к операции 7
Перейти к операции 9
7
Отремонтируйте провод, если необходимо.
Закончен ли ремонт?
-
Перейти к операции 10
-
8
Заменить главное реле.
Замена закончена?
-
Перейти к операции 10
-
9
Заменить контроллер ЭСУД.
Замена закончена?
-
Перейти к операции 11
-
10
  1. Используя сканирующий прибор, очистить диагностические коды неисправностей.
  2. Запустить двигатель и дать ему поработать на холостом ходу при нормальной рабочей температуре.
  3. Совершить поездку для установки кодов неисправности, как это указано во вспомогательном тексте.
Сканирующий прибор определяет эту диагностику как прошедшую и успешную?
-
Перейти к операции 11
Перейти к операции 2
11
Проверьте, не установлены ли дополнительные диагностические коды неисправности.
Отображены ли диагностические коды неисправности, которые не были продиагностированы?
-
Перейти к соответствующей таблице диагностических кодов неисправности
Система в норме

J3B11F70
Показать иллюстрациюПеревод текста в иллюстрациях


Диагностический код неисправности p1628

Не устанавливается связь с иммобилизатором

Описание схемы

При включении переключателя зажигания, ключ проверяется противоугонной системой иммобилизатора. При считывании кода ключа блоком управления иммобилизатора или комплексным встроенным блоком управления противоугонного устройства, двигатель может запуститься любым ключом, который поворачивает блокировочный цилиндр. Код ключа считывается и сравнивается с кодами ключей, сохраненными в памяти блока управления иммобилизатором. При определении действительного ключа, блок управления иммобилизатором посылает сообщение с последовательно передаваемыми данными в блок ЭСУД. В исходящее сообщение включается код идентификации для подтверждения, что ни блок управления иммобилизатором, ни блок ЭСУД не были заменены для обхода системы. При получении недействительного сообщения контроллер ЭСУД выполняет следующие действия:

Условия появления кода dtc

Условия установки кода неисправности

Действия, выполняемые при установке кода неисправности

Условия очистки кода неисправности/индикации неисправности

dtc p1628 Не устанавливается связь с иммобилизатором

ШагОперацияЗначенияДаНет
1
Провести проверку системы диагностики.
Проверка системы завершена?
-
Перейти к операции 2
Перейти к пункту "Проверка диагностической системы".
2
  1. Выключить зажигание.
  2. Подключить сканирующий прибор к колодке диагностики.
  3. Включить зажигание.
  4. В меню сканирующего прибора выбрать immobilizer diagnosis status (СОСТОЯНИЕ ДИАГНОСТИКИ ИММОБИЛИЗАТОРА)
Установлена ли связь между сканирующим инструментом и блоком управления иммобилизатора.
-
Перейти к операции 3
См. раздел 9Т2, Противоугонная система с иммобилизатором
3
  1. Выключить зажигание.
  2. Отсоединить разъемы блока управления иммобилизатора и контроллера ЭСУД.
  3. Замерить сопротивление между клеммами 6 блока управления иммобилизатора и клеммой 56 контроллера ЭСУД.
Сопротивление в пределах установленного значения?
0 Ом
Перейти к операции 5
Перейти к операции 4
4
Устранить разрыв цепи между клеммами 6 блока управления иммобилизатора и клеммой 56 контроллера ЭСУД.
Закончен ли ремонт?
-
Перейти к операции 8
-
5
Проверить клеммы на блоке управления иммобилизатора и ЭСУД на отсутствие повреждений и устранить неисправность при необходимости.
Закончен ли ремонт?
-
Перейти к операции 8
Перейти к операции 6
6
Заменить блок управления иммобилизатора.
Закончен ли ремонт?
-
Перейти к операции 8
Перейти к операции 7
7
  1. Выключить зажигание.
  2. Заменить контроллер ЭСУД.
Закончен ли ремонт?
-
Перейти к операции 8
-
8
  1. Используя сканирующий прибор, очистить диагностические коды неисправностей.
  2. Запустить двигатель и дать ему поработать на холостом ходу при нормальной рабочей температуре.
  3. Совершить поездку для установки кодов неисправности, как это указано во вспомогательном тексте.
Сканирующий прибор определяет эту диагностику как прошедшую и успешную?
-
Перейти к операции 9
Перейти к операции 2
9
Проверьте, не установлены ли дополнительные диагностические коды неисправности.
Отображены ли диагностические коды неисправности, которые не были продиагностированы?
-
Перейти к соответствующей таблице диагностических кодов неисправности
Система в норме

J3B11F70
Показать иллюстрациюПеревод текста в иллюстрациях


Диагностический код неисправности p1629

Неправильное вычисление иммобилизатора

Описание схемы

При включении переключателя зажигания, ключ проверяется противоугонной системой иммобилизатора. При считывании кода ключа блоком управления иммобилизатора или комплексным встроенным блоком управления противоугонного устройства, двигатель может запуститься любым ключом, который поворачивает блокировочный цилиндр. Код ключа считывается и сравнивается с кодами ключей, сохраненными в памяти блока управления иммобилизатором. При определении действительного ключа, блок управления иммобилизатором посылает сообщение с последовательно передаваемыми данными в блок ЭСУД. В исходящее сообщение включается код идентификации для подтверждения, что ни блок управления иммобилизатором, ни блок ЭСУД не были заменены для обхода системы. При получении недействительного сообщения контроллер ЭСУД выполняет следующие действия:
Диагностический код неисправности будет сохранен при отказе связи между блоком ЭСУД и блоком управления иммобилизатора.

Условия появления кода dtc

Условия установки кода неисправности

Действия, выполняемые при установке кода неисправности

Условия очистки кода неисправности/индикации неисправности

dtc p1629 Неправильное вычисление иммобилизатора

ШагОперацияЗначенияДаНет
1
Провести проверку системы диагностики.
Проверка системы завершена?
-
Перейти к операции 2
Перейти к пункту "Проверка диагностической системы".
2
  1. Выключить зажигание.
  2. Подключить сканирующий прибор к колодке диагностики.
  3. Включить зажигание.
  4. В меню сканирующего прибора выбрать immobilizer diagnosis status (СОСТОЯНИЕ ДИАГНОСТИКИ ИММОБИЛИЗАТОРА)
Установлена ли связь между сканирующим инструментом и блоком управления иммобилизатора.
-
Перейти к операции 3
См. раздел 9Т2, Противоугонная система с иммобилизатором
3
  1. Выключить зажигание.
  2. Отсоединить разъемы блока управления иммобилизатора и контроллера ЭСУД.
  3. Замерить сопротивление между клеммами 6 блока управления иммобилизатора и клеммой 56 контроллера ЭСУД.
Сопротивление в пределах установленного значения?
0 Ом
Перейти к операции 5
Перейти к операции 4
4
Устранить разрыв цепи между клеммами 6 блока управления иммобилизатора и клеммой 56 контроллера ЭСУД.
Закончен ли ремонт?
-
Перейти к операции 8
-
5
Проверить клеммы на блоке управления иммобилизатора и ЭСУД на отсутствие повреждений и устранить неисправность при необходимости.
Закончен ли ремонт?
-
Перейти к операции 8
Перейти к операции 6
6
Заменить блок управления иммобилизатора.
Закончен ли ремонт?
-
Перейти к операции 8
Перейти к операции 7
7
  1. Выключить зажигание.
  2. Заменить контроллер ЭСУД.
Закончен ли ремонт?
-
Перейти к операции 8
-
8
  1. Используя сканирующий прибор, очистить диагностические коды неисправностей.
  2. Запустить двигатель и дать ему поработать на холостом ходу при нормальной рабочей температуре.
  3. Совершить поездку для установки кодов неисправности, как это указано во вспомогательном тексте.
Сканирующий прибор определяет эту диагностику как прошедшую и успешную?
-
Перейти к операции 9
Перейти к операции 2
9
Проверьте, не установлены ли дополнительные диагностические коды неисправности.
Отображены ли диагностические коды неисправности, которые не были продиагностированы?
-
Перейти к соответствующей таблице диагностических кодов неисправности
Система в норме

J5B11F11
Показать иллюстрациюПеревод текста в иллюстрациях


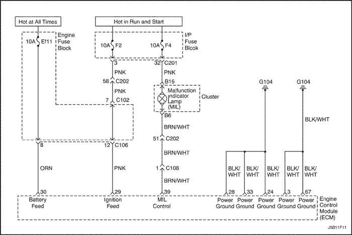
Диагностический код неисправности p1650

Лампа индикации неисправности, высокое напряжение в цепи

Описание схемы

При включении зажигания, контрольная лампа индикации неисправности горит постоянно.
При холодном пуске двигателя, контрольная лампа выключается, мигнув один раз.
При наличии каких-либо неисправностей в системе, контрольная лампа загорается.

Условия появления кода dtc

Условия установки кода неисправности

Действия, выполняемые при установке кода неисправности

Условия очистки кода неисправности/индикации неисправности

Диагностическая информация

Неустойчивая неисправность может быть вызвана слабым контактом, перетертой изоляции или обрывом проводки под изоляцией.
Любая цепь, подозреваемая на создание неустойчивой неисправности, должна быть тщательно проверена на следующие обстоятельства.

dtc p1650 - Лампа индикации неисправности, высокий уровень сигнала

ШагОперацияЗначенияДаНет
1
Провести проверку системы диагностики.
Проверка системы завершена?
-
Перейти к операции 2
Перейти к пункту "Проверка диагностической системы".
2
  1. Повернуть ключ зажигания в положение блокировки.
  2. Отсоединить разъем проводки блока лампы.
  3. При помощи контрольной лампы, подключенной к массе, проверить цепь зажигания на клемме В15 в разъеме жгута.
Сопротивление в пределах установленного значения?
0 Ом
Перейти к операции 3
Перейти к операции 6
3
  1. Повернуть ключ зажигания в положение блокировки.
  2. При помощи контрольной лампы, подключенной к массе, проверить цепь управления лампы индикации неисправности по клемме 39 разъема контроллера ЭСУД.
Контрольная лампа горит?
-
Перейти к операции 4
-
4
  1. Повернуть ключ зажигания в положение блокировки.
  2. Заменить блок.
Замена закончена?
-
Перейти к операции 6
-
5
Устранить короткое замыкание на "массу" между клеммой 39 разъема электропроводки контроллера ЭСУД и клеммой 6 разъема проводки блока лампы.
Закончен ли ремонт?
-
Перейти к операции 6
-
6
  1. Используя сканирующий прибор, очистить диагностические коды неисправностей.
  2. Запустить двигатель и дать ему поработать на холостом ходу при нормальной рабочей температуре.
  3. Совершить поездку для установки кодов неисправности, как это указано во вспомогательном тексте.
Сканирующий прибор определяет эту диагностику как прошедшую и успешную?
-
Перейти к операции 7
Перейти к операции 2
7
Проверьте, не установлены ли дополнительные диагностические коды неисправности.
Отображены ли диагностические коды неисправности, которые не были продиагностированы?
-
Перейти к соответствующей таблице диагностических кодов неисправности
Система в норме

J3B11F30
Показать иллюстрациюПеревод текста в иллюстрациях


Диагностический код неисправности p2101

Неисправность цепи привода заряда на холостом ходу

Описание схемы

Узел привода регулятора холостого хода главной дроссельной заслонки (MTIA) - это корпус дроссельной заслонки с встроенным электроприводом, используемым для управления частотой вращения двигателя на холостом ходу. Контроллер электронной системы управления двигателем (ЭСУД) заставляет привод регулировки холостого хода (ISC) регулировать угол открытия дроссельной заслонки для установления необходимого числа оборотов на холостом ходу. В контроллере ЭСУД используется цепь управления высокого уровня сигнала и цепь управления низкого уровня сигнала, которые управляют приводом ISC. При обнаружении контроллером ЭСУД сбоя в цепях управления приводом ISC устанавливается такой диагностический код неисправности.

Условия появления кода dtc

Условия установки кода неисправности

Либо

Действия, выполняемые при установке кода неисправности

Условия очистки кода неисправности/индикации неисправности

dtc p2101 - Неисправность цепи привода заряда на холостом ходу

ШагОперацияЗначенияДаНет
1
Вы провели проверку диагностической системы?
-
Перейти к операции 2
Перейти к пункту "Проверка диагностической системы".
2
  1. Включить зажигание при заглушенном двигателе.
  2. Проверить данные о dtc сканирующим прибором.
Код dtc p0122, Р0123, Р0222 или Р0223 тоже устанавливается?
-
Перейти к соответствующей таблице диагностических кодов неисправности
Перейти к операции 3
3
  1. Запустите двигатель.
  2. Проверить сканирующим прибором параметр датчика положения привода isc, выжав педаль газа.
Параметр датчика положения привода isc изменяется пр открытии дроссельной заслонки?
-
Перейти к операции 4
Перейти к операции 5
4
  1. Изучить зарегистрированные данные о сбое для данного кода dtc.
  2. Выключить зажигание на 30 секунд.
  3. Запустите двигатель.
  4. Создать для автомобиля условия появления кода dtc. Можно также создать для автомобиля условия, которые наблюдались на основе зарегистрированных данных о нарушении работы.
Код dtc показал пропуск зажигания?
-
Перейти к операции 5
См. Непостоянные неисправности"
5
  1. Включить зажигание при заглушенном двигателе.
  2. Измерить участок от цепи управления высокого уровня сигнала привода isc до надежного источника заземления цифровым универсальным измерительным прибором.
Напряжение выше указанного?
11 В
Перейти к операции 6
Перейти к операции 9
6
Измерить участок от цепи управления низкого уровня сигнала привода isc до надежного источника заземления цифровым универсальным измерительным прибором.
Напряжение выше указанного?
11 В
Перейти к операции 7
Перейти к операции 10
7
Измеряя напряжение в цепи управления высокого уровня сигнала привода isc, переключить цепь коммутации при регулировке холостого хода на надежный источник заземления с помощью проводной перемычки с 3-амперным предохранителем.
Величина напряжения изменяется при установке перемычки?
-
Перейти к операции 8
Перейти к операции 11
8
Измеряя напряжение в цепи управления низкого уровня сигнала привода isc, переключить цепь коммутации при регулировке холостого хода на надежный источник заземления с помощью проводной перемычки с 3-амперным предохранителем.
Величина напряжения изменяется при установке перемычки?
-
Перейти к операции 13
Перейти к операции 12
9
Проверить цепь управления высокого уровня сигнала привода isc на следующее:
  • Обрыв
  • Замыкание на массу
  • Высокое сопротивление
Неисправность обнаружена и устранена?
-
Перейти к операции 19
Перейти к операции 16
10
Проверить цепь управления низкого уровня сигнала привода isc на следующее:
  • Обрыв
  • Замыкание на массу
  • Высокое сопротивление
Неисправность обнаружена и устранена?
-
Перейти к операции 19
Перейти к операции 16
11
Проверить цепь управления высокого уровня сигнала привода isc на замыкание на источник питания.
Неисправность обнаружена и устранена?
-
Перейти к операции 19
Перейти к операции 16
12

Важно: Контроллер электронной системы управления двигателем (ЭСУД) может повредиться, если цепь закоротится на положительный провод аккумулятора.

Проверить цепь управления низкого уровня сигнала привода isc на замыкание на источник питания.
Неисправность обнаружена и устранена?
-
Перейти к операции 19
Перейти к операции 16
13
Проверить цепь управления высокого уровня сигнала привода isc на высокое сопротивление или замыкание на цепь управления низкого уровня сигнала привода isc.
Неисправность обнаружена и устранена?
-
Перейти к операции 19
Перейти к операции 14
14
Проверить цепь управления низкого уровня сигнала привода isc на высокое сопротивление.
Неисправность обнаружена и устранена?
-
Перейти к операции 19
Перейти к операции 15
15
Проверить на наличие замыкания клемм и надежно ли установлены соединения в узле корпуса дроссельной заслонки.
Неисправность обнаружена и устранена?
-
Перейти к операции 19
Перейти к операции 17
16
Проверить, нет ли замыкания на клеммах или ненадежного соединения у контроллера электронной системы управления двигателем (ЭСУД).
Неисправность обнаружена и устранена?
-
Перейти к операции 19
Перейти к операции 18
17
Заменить узел корпуса дроссельной заслонки.
Замена произведена?
-
Перейти к операции 19
-
18
Заменить контроллер ЭСУД.
Замена произведена?
-
Перейти к операции 19
-
19
  1. Сканирующим прибором сбросить коды dtc.
  2. Выключить зажигание на 30 секунд.
  3. Запустите двигатель.
  4. Создать для автомобиля условия появления кода dtc. Можно также создать для автомобиля условия, которые наблюдались на основе зарегистрированных данных о нарушении работы.
Код dtc показал пропуск зажигания?
-
Перейти к операции 2
Перейти к операции 20
20
Проверьте, не установлены ли дополнительные диагностические коды неисправности.
Если ли коды dtc, которые еще не были продиагностированы?
-
Перейти к соответствующей таблице диагностических кодов неисправности
Система в норме

J3B11F30
Показать иллюстрациюПеревод текста в иллюстрациях


Диагностический код неисправности p2118

Механическая ошибка привода заряда на холостом ходу

Описание схемы

Узел привода регулятора холостого хода главной дроссельной заслонки (MTIA) - это корпус дроссельной заслонки с встроенным электроприводом, используемым для управления частотой вращения двигателя на холостом ходу. Контроллер электронной системы управления двигателем (ЭСУД) заставляет привод регулировки холостого хода (ISC) регулировать угол открытия дроссельной заслонки для установления необходимого числа оборотов на холостом ходу. В контроллере ЭСУД используется цепь управления высокого уровня сигнала и цепь управления низкого уровня сигнала, которые управляют приводом ISC. При обнаружении контроллером ЭСУД невозможности установления при фактическом положении привода ISC необходимого его положения устанавливается такой диагностический код неисправности.

Условия появления кода dtc

Условия установки кода неисправности

Либо

Действия, выполняемые при установке кода неисправности

Условия очистки кода неисправности/индикации неисправности

Описание проверки

Нижеприведенный номер относится к номерам этапов из таблицы диагностики.
  1. На этом этапе проверяется наличие высокого сопротивления контрольной цепи сигнала напряжением 5 В датчика положения привода ISC.
  2. На этом этапе проверяется наличие высокого сопротивления цепи управления высокого уровня сигнала привода ISC.
  3. На этом этапе проверяется наличие низкого сопротивления цепи управления высокого уровня сигнала привода ISC.

dtc p2118 - Механическая ошибка привода заряда на холостом ходу

ШагОперацияЗначенияДаНет
1
Вы провели проверку диагностической системы?
-
Перейти к операции 2
Перейти к пункту "Проверка диагностической системы".
2
  1. Включить зажигание при заглушенном двигателе.
  2. Проверить данные о dtc сканирующим прибором.
Код dtc Р0122, Р0123, Р0222, Р0223 или Р2101 тоже устанавливается?
-
Перейти к соответствующей таблице диагностических кодов неисправности
Перейти к операции 3
3
  1. Запустите двигатель.
  2. Проверить сканирующим прибором параметр датчика положения привода isc, выжав педаль газа.
Параметр датчика положения привода isc изменяется пр открытии дроссельной заслонки?
-
Перейти к операции 4
Перейти к операции 5
4
  1. Изучить зарегистрированные данные о сбое для данного кода dtc.
  2. Выключить зажигание на 30 секунд.
  3. Запустите двигатель.
  4. Создать для автомобиля условия появления кода dtc. Можно также создать для автомобиля условия, которые наблюдались на основе зарегистрированных данных о нарушении работы.
Код dtc показал сбой для этого цикла зажигания?
-
Перейти к операции 5
См. Непостоянные неисправности"
5
  1. Выключить зажигание.
  2. Проверить следующее:
    • Проверить корпус дроссельной заслонки на повреждение и/или нарушения
    • На утечку вакуума
    • На ограничение проходимости в системе впуска воздуха
    • На наличие чрезмерных отложений на пластине дроссельной заслонки
    • На наличие чрезмерных отложений в отверстии дроссельной заслонки
    • Ось дроссельной заслонки на прогиб
    • Рычажный механизм или трос дроссельной заслонки на прогиб
    • На правильность установки клапана и шланга системы вентиляции картера
    • На корректность работы клапана системы вентиляции картера
Неисправность обнаружена и устранена?
-
Перейти к операции 17
Перейти к операции 6
6
  1. Выключить зажигание.
  2. Отсоединить разъем жгута проводов корпуса дроссельной заслонки.
  3. Включить зажигание при заглушенном двигателе.

Примечание: Для такой проверки НЕЛЬЗЯ использовать контрольную цепь с низким уровнем сигнала в разъеме жгута проводов компонентов. Повреждение этого блока управления может привести к повышению тока.

  1. Присоединить котрольную лампу между цепью контрольного сигнала напряжением 5В датчика положения привода ISC и надежным источником заземления.
  2. Присоединить цифровой универсальный измерительный прибор к щупу контрольной лампы и надежному источнику заземления.
Напряжение выше указанного?
4,8 В
Перейти к операции 7
Перейти к операции 9
7
  1. Присоединить контрольную лампу между цепью управления высокого уровня сигнала и надежным источником заземления.
  2. Присоединить цифровой универсальный измерительный прибор к щупу контрольной лампы и надежному источнику заземления.
Напряжение выше указанного?
11,5 В
Перейти к операции 8
Перейти к операции 10
8
  1. Присоединить контрольную лампу между цепью управления низкого уровня сигнала и надежным источником заземления.
  2. Присоединить цифровой универсальный измерительный прибор к щупу контрольной лампы и надежному источнику заземления.
Напряжение выше указанного?
10,5 В
Перейти к операции 12
Перейти к операции 11
9
Проверить на наличие высокого сопротивления контрольную цепь сигнала напряжением 5 В датчика положения привода isc.
Неисправность обнаружена и устранена?
-
Перейти к операции 17
Перейти к операции 14
10
Проверить цепь управления высокого уровня сигнала привода isc на высокое сопротивление.
Неисправность обнаружена и устранена?
-
Перейти к операции 17
Перейти к операции 14
11
Проверить цепь управления низкого уровня сигнала привода isc на высокое сопротивление.
Неисправность обнаружена и устранена?
-
Перейти к операции 17
Перейти к операции 14
12
Проверить на наличие высокого сопротивления сигнальную цепь датчика положения привода isc.
Неисправность обнаружена и устранена?
-
Перейти к операции 17
Перейти к операции 13
13
Проверить на наличие непостоянных нарушений и ненадежность соединения узел корпуса дроссельной заслонки.
Неисправность обнаружена и устранена?
-
Перейти к операции 17
Перейти к операции 15
14
Проверить на наличие непостоянных нарушений и непрочных соединений у контроллера ЭСУД.
Неисправность обнаружена и устранена?
-
Перейти к операции 17
Перейти к операции 16
15
Заменить узел корпуса дроссельной заслонки.
Замена произведена?
-
Перейти к операции 17
-
16
Заменить контроллер ЭСУД.
Замена произведена?
-
Перейти к операции 17
-
17
  1. Сканирующим прибором сбросить коды dtc.
  2. Выключить зажигание на 30 секунд.
  3. Запустите двигатель.
  4. Создать для автомобиля условия появления кода dtc. Можно также создать для автомобиля условия, которые наблюдались на основе зарегистрированных данных о нарушении работы.
Код dtc показал сбой такого зажигания?
-
Перейти к операции 2
Перейти к операции 18
18
Проверьте, не установлены ли дополнительные диагностические коды неисправности.
Если ли коды dtc, которые еще не были продиагностированы?
-
Перейти к соответствующей таблице диагностических кодов неисправности
Система в норме

J3B11F30
Показать иллюстрациюПеревод текста в иллюстрациях


Диагностический код неисправности p2119

Функциональная ошибка регулятора холостого хода

Описание схемы

Узел привода регулятора холостого хода главной дроссельной заслонки (MTIA) - это корпус дроссельной заслонки с встроенным электроприводом, используемым для управления частотой вращения двигателя на холостом ходу. Контроллер электронной системы управления двигателем (ЭСУД) заставляет привод регулировки холостого хода (ISC) регулировать угол открытия дроссельной заслонки для установления необходимого числа оборотов на холостом ходу. В контроллере ЭСУД используется цепь управления высокого уровня сигнала и цепь управления низкого уровня сигнала, которые управляют приводом ISC. При обнаружении контроллером ЭСУД превышения значением адаптации показания датчика положения дроссельной заслонки (ТР) или датчика положения регулятора частоты вращения на холостом ходу (ISC) устанавливается такой диагностический код неисправности.

Условия появления кода dtc

Условия установки кода неисправности

Действия, выполняемые при установке кода неисправности

Условия очистки кода неисправности/индикации неисправности

Описание проверки

Нижеприведенный номер относится к номерам этапов из таблицы диагностики.
  1. На этом этапе проверяется наличие высокого сопротивления контрольной цепи сигнала напряжением 5 В датчика положения привода ISC.

dtc p2119 - Функциональная ошибка привода заряда на холостом ходу

ШагОперацияЗначенияДаНет
1
Вы провели проверку диагностической системы?
-
Перейти к операции 2
Перейти к пункту "Проверка диагностической системы".
2
  1. Включить зажигание при заглушенном двигателе.
  2. Проверить данные о dtc сканирующим прибором.
Установился ли также код dtc p0122, p0123, p0222, p0223, p0462, p0463, p0510, p2101 или p2118?
-
Перейти к соответствующей таблице диагностических кодов неисправности
Перейти к операции 3
3
  1. Запустите двигатель.
  2. Проверить сканирующим прибором параметр датчика положения привода isc, выжав педаль газа.
Параметр датчика положения привода isc изменяется пр открытии дроссельной заслонки?
-
Перейти к операции 4
Перейти к операции 5
4
  1. Изучить зарегистрированные данные о сбое для данного кода dtc.
  2. Выключить зажигание на 30 секунд.
  3. Запустите двигатель.
  4. Создать для автомобиля условия появления кода dtc. Можно также создать для автомобиля условия, которые наблюдались на основе зарегистрированных данных о нарушении работы.
Код dtc показал сбой для этого цикла зажигания?
-
Перейти к операции 5
См. Непостоянные неисправности"
5
  1. Выключить зажигание.
  2. Отсоединить разъем жгута проводов корпуса дроссельной заслонки.
  3. Включить зажигание при заглушенном двигателе.

Примечание: Для такой проверки НЕЛЬЗЯ использовать контрольную цепь с низким уровнем сигнала в разъеме жгута проводов компонентов. Повреждение этого блока управления может привести к повышению тока.

  1. Присоединить котрольную лампу между цепью контрольного сигнала напряжением 5В датчика положения привода ISC и надежным источником заземления.
  2. Присоединить цифровой универсальный измерительный прибор к щупу контрольной лампы и надежному источнику заземления.
Напряжение выше указанного?
4,8 В
Перейти к операции 7
Перейти к операции 6
6
Проверить на наличие высокого сопротивления контрольную цепь сигнала напряжением 5 В датчика положения привода isc.
Неисправность обнаружена и устранена?
-
Перейти к операции 11
Перейти к операции 8
7
Проверить на наличие непостоянных нарушений и ненадежность соединения узел корпуса дроссельной заслонки.
Неисправность обнаружена и устранена?
-
Перейти к операции 11
Перейти к операции 9
8
Проверить на наличие непостоянных нарушений и непрочных соединений у контроллера ЭСУД.
Неисправность обнаружена и устранена?
-
Перейти к операции 11
Перейти к операции 10
9
Заменить узел корпуса дроссельной заслонки.
Замена произведена?
-
Перейти к операции 11
-
10
Заменить контроллер ЭСУД.
Замена произведена?
-
Перейти к операции 11
-
11
  1. Сканирующим прибором сбросить коды dtc.
  2. Выключить зажигание на 30 секунд.
  3. Запустите двигатель.
  4. Создать для автомобиля условия появления кода dtc. Можно также создать для автомобиля условия, которые наблюдались на основе зарегистрированных данных о нарушении работы.
Код dtc показал сбой такого зажигания?
-
Перейти к операции 2
Перейти к операции 12
12
Проверьте, не установлены ли дополнительные диагностические коды неисправности.
Если ли коды dtc, которые еще не были продиагностированы?
-
Перейти к соответствующей таблице диагностических кодов неисправности
Система в норме

J6B11F35
Показать иллюстрациюПеревод текста в иллюстрациях


Диагностический код неисправности (dtc) u0101

Отсутствует сообщение контроллера КПП

Описание схемы

Модули, подключенные к цепям последовательной передачи данных о высокой и низкой частоте вращения по сети CAN контролируют последовательную передачу данных в обычном режиме работы. Модули обмениваются между собой рабочей информацией и командами. Модули содержат предварительно записанную информацию о том, какие сообщения необходимы для обмена в цепях последовательной передачи данных для каждой виртуальной сети. Эти сообщения контролируются и, кроме того, некоторые периодические сообщения используются приемным модулем в качестве указания на присутствие передающего модуля. В каждом сообщении содержится идентификационный номер передающего модуля.

Условия появления кода dtc

Условия установки кода неисправности

Действия, выполняемые при установке кода неисправности

Условия очистки кода неисправности/индикации неисправности

Диагностическая информация

Неустойчивая неисправность может быть вызвана слабым контактом, перетертой изоляции или обрывом проводки под изоляцией.
Любая цепь, подозреваемая на создание неустойчивой неисправности, должна быть тщательно проверена на следующие обстоятельства.

dtc u0101 Отсутствует сообщение контроллера КПП

ШагОперацияЗначенияДаНет
1
Провести проверку системы диагностики.
Проверка системы завершена?
-
Перейти к операции 2
Перейти к пункту "Проверка диагностической системы".
2
  1. Повернуть ключ зажигания в положение блокировки.
  2. Подключить сканирующий прибор к колодке диагностики (dlc).
  3. Включить зажигание.
Какие-либо диагностические коды неисправности отображаются?
-
Перейти к операции 3
Попробовать другой сканирующий инструмент.
3
См. соответствующую таблицу диагностических кодов неисправности. Начать с диагностического кода неисправности с наименьшим числовым значением и переходить на код неисправности с большим числовым значением.
Идентифицируется ли код неисправности как действительный код u0101?
-
Перейти к операции 4
Перейти к соответствующей таблице диагностических кодов неисправности
4
  1. Повернуть ключ зажигания в положение блокировки.
  2. Отсоединить контроллер электронной системы управления двигателем (ЭСУД) и контроллер коробки передач (контроллер КПП).
  3. Проверить на обрыв или замыкание на массу провод между клеммой А17 разъема контроллера КПП и клеммой 88 разъема контроллера ЭСУД.
Проблема найдена?
-
Перейти к операции 6
Перейти к операции 5
5
Проверить на обрыв или замыкание на массу провод между клеммой А7 разъема контроллера КПП и клеммой 57 разъема контроллера ЭСУД.
Проблема найдена?
-
Перейти к операции 6
Перейти к операции 7
6
  1. При необходимости заменить неэкранированную витую пару между контроллером КПП и ЭСУД или отремонтировать клемму разъема.
  2. Используя сканирующий прибор, очистить диагностические коды неисправностей.
  3. Запустить двигатель и дать ему поработать на холостом ходу при нормальной рабочей температуре.
  4. Совершить поездку для установки кодов неисправности, как это указано во вспомогательном тексте.
Сканирующий прибор определяет эту диагностику как прошедшую и успешную?
-
Перейти к операции 9
Перейти к операции 2
7
  1. Заменить контроллер КПП.
  2. Используя сканирующий прибор, очистить диагностические коды неисправностей.
  3. Запустить двигатель и дать ему поработать на холостом ходу при нормальной рабочей температуре.
  4. Совершить поездку для установки кодов неисправности, как это указано во вспомогательном тексте.
Сканирующий прибор определяет эту диагностику как прошедшую и успешную?
-
Перейти к операции 9
Перейти к операции 8
8
  1. Заменить контроллер ЭСУД.
  2. Используя сканирующий прибор, очистить диагностические коды неисправностей.
  3. Запустить двигатель и дать ему поработать на холостом ходу при нормальной рабочей температуре.
  4. Совершить поездку для установки кодов неисправности, как это указано во вспомогательном тексте.
Сканирующий прибор определяет эту диагностику как прошедшую и успешную?
-
Перейти к операции 9
-
9
Проверьте, не установлены ли дополнительные диагностические коды неисправности.
Отображены ли диагностические коды неисправности, которые не были продиагностированы?
-
Перейти к соответствующей таблице диагностических кодов неисправности
Система в норме


На предыдущую страницуНа следующую страницу
https://vnx.su/ 🛠 Руководства по ремонту и эксплуатации для автомобилей

Поиск по сайту

Остались вопросы или пожелания? Пишите на почту: support@vnx.su

Карта Сайта