К началу документа
Epica
На предыдущую страницу На следующую страницу
Главная страница GMDE Загрузить нединамическое оглавление Загрузить динамическое оглавление Помощь

РАЗДЕЛ 4F

АНТИБЛОКИРОВОЧНАЯ ТОРМОЗНАЯ СИСТЕМА

Внимание! Отключите отрицательный кабель батаре перед снятием или установкой любых электрических узлов или при возможном контакте инструментов или оборудования с оголенными электрическими клеммами. Отключение кабеля поможет избежать травм и механических поврежений. Зажигание должно быть заблокировано, если не указано иное.

ТЕХНИЧЕСКИЕ ХАРАКТЕРИСТИКИ

Общие технические характеристики

Применение
Агрегат
Описание
Режим АБС
-
4 канала, 4 датчика
Гидравлический модулятор
Рабочее напряжение
В
10 - 16
Число оборотов двигателя
об/мин.
Макс. 5000
Главное реле
Расположение
-
Внутри контроллера тормозной системы
Рабочее напряжение
В
10 - 16
датчик скорости колеса
Рабочее напряжение датчика
В
7.5 - 20
Диапазон частот сигнала
кГц
0 - 2.0
Тормозная жидкость
Тип
-
dot - 4
Производительность
литр
0.67

Моменты затяжки резьбовых соединений

Применение
n•m
lb-ft
lb-in
Гайка фитинга тормозной трубки (гидравлический блок)
16
12
-
Болт кронштейна модуля АБС
10
-
89
Демпфирующие болты к тормозному модулятору в сборе
11
8
-
Болты датчика угловой скорости рысканья к днищу
9
-
80

ПРИНЦИПИАЛЬНЫЕ И МОНТАЖНЫЕ СХЕМЫ

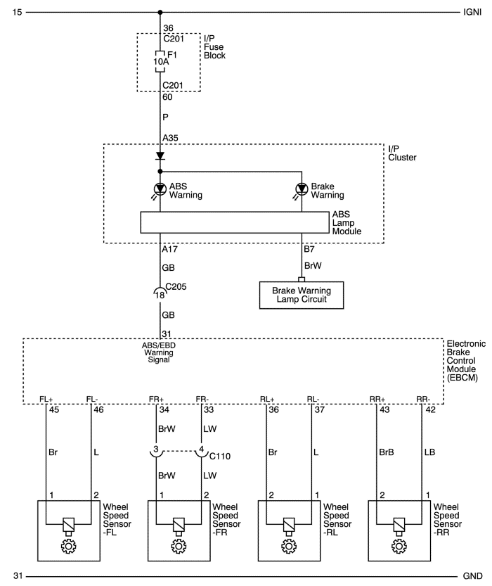
Цепь системы АБС (1) - с esc (mk-60ec)


L8B14F01
Показать иллюстрациюПеревод текста в иллюстрациях


Цепь системы АБС (2) - с esc (mk-60ec)


L8B14F02
Показать иллюстрациюПеревод текста в иллюстрациях


Цепь системы АБС (3) - с esc (mk-60ec)


L8B14F03
Показать иллюстрациюПеревод текста в иллюстрациях


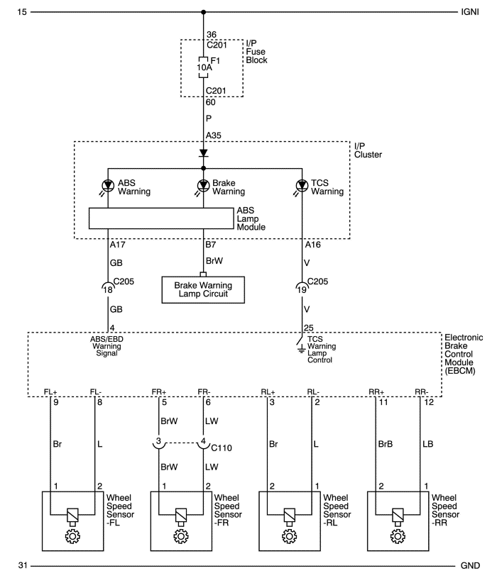
Цепь системы АБС (4) - с abs/tcs (mk-70)


L8B14F04
Показать иллюстрациюПеревод текста в иллюстрациях


Цепь системы АБС (5) - с abs/tcs (mk-70)


L8B14F05
Показать иллюстрациюПеревод текста в иллюстрациях


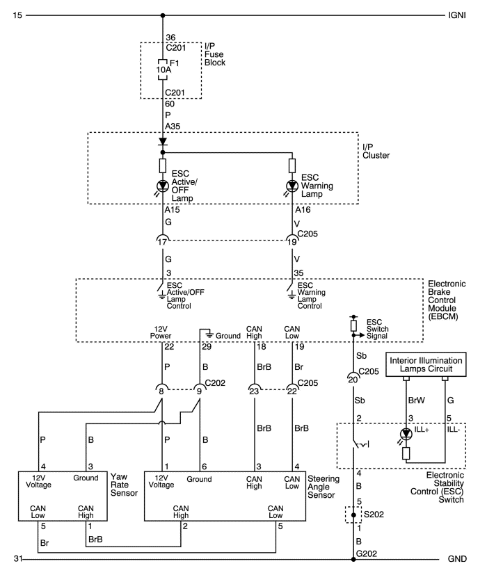
Электрическая схема (1) - с esc (mk-60ec)


L8B14F06
Показать иллюстрациюПеревод текста в иллюстрациях


Электрическая схема (2) - с abs/tcs (mk-70)


L8B14F07
Показать иллюстрациюПеревод текста в иллюстрациях


Вид торца и назначение выводов разъема жгута проводов ebcm - с esc (mk-60ec)


L8B14F08
Показать иллюстрациюПеревод текста в иллюстрациях


Назначение выводов abs - с esc (mk-60ec)

Вывод №
НАЗНАЧЕНИЕ
ТОК 12 В/20°c (АМПЕР)
ДИАПАЗОН НАПРЯЖЕНИЯ (ВОЛЬТ)
МАКС. ПОСЛЕДОВАТЕЛЬНОЕ СОПРОТИВЛЕНИЕ (ОМ)
1
ПИТАНИЕ (МОТОР)
< 30
0 - 18
0.005
2
-
-
-
-
3
ПРЕДУПРЕДИТЕЛЬНАЯ ЛАМПА esc
< 20 м
0 - 18
0.3
4
-
-
-
-
5
-
-
-
-
6
ЛАМПА ТОРМОЗА
< 10 м
0 - 18
0.5
7
-
-
-
-
8
ign1
< 60 м
0 - 18
0.5
9
-
-
-
-
10
ДИАГНОСТИКА ПОСЛЕДОВАТЕЛЬНЫХ ДАННЫХ
100м
0 - 18
0.5
11
gmlan h_out(can h_out)
< 10 м
0 - 18
0.5
12
gmlan h_in(can h_in)
< 10 м
0 - 18
0.5
13
gmlan l_in(can l_in)
< 10 м
0 - 18
0.5
14
gmlan l_out(can l_out)
< 10 м
0 - 18
0.5
15
-
-
-
-
16
МАССА (КЛАПАН)
< 20 м
0
0.3
17
-
-
-
-
18
ДАТЧИК УГЛА ПОВОРОТА РУЛЕВОГО УПРАВЛЕНИЯ (can2_h)
< 10 м
0 - 18
0.5
19
ДАТЧИК УГЛА ПОВОРОТА РУЛЕВОГО УПРАВЛЕНИЯ (can2_l)
< 10 м
0 - 18
0.5
20
-
-
-
-
21
-
-
-
-
22
ПИТАНИЕ КОМБИНАЦИИ ПРИБОРОВ
250м
0 - 18
0.5
23
-
-
-
-
24
-
-
-
-
25
-
-
-
-
26
-
-
-
-
27
-
-
-
-
28
-
-
-
-
29
МАССА КОМБИНАЦИИ ПРИБОРОВ
250м
0
0.5
30
-
-
-
-
31
ПРЕДУПРЕДИТЕЛЬНАЯ ЛАМПА abs/ebd
< 20 м
0 - 18
0.3
32
ПИТАНИЕ (КЛАПАНЫ)
< 20 м
0 - 18
0.005
33
ДАТЧИК СКОРОСТИ ПЕРЕДНЕГО ПРАВОГО КОЛЕСА (МАССА)
3 - 45 м
0
1
34
ДАТЧИК СКОРОСТИ ПЕРЕДНЕГО ПРАВОГО КОЛЕСА (СИГНАЛ)
3 - 45 м
0 - 18
1
35
ЛАМПА ФУНКЦИОНИРОВАНИЯ esc/tcs
< 20 м
0 - 18
0.3
36
ДАТЧИК СКОРОСТИ ЗАДНЕГО ЛЕВОГО КОЛЕСА (СИГНАЛ)
3 - 45 м
0 - 18
1
37
ДАТЧИК СКОРОСТИ ЗАДНЕГО ЛЕВОГО КОЛЕСА (МАССА)
3 - 45 м
0
1
38
ВЫКЛЮЧАТЕЛЬ esc
< 10 м
0 - 18
0.5
39
-
-
-
-
40
-
-
-
-
41
-
-
-
-
42
ДАТЧИК СКОРОСТИ ЗАДНЕГО ПРАВОГО КОЛЕСА (МАССА)
3 - 45 м
0
1
43
ДАТЧИК СКОРОСТИ ЗАДНЕГО ПРАВОГО КОЛЕСА (СИГНАЛ)
3 - 45 м
0 - 18
1
44
-
-
-
-
45
ДАТЧИК СКОРОСТИ ПЕРЕДНЕГО ЛЕВОГО КОЛЕСА (СИГНАЛ)
3 - 45 м
0 - 18
1
46
ДАТЧИК СКОРОСТИ ПЕРЕДНЕГО ЛЕВОГО КОЛЕСА (МАССА)
3 - 45 м
0 - 18
1
47
"МАССА" (ЭЛЕКТРОДВИГАТЕЛЬ)
< 30
0
0.005

Вид торца и назначение выводов разъема жгута проводов ebcm - с abs/tcs (mk-70)


L8B14F09
Показать иллюстрациюПеревод текста в иллюстрациях


Назначение выводов abs - с abs/tcs (mk-70)

Вывод №
НАЗНАЧЕНИЕ
ТОК 12 В/20°c (АМПЕР)
ДИАПАЗОН НАПРЯЖЕНИЯ (ВОЛЬТ)
МАКС. ПОСЛЕДОВАТЕЛЬНОЕ СОПРОТИВЛЕНИЕ (ОМ)
1
ПИТАНИЕ (КЛАПАН)
< 20
0 - 18
0.005
2
ДАТЧИК СКОРОСТИ ЗАДНЕГО ЛЕВОГО КОЛЕСА (МАССА)
3 - 45 м
0
1
3
ДАТЧИК СКОРОСТИ ЗАДНЕГО ЛЕВОГО КОЛЕСА (СИГНАЛ)
3 - 45 м
0 - 18
1
4
ПРЕДУПРЕДИТЕЛЬНАЯ ЛАМПА abs/ebd
< 10 м
0 - 18
0.3
5
ДАТЧИК СКОРОСТИ ПЕРЕДНЕГО ПРАВОГО КОЛЕСА (СИГНАЛ)
3 - 45 м
0 - 18
1
6
ДАТЧИК СКОРОСТИ ПЕРЕДНЕГО ПРАВОГО КОЛЕСА (МАССА)
3 - 45 м
0
1
7
-
-
-
-
8
ДАТЧИК СКОРОСТИ ПЕРЕДНЕГО ЛЕВОГО КОЛЕСА (МАССА)
3 - 45 м
0
1
9
ДАТЧИК СКОРОСТИ ПЕРЕДНЕГО ЛЕВОГО КОЛЕСА (СИГНАЛ)
3 - 45 м
0 - 18
1
10
-
-
-
-
11
ДАТЧИК СКОРОСТИ ЗАДНЕГО ПРАВОГО КОЛЕСА (СИГНАЛ)
3 - 45 м
0 - 18
1
12
ДАТЧИК СКОРОСТИ ЗАДНЕГО ПРАВОГО КОЛЕСА (МАССА)
3 - 45 м
0
1
13
"МАССА" (ЭЛЕКТРОДВИГАТЕЛЬ)
< 30
0
0.005
14
ПИТАНИЕ (МОТОР)
< 30
0 - 18
0.005
15
-
-
-
-
16
ЛАМПА ТОРМОЗА
< 10 м
0 - 18
0.5
17
-
-
-
-
18
ДИАГНОСТИКА ПОСЛЕДОВАТЕЛЬНЫХ ДАННЫХ
< 100 м
0 - 18
0.5
19
-
-
-
-
20
ign1
< 60 м
0 - 18
0.5
21
gmlan l_in(can l_in)
< 50 м
0 - 18
0.5
22
gmlan l_out(can l_out)
< 50 м
0 - 18
0.5
23
gmlan h_in(can h_in)
< 50 м
0 - 18
0.5
24
gmlan h_out(can h_out)
< 50 м
0 - 18
0.5
25
ЛАМПА ФУНКЦИОНИРОВАНИЯ/ПРЕДУПРЕЖДЕНИЯ tcs
< 10 м
0 - 18
0.3
26
МАССА (КЛАПАН)
< 20
0
0.005

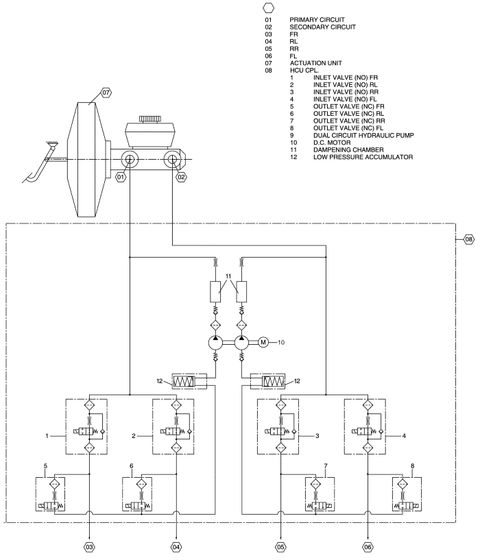
Гидравлическая схема - с esc (mk-60ec)


L8B14F10
Показать иллюстрациюПеревод текста в иллюстрациях


Гидравлическая схема - с abs/tcs (mk-70)


L8B14F11
Показать иллюстрациюПеревод текста в иллюстрациях


РАСПОЛОЖЕНИЕ КОМПОНЕНТОВ

Система АБС


L8B14F12
Показать иллюстрациюПеревод текста в иллюстрациях


  1. Контроллер гидравлического блока
  2. Датчик скорости передних колес
  3. Датчик скорости задних колес

ДИАГНОСТИКА (с MK-60EC ESC)

Диагностические коды неисправностей

dtc
Описание
c0035
Цепь датчика скорости переднего левого колеса
c0040
Цепь датчика скорости переднего правого колеса
c0045
Цепь датчика скорости заднего левого колеса
c0050
Цепь датчика скорости заднего правого колеса
c0110
цепь электробензонасоса
c0131
Цепь давления abs/tcs
c0161
Цепь выключателя тормоза abs/tcs - недостоверный сигнал
c0186
Цепь акселерометра поперечных ускорений
c0196
Цепь датчика скорости рыскания
c0252
Система увеличения стабильности транспортного средства (vses). Датчики некоррелированы
c0280
Система увеличения стабильности работает слишком долго
c0287
Цепь акселерометра продольных ускорений
c0292
Цепи датчика комбинации приборов vses
c0460
Датчик положения рулевого колеса
c0550
Работоспособность контроллера ecu
c0551
Ошибка конфигурации варианта
c0561
Сохранение информации по отключению системы (получены недействительные данные)
c0569
Ошибка конфигурации системы
c0730
Ошибка сигнала шины can
c0899
Низкое напряжение устройства
c0900
Высокое напряжение устройства
u1500
Выделенная шина между устройствами (общая)
u2100
Неисправность связи на шине can (Шина отключена)
u2105
Потеря связи с системой управления двигателем
u2106
Потеря связи с системой управления коробкой передач
u2142
Потеря связи с датчиком угловой скорости рысканья
u2143
Потеря связи с датчиком угла поворота рулевого колеса

Проверка цепи диагностики


L8B14F01
Показать иллюстрациюПеревод текста в иллюстрациях



L8B14F02
Показать иллюстрациюПеревод текста в иллюстрациях



L8B14F03
Показать иллюстрациюПеревод текста в иллюстрациях


Описание системы

Проверка цепи диагностики представляет собой систематический метод поиска причин неисправностей в системе АБС/DDRP.
Технику по обслуживанию, выполняющему поиск причин каких-либо неисправностей системы АБС/DDRP, следует начинать с проверки цепей диагностики. Проверка цепей диагностики построена в логической последовательности, операции которой должен выполнять техник при поиске причины неисправности.
Последовательные данные передаются/принимаются контроллером EBCM через вывод 10. Постоянное напряжение питания от аккумулятора на контроллер EBCM подается через выводы 1 и 32. Масса EBCM соединена с выводом 16.

Процедура диагностики

При обслуживании системы АБС/DDRP необходимо действовать в приведенной ниже последовательности.
  1. Проверить состояние механических элементов конструкции автомобиля, относящихся к тормозной системе.
  2. Выполнить проверку цепей диагностики и перейти к соответствующей таблице диагностики неисправностей.
  3. После устранения всех неисправностей системы АБС следует стереть сообщения с кодами неисправностей системы.

Проверка цепи диагностики

Шаг Операция Значения Да Нет
1
  1. Подключить или установить все ранее отключенные или снятые элементы.
  2. Замок зажигания в положении "ON".
  3. Подключить соответствующий диагностический прибор к диагностическому разъему dlc и попытаться установить взаимодействие с ebcm.
Имеется ли взаимодействие диагностического прибора с ebcm?
-
Перейти к операции 2
Перейти к операции 4
2
Имеются ли какие-либо диагностические коды неисправности, текущие или архивные?
-
Перейти к операции 3
Перейти к операции 7
3
  1. Записать текущие коды неисправности.
  2. Записать архивные коды неисправности.
  3. Записать дополнительные архивные данные, такие как
    • количество записей каждого диагностического кода
    • количество записей каждого диагностического кода после первой записи
    • количество записей каждого диагностического кода
    • скорость в момент выполнения каждой записи диагностических кодов
    • другие дополнительные данные, которые могут помочь при диагностике.
  4. Не стирайте диагностические коды неисправности до тех пор, пока не будет прочитана и записана вся информация, выводимая на диагностический прибор.
  5. См. соответствующий диагностический код(ы) неисправности. См. "Диагностические коды неисправностей и их описание в этом разделе.
-
-
-
4
Проверить жгут проводов разъема dlc, аккумулятор и кабель.
Все ли позиции в порядке?
-
Перейти к операции 5
Перейти к операции 6
5
  1. Заменить контроллер тормозной системы (ebcm) на новый.
  2. Проверить новый контроллер тормозной системы (ebcm) с помощью сканирующего прибора.
Найден ли какой-либо dtc?
-
Перейти к операции 1
Система в норме
6
  1. Устранить неисправность в жгуте проводов разъема dlc или кабеле аккумулятора.
  2. При необходимости заменить неисправный жгут проводов разъема dlc, кабель аккумулятора или сам аккумулятор.
  3. Проверить контроллер тормозной системы (ebcm) с помощью сканирующего прибора.
Найден ли какой-либо dtc?
-
Перейти к операции 1
Система в норме
7
  1. Замок зажигания в положении "OFF".
  2. Подождать 10 секунд.
  3. Замок зажигания в положении "ON".
  4. Наблюдать за желтой контрольной лампой АБС при повороте ключа.
Произошло ли включение на 3 секунды контрольной лампы АБС и контрольной лампы тормоза (проверка ламп)?
-
Перейти к операции 8
Перейти к операции 9
8
Функционирование системы в норме.
-
Система в норме
-
9
Продолжала ли лампа гореть?
-
Перейти к операции 10
Система в норме
10
См. указания по устранению DTC в соответствующей таблице.
-
-
-

Диагностический испытательный заезд

При техническом обслуживании транспортных средств, антиблокировочной системы (АБС) и противобуксовочной тормозной системы (TCS), для проведения всех тестирований и прогона всех функций системы требуется проводить испытательные заезды. Также испытательный заезд может потребоваться для повторного установления отдельных кодов неисправностей, описанных в этом разделе. Диагностическую проверку системы (включая испытательный заезд) следует проводить после завершения ремонта транспортного средства с целью проверки эффективности проведенных ремонтных работ.
Режим диагностического испытательного заезда зависит от характера проблем в АБС/TCS.
  1. Прочитать Указания по диагностике и Условия установки диагностического кода неисправности.
  2. Подсоединить все ранее отсоединенные компоненты.
  3. Запустите двигатель.
  4. Проехать на автомобиле не менее 10 минут с соблюдением следующих условий. Во время движения не допускается выполнять никаких незаконных или небезопасных маневров.

Последовательность инициализации

Контроллер тормозной системы (ECBM) выполняет программу инициализации в начале каждого цикла зажигания, пока скорость транспортного средства не достигнет 15 км/час (9 миль/час). Программа инициализации устанавливает последовательность работы каждого электромагнитного клапана и двигателя насоса, а также необходимых реле с целью проверки работы компонентов. В случае обнаружения какого-либо DTC, контроллер тормозной системы (EBCM) установит определенный код неисправности. Последовательность инициализации можно ощутить и услышать, и это является обычной частью работы.


На предыдущую страницу На следующую страницу
https://vnx.su/ 🛠 Руководства по ремонту и эксплуатации для автомобилей

Поиск по сайту

Остались вопросы или пожелания? Пишите на почту: support@vnx.su

Карта Сайта