К началу документа
Aveo
На предыдущую страницу На следующую страницу
Главная страница GMDE Загрузить нединамическое оглавление Загрузить динамическое оглавление Помощь

ДИАГНОСТИКА КОДОВ НЕИСПРАВНОСТЕЙ

Таблица диагностических кодов

Диагностический код неисправности (dtc)
ОПИСАНИЕ
ТИП
Сигнализатор неисправностей горит
Мигает
лампа hold
p0562
Низкое напряжение бортовой сети
b
Да
Нет
p0563
Высокое напряжение бортовой сети
b
Да
Нет
p0601
Контроллер ЭСУД, ошибка контрольной суммы
a
Да
Нет
p0604
Внутренняя ошибка оперативной памяти (ОЗУ) контроллера
b
Да
Нет
p0705
Неисправность цепи переключателя диапазонов коробки передач (tr) (нет сигнала)
b
Да
Нет
p0706
Неисправность цепи переключателя диапазонов коробки передач (tr) (короткое замыкание)
b
Да
Нет
p0711
Рабочие характеристики цепи датчика температуры трансмиссионного масла (tft)
a
Да
Нет
p0712
Датчик температуры рабочей жидкости КПП, низкий уровень входного сигнала
a
Да
Нет
p0713
Датчик температуры рабочей жидкости КПП, высокий уровень входного сигнала
a
Да
Нет
p0717
Датчик скорости первичного вала КПП, сигнал отсутствует
a
Да
Нет
p0722
Датчик скорости вторичного вала КПП, сигнал отсутствует
a
Да
Нет
p0741
Рабочие характеристики или блокировка во включенном состоянии цепи блокировочной муфты гидротрансформатора (tcc)
b
Да
Нет
p0742
Цепь блокировочной муфты гидротрансформатора, блокировка во включенном состоянии
b
Да
Нет
p0751
Рабочие характеристики или блокировка в выключенном состоянии электромагнитного клапана переключения передач 1 (ss1)
b
Да
Нет
p0752
Рабочие характеристики или блокировка во включенном состоянии электромагнитного клапана переключения передач 1 (ss1)
b
Да
Нет
p0756
Рабочие характеристики или блокировка в выключенном состоянии электромагнитного клапана переключения передач 2 (ss2)
b
Да
Нет
p0757
Рабочие характеристики или блокировка во включенном состоянии электромагнитного клапана переключения передач 2 (ss2)
b
Да
Нет
p0787
Электрическая неисправность электромагнитного клапана синхронизации (st) (замыкание на массу)
a
Да
Нет
p0788
Электрическая неисправность электромагнитного клапана синхронизации (st) (разрыв или замыкание на электропитание)
a
Да
Нет
p0962
Электрическая неисправность электромагнитного клапана регулировки давления (pcs) (низкий уровень)
a
Да
Нет
p0963
Электрическая неисправность электромагнитного клапана регулировки давления (pcs) (высокий уровень)
a
Да
Нет
p0973
Электрическая неисправность электромагнитного клапана переключения передач 1 (ss1) (замыкание на массу)
a
Да
Нет
p0974
Электрическая неисправность электромагнитного клапана переключения передач 1 (ss1) (разрыв или замыкание на электропитание)
a
Да
Нет
p0976
Электрическая неисправность электромагнитного клапана переключения передач 2 (ss2) (замыкание на массу)
a
Да
Нет
p0977
Электрическая неисправность электромагнитного клапана переключения передач 2 (ss2) (разрыв или замыкание на электропитание)
a
Да
Нет
p2769
Электрическая неисправность блокировочной муфты гидротрансформатора (tcc) (замыкание на массу)
b
Да
Нет
p2770
Электрическая неисправность блокировочной муфты гидротрансформатора (tcc) (разрыв или замыкание на электропитание)
b
Да
Нет
u0001
Высокоскоростная коммуникационная шина can
a
Да
Нет
u0100
Нарушение связи с ecm/pcm
a
Да
Нет
u0401
Прием неправильных данных из ecm/pcm
c1
Нет
Да
* Описание типов

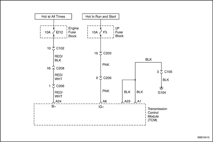
S6B15A10
Показать иллюстрациюПеревод текста в иллюстрациях


Код p0562

Низкое напряжение бортовой сети

Условия действия dtc

Условия записи диагностического кода неисправности

Действия при занесении кода неисправности

Условия очистки кода неисправности

Причина неисправности

dtc p0562 - Низкое напряжение бортовой сети

Шаг Операция Значения Да Нет
1
  1. Выключить зажигание.
  2. Подключить диагностический прибор.
  3. Включить зажигание при выключенном двигателе.
  4. Довести обороты двигателя до 600 об/мин или выше.
  5. Записать стареть коды неисправности.
  6. В диагностическом приборе выбрать напряжение бортовой сети.
  7. Проехать на автомобиле и проверить по диагностическому прибору следующее:
Соответствует ли сопротивление указанным пределам?
9 - 16 В
Перейти к Шагу 4
Перейти к Шагу 2
2
  1. Отсоединить провод аккумуляторной батареи.
  2. Измерить напряжение аккумулятора.
Соответствует ли сопротивление указанным пределам?
9 - 16 В
Перейти к Шагу 4
Перейти к Шагу 3
3
  1. Заменить аккумулятор.
Замена завершена?
-
Система в норме
-
4
  1. Включить фары.
  2. Включить кондиционер.
  3. Довести обороты двигателя до 600 об/мин или выше.
  4. Проверить напряжение в бортовой сети с помощью диагностического прибора.
Соответствует ли сопротивление указанным пределам?
9 - 16 В
Перейти к Шагу 6
Перейти к Шагу 5
5
  1. Повернуть ключ зажигания в положение "LOCK" (блокировки).
  2. При необходимости устранить неисправность цепи генератора.
Действие завершено?
-
Система в норме
-
6
Проверить предохранители ef12, f5 на разрыв цепи.
Была ли обнаружена причина неисправности?
-
Перейти к Шагу 7
Перейти к Шагу 8
7
Проверить предохранители ef12, f5 на замыкание. При необходимости заменить предохранители.
Замена завершена?
-
Система в норме
-
8
  1. Установите зажигание в положение on.
  2. Измерить напряжение на ef12, f5.
Соответствует ли сопротивление указанным пределам?
9 - 16 В
Перейти к Шагу 10
Перейти к Шагу 9
9
Устранить разрыв в цепи питания, защищенной предохранителем.
Действие завершено?
-
Система в норме
-
10
  1. Повернуть ключ зажигания в положение "LOCK" (блокировки).
  2. Отсоединить соединительный зажим контроллера КПП.
  3. Измерить сопротивление между предохранителем ef12 и контактом a24 разъема контроллера КПП.
Соответствует ли сопротивление указанным пределам?
0Ом
Перейти к Шагу 12
Перейти к Шагу 11
11
Устранить замыкание на землю или разрыв цепи (между ef12 и контактом a24).
Ремонт закончен?
-
Система в норме
-
12
  1. Отключить разъем c102 и разъем контроллера КПП.
  2. Установите зажигание в положение on.
  3. Измерить напряжение на контакте a24.
Соответствует ли сопротивление указанным пределам?
9 - 16 В
Перейти к Шагу 13
Перейти к Шагу 14
13
Устранить замыкание на напряжение бортсети в цепи между ef12 и контактом a24 разъема контроллера КПП.
Ремонт закончен?
-
Система в норме
-
14
  1. Повернуть ключ зажигания в положение "LOCK" (блокировки).
  2. Отключить разъем c203.
  3. Измерить сопротивление между предохранителем f5 и контактом a6 разъема контроллера КПП.
Соответствует ли сопротивление указанным пределам?
0Ом
Перейти к Шагу 17
Перейти к Шагу 15
15
Устранить замыкание на землю или разрыв цепи (между f5 и контактом a6).
Ремонт закончен?
-
Система в норме
-
16
  1. Установите зажигание в положение on.
  2. Измерить напряжение на контакте a6.
Соответствует ли сопротивление указанным пределам?
9 - 16 В
Перейти к Шагу 17
Перейти к Шагу 18
17
Устранить замыкание на напряжение бортсети в цепи между f5 и контактом a6.
Ремонт закончен?
-
Система в норме
-
18
  1. Проверить надежность соединения жгута КПП с электрическим разъемом КПП.
  2. Осмотреть на наличие возможных перегибов, выхода, деформации и повреждения разъёмов.
  3. Убедиться в отсутствии слабого натяжения контактов.
Состояние обнаружено?
-
Проверить выполнение ремонта и перейти к Шагу 20
-
19
Заменить контроллер КПП.
Замена завершена?
-
Перейти к Шагу 20
-
20
  1. После ремонта следует выполнить функцию "clear info" диагностического прибора и дорожное испытание.
  2. См. ""DTC info"".
Был ли сбой при последнем тесте или на дисплее показывается текущий код неисправности?
-
Начать диагностику заново
Проверить исправность после ремонта. Ремонт закончен

S6B15A10
Показать иллюстрациюПеревод текста в иллюстрациях


Код p0563

Напряжение бортовой сети, высокий уровень

Условия действия dtc

Условия записи диагностического кода неисправности

Действия при занесении кода неисправности

Условия очистки кода неисправности

Причина неисправности

dtc p0563 - Высокое напряжение бортовой сети

Шаг Операция Значения Да Нет
1
  1. Выключить зажигание.
  2. Подключить диагностический прибор.
  3. Включить зажигание при выключенном двигателе.
  4. Довести обороты двигателя до 600 об/мин или выше.
  5. Записать стареть коды неисправности.
  6. В диагностическом приборе выбрать напряжение бортовой сети.
  7. Проехать на автомобиле и проверить по диагностическому прибору следующее:
Соответствует ли сопротивление указанным пределам?
9 - 16 В
Перейти к Шагу 4
Перейти к Шагу 2
2
  1. Отсоединить провод аккумуляторной батареи.
  2. Измерить напряжение аккумулятора.
Соответствует ли сопротивление указанным пределам?
9 - 16 В
Перейти к Шагу 4
Перейти к Шагу 3
3
  1. Заменить аккумулятор.
Замена завершена?
-
Система в норме
-
4
  1. Включить фары.
  2. Включить кондиционер.
  3. Довести обороты двигателя до 600 об/мин или выше.
  4. Проверить напряжение в бортовой сети с помощью диагностического прибора.
Соответствует ли сопротивление указанным пределам?
9 - 16 В
Перейти к Шагу 6
Перейти к Шагу 5
5
  1. Повернуть ключ зажигания в положение "LOCK" (блокировки).
  2. При необходимости устранить неисправность цепи генератора.
Действие завершено?
-
Система в норме
-
6
Проверить предохранители ef12, f5 на разрыв цепи.
Была ли обнаружена причина неисправности?
-
Перейти к Шагу 7
Перейти к Шагу 8
7
Проверить предохранители ef12, f5 на замыкание. При необходимости заменить предохранители.
Замена завершена?
-
Система в норме
-
8
  1. Установите зажигание в положение on.
  2. Измерить напряжение на ef12, f5.
Соответствует ли сопротивление указанным пределам?
9 - 16 В
Перейти к Шагу 10
Перейти к Шагу 9
9
Устранить разрыв в цепи питания, защищенной предохранителем.
Действие завершено?
-
Система в норме
-
10
  1. Повернуть ключ зажигания в положение "LOCK" (блокировки).
  2. Отсоединить соединительный зажим контроллера КПП.
  3. Измерить сопротивление между предохранителем ef12 и контактом a24 разъема контроллера КПП.
Соответствует ли сопротивление указанным пределам?
0Ом
Перейти к Шагу 12
Перейти к Шагу 11
11
Устранить замыкание на землю или разрыв цепи (между ef12 и контактом a24).
Ремонт закончен?
-
Система в норме
-
12
  1. Отключить разъем c102 и разъем контроллера КПП.
  2. Установите зажигание в положение on.
  3. Измерить напряжение на контакте a24.
Соответствует ли сопротивление указанным пределам?
9 - 16 В
Перейти к Шагу 13
Перейти к Шагу 14
13
Устранить замыкание на напряжение бортсети в цепи между ef12 и контактом a24 разъема контроллера КПП.
Ремонт закончен?
-
Система в норме
-
14
  1. Повернуть ключ зажигания в положение "LOCK" (блокировки).
  2. Отключить разъем c203.
  3. Измерить сопротивление между предохранителем f5 и контактом a6 разъема контроллера КПП.
Соответствует ли сопротивление указанным пределам?
0Ом
Перейти к Шагу 17
Перейти к Шагу 15
15
Устранить замыкание на землю или разрыв цепи (между f5 и контактом a6).
Ремонт закончен?
-
Система в норме
-
16
  1. Установите зажигание в положение on.
  2. Измерить напряжение на контакте a6.
Соответствует ли сопротивление указанным пределам?
9 - 16 В
Перейти к Шагу 17
Перейти к Шагу 18
17
Устранить замыкание на напряжение бортсети в цепи между f5 и контактом a6.
Ремонт закончен?
-
Система в норме
-
18
  1. Проверить надежность соединения жгута КПП с электрическим разъемом КПП.
  2. Осмотреть на наличие возможных перегибов, выхода, деформации и повреждения разъёмов.
  3. Убедиться в отсутствии слабого натяжения контактов.
Состояние обнаружено?
-
Проверить выполнение ремонта и перейти к Шагу 20
-
19
Заменить контроллер КПП.
Замена завершена?
-
Перейти к Шагу 20
-
20
  1. После ремонта следует выполнить функцию "clear info" диагностического прибора и дорожное испытание.
  2. См. ""DTC info"".
Был ли сбой при последнем тесте или на дисплее показывается текущий код неисправности?
-
Начать диагностику заново
Проверить исправность после ремонта. Ремонт закончен

S6B15A11
Показать иллюстрациюПеревод текста в иллюстрациях


Код p0601

Контроллер ЭСУД, ошибка контрольной суммы

Условия действия dtc

Условия записи диагностического кода неисправности

Действия при занесении кода неисправности

Условия очистки кода неисправности

Причина неисправности

dtc p0601 - Внутренняя ошибка контрольной суммы памяти контроллера

Шаг Операция Значения Да Нет
1
  1. Выключить зажигание.
  2. Подключить диагностический прибор.
  3. Двигатель остановлен. Перевести замок зажигания в положение ON.
  4. В меню "Diagnostic Trouble Codes Information" ("Информация о кодах") диагностического прибора выбрать команду "Store Freeze Frame/Failure Records" ("Стоп-кадр/Записи о неисправности").
  5. Сохранить данные стоп-кадра/записи о неисправности.
  6. В меню "Diagnostic Trouble Codes Information" ("Информация о кодах") выбрать команду "Clear DTC Information" ("Очистить информацию о кодах").
  7. Очистить информацию о кодах.
  8. Выполнить один драйв-цикл.
Сигнализатор неисправности горит?
-
Перейти к Шагу 2
Проверить жгут и разъем контроллера КПП на наличие признаков непостоянной неисправности. Провести необходимый ремонт.
2
  1. В меню "Diagnostic Trouble Codes Information" ("Информация о кодах") выбрать команду "Request DTC by Status" ("Запрос кодов по состоянию").
  2. Выполнить запрос кодов по состоянию.
Отображается ли код p0601?
-
Заменить контроллер КПП
Проверить жгут и разъем контроллера КПП на наличие признаков непостоянной неисправности. Провести необходимый ремонт.

S6B15A11
Показать иллюстрациюПеревод текста в иллюстрациях


Код p0604

Внутренняя ошибка оперативной памяти (ОЗУ) контроллера

Условия действия dtc

Условия записи диагностического кода неисправности

Действия при занесении кода неисправности

Условия очистки кода неисправности

Причина неисправности

dtc p0604 - Внутренняя ошибка оперативной памяти контроллера - ОЗУ

Шаг Операция Значения Да Нет
1
  1. Выключить зажигание.
  2. Подключить диагностический прибор.
  3. Двигатель остановлен. Перевести замок зажигания в положение ON.
  4. В меню "Diagnostic Trouble Codes Information" ("Информация о кодах") диагностического прибора выбрать команду "Store Freeze Frame/Failure Records" ("Стоп-кадр/Записи о неисправности").
  5. Сохранить данные стоп-кадра/записи о неисправности.
  6. В меню "Diagnostic Trouble Codes Information" ("Информация о кодах") выбрать команду "Clear DTC Information" ("Очистить информацию о кодах").
  7. Очистить информацию о кодах.
  8. Выполнить два драйв-цикла.
Сигнализатор неисправности горит?
-
Перейти к Шагу 2
Проверить жгут и разъем контроллера КПП на наличие признаков непостоянной неисправности. Провести необходимый ремонт.
2
  1. В меню "Diagnostic Trouble Codes Information" ("Информация о кодах") выбрать команду "Request DTC by Status" ("Запрос кодов по состоянию").
  2. Выполнить запрос кодов по состоянию.
Отображается ли код p0604?
-
Заменить контроллер КПП
Проверить жгут и разъем контроллера КПП на наличие признаков непостоянной неисправности. Провести необходимый ремонт.

S6B15A12
Показать иллюстрациюПеревод текста в иллюстрациях


Код p0705

Неисправность цепи переключателя диапазонов коробки передач (tr) (нет сигнала)

Условия действия dtc

Условия записи диагностического кода неисправности

Действия при занесении кода неисправности

Условия очистки кода неисправности

Причина неисправности

dtc p0705 - Неисправность цепи переключателя диапазонов коробки передач (tr) - нет сигнала

Шаг Операция Значения Да Нет
1
  1. Выключить зажигание.
  2. Подключить диагностический прибор.
  3. Двигатель остановлен. Перевести замок зажигания в положение ON.
  4. В меню "Diagnostic Trouble Codes Information" ("Информация о кодах") диагностического прибора выбрать команду "Store Freeze Frame/Failure Records" ("Стоп-кадр/Записи о неисправности").
  5. Сохранить данные стоп-кадра/записи о неисправности.
  6. В меню "Diagnostic Trouble Codes Information" ("Информация о кодах") выбрать команду "Clear DTC Information" ("Очистить информацию о кодах").
  7. Очистить информацию о кодах.
  8. Выполнить два драйв-цикла.
Сигнализатор неисправности горит?
-
Перейти к Шагу 2
Устранить непостоянный контакт в электрическом разъеме (см. "Проверка жгутов и электрических разъемов" в этом разделе)
2
  1. В меню "Diagnostic Trouble Codes Information" ("Информация о кодах") выбрать команду "Request DTC by Status" ("Запрос кодов по состоянию").
  2. Выполнить запрос кодов по состоянию.
Отображается ли код p0705?
-
Перейти к Шагу 3
Устранить непостоянный контакт в электрическом разъеме (см. "Проверка жгутов и электрических разъемов" в этом разделе)
3
  1. Выключить зажигание.
  2. Проверить на разрыв цепь между жгутом автомобиля и выключателем диапазона КПП.
  3. Разъединить разъем контроллера КПП (x-1) и проверить цепи всех контактов на разрыв в соответствии с положениями рычага переключения передач.
  4. p: b20
    p: b1
    n: b8
    d: b7
    2 : b19
    1 : b18
Неисправность отсутствует?
-
Перейти к Шагу 4
Перейти к Шагу 5
4
  1. Проверить наличие неисправности между колодкой жгута автомобиля и контроллером КПП.
  2. Проверить колодки разъема. См. "Проверка жгутов и электрических разъемов" в этом разделе.
  3. Проверить надежность соединения колодок разъема контроллера КПП (c-1).
Соединение исправно?
-
Перейти к Шагу 6
Устранить неисправность колодок жгута.
5
  1. Проверить наличие неисправности между колодкой жгута автомобиля и переключателем диапазонов АКПП.
  2. Разъединить разъем контроллера КПП (x-2) и проверить цепи между контактами на разрыв. См. "Проверка жгутов и электрических разъемов" в этом разделе.
Переключатель диапазонов АКПП исправен?
-
Перейти к Шагу 7
Заменить переключатель диапазонов АКПП.
6
  1. Заменить основной контроллер КПП.
  2. После устранения кодов провести испытание с воспроизведением условий возникновения неисправности.
Отображается ли код неисправности?
-
Устранить непостоянный контакт в электрическом разъеме (см. "Проверка жгутов и электрических разъемов" в этом разделе)
Заменить контроллер КПП.
7
  1. Проверить наличие неисправности жгута автомобиля.
  2. Проверить жгут на наличие разрывов или замыканий. Проверить соединение между разъемами (C-2). См. "Проверка жгутов и электрических разъемов" в этом разделе.
Все исправно?
-
Устранить непостоянный контакт в электрическом разъеме
Заменить жгут или отрегулировать разъемы.

S6B15A12
Показать иллюстрациюПеревод текста в иллюстрациях


Код p0706

Неисправность цепи переключателя диапазонов коробки передач (tr) (короткое замыкание)

Условия действия dtc

Условия записи диагностического кода неисправности

Действия при занесении кода неисправности

Условия очистки кода неисправности

Причина неисправности

dtc p0706 - Неисправность цепи переключателя диапазонов коробки передач (tr) - короткое замыкание

Шаг Операция Значения Да Нет
1
  1. Выключить зажигание.
  2. Подключить диагностический прибор.
  3. Двигатель остановлен. Перевести замок зажигания в положение ON.
  4. В меню "Diagnostic Trouble Codes Information" ("Информация о кодах") диагностического прибора выбрать команду "Store Freeze Frame/Failure Records" ("Стоп-кадр/Записи о неисправности").
  5. Сохранить данные стоп-кадра/записи о неисправности.
  6. В меню "Diagnostic Trouble Codes Information" ("Информация о кодах") выбрать команду "Clear DTC Information" ("Очистить информацию о кодах").
  7. Очистить информацию о кодах.
  8. Выполнить два драйв-цикла.
Сигнализатор неисправности горит?
-
Перейти к Шагу 2
Устранить непостоянный контакт в электрическом разъеме (см. "Проверка жгутов и электрических разъемов" в этом разделе)
2
  1. В меню "Diagnostic Trouble Codes Information" ("Информация о кодах") выбрать команду "Request DTC by Status" ("Запрос кодов по состоянию").
  2. Выполнить запрос кодов по состоянию.
Отображается ли код p0706?
-
Перейти к Шагу 3
Устранить непостоянный контакт в электрическом разъеме (см. "Проверка жгутов и электрических разъемов" в этом разделе)
3
  1. Выключить зажигание.
  2. Проверить на разрыв цепь между жгутом автомобиля и выключателем диапазона КПП.
  3. Разъединить разъем контроллера КПП (x-1) и проверить цепи всех контактов на разрыв в соответствии с положениями рычага переключения передач.
  4. p: b20
    p: b1
    n: b8
    d: b7
    2 : b19
    1 : b18
Неисправность отсутствует?
-
Перейти к Шагу 4
Перейти к Шагу 5
4
  1. Проверить наличие неисправности между колодкой жгута автомобиля и контроллером КПП.
  2. Проверить колодки разъема. См. "Проверка жгутов и электрических разъемов" в этом разделе.
  3. Проверить надежность соединения колодок разъема контроллера КПП (c-1).
Соединение исправно?
-
Перейти к Шагу 6
Устранить неисправность колодок жгута.
5
  1. Проверить наличие неисправности между колодкой жгута автомобиля и переключателем диапазонов АКПП.
  2. Разъединить разъем контроллера КПП (x-2) и проверить цепи между контактами на разрыв. См. "Проверка жгутов и электрических разъемов" в этом разделе.
Переключатель диапазонов АКПП исправен?
-
Перейти к Шагу 7
Заменить переключатель диапазонов АКПП.
6
  1. Заменить основной контроллер КПП.
  2. После устранения кодов провести испытание с воспроизведением условий возникновения неисправности.
Отображается ли код неисправности?
-
Устранить непостоянный контакт в электрическом разъеме (см. "Проверка жгутов и электрических разъемов" в этом разделе)
Заменить контроллер КПП.
7
  1. Проверить наличие неисправности жгута автомобиля.
  2. Проверить жгут на наличие разрывов или замыканий. Проверить соединение между разъемами (C-2). См. "Проверка жгутов и электрических разъемов" в этом разделе.
Все исправно?
-
Устранить непостоянный контакт в электрическом разъеме
Заменить жгут или отрегулировать разъемы.

T3B15A08
Показать иллюстрациюПеревод текста в иллюстрациях


Код p0711

Рабочие характеристики цепи датчика температуры трансмиссионного масла (tft)

Условия действия dtc

Условия записи диагностического кода неисправности

Действия при занесении кода неисправности

Условия очистки кода неисправности

Причина неисправности

dtc p0711 - Рабочие характеристики цепи датчика температуры трансмиссионного масла - tft

Шаг Операция Значения Да Нет
1
  1. Выключить зажигание.
  2. Подключить диагностический прибор.
  3. Двигатель остановлен. Перевести замок зажигания в положение ON.
  4. В меню "Diagnostic Trouble Codes Information" ("Информация о кодах") диагностического прибора выбрать команду "Store Freeze Frame/Failure Records" ("Стоп-кадр/Записи о неисправности").
  5. Сохранить данные стоп-кадра/записи о неисправности.
  6. В меню "Diagnostic Trouble Codes Information" ("Информация о кодах") выбрать команду "Clear DTC Information" ("Очистить информацию о кодах").
  7. Очистить информацию о кодах.
  8. Выполнить один драйв-цикл.
Сигнализатор неисправности горит?
-
Перейти к Шагу 2
Устранить непостоянный контакт в электрическом разъеме (см. "Проверка жгутов и электрических разъемов" в этом разделе)
2
  1. В меню "Diagnostic Trouble Codes Information" ("Информация о кодах") выбрать команду "Request DTC by Status" ("Запрос кодов по состоянию").
  2. Выполнить запрос кодов по состоянию.
Отображается ли код p0711?
-
Перейти к Шагу 3
Устранить непостоянный контакт в электрическом разъеме (см. "Проверка жгутов и электрических разъемов" в этом разделе)
3
  1. Выключить зажигание.
  2. Проверить сопротивление между жгутом автомобиля и датчиком температуры рабочей жидкости КПП. См. "Проверка состояния агрегата" в этом разделе.
  3. Разъединить разъем контроллера КПП (x-1) и проверить сопротивление между контактами a11 и a12.
Результат измерения находится в указанном диапазоне?
10°c (50°f): 5,80-7,09 kОм 110°c (230°f): 0,231-0,263 kОм
Перейти к Шагу 4
Перейти к Шагу 5
4
  1. Проверить наличие неисправности между колодкой жгута автомобиля и контроллером КПП.
  2. Проверить колодки разъема. См. "Проверка жгутов и электрических разъемов" в этом разделе.
  3. Проверить надежность соединения колодок разъема (c-1).
Соединение исправно?
-
Перейти к Шагу 6
Устранить неисправность колодок жгута.
5
  1. Проверить наличие неисправности между жгутом автомобиля и датчиком температуры рабочей жидкости КПП.
  2. Разъединить разъем жгута КПП (x-3) и проверить сопротивление между контактами 1 и 6 разъема датчика температуры рабочей жидкости КПП.
Результат измерения находится в указанном диапазоне?
10°c (50°f): 5,80-7,09 kОм 110°c (230°f): 0,231-0,263 kОм
Перейти к Шагу 7
Перейти к Шагу 8
6
  1. Заменить основной контроллер КПП.
  2. После устранения кодов провести испытание с воспроизведением условий возникновения неисправности.
Отображается ли код неисправности?
-
Устранить непостоянный контакт в электрическом разъеме (см. "Проверка жгутов и электрических разъемов" в этом разделе)
Заменить контроллер КПП.
7
  1. Проверить наличие неисправности жгута автомобиля или разъемов.
  2. Проверить жгут на наличие разрывов или замыканий. Проверить соединение между разъемами (C-3). См. "Проверка жгутов и электрических разъемов" в этом разделе.
Все исправно?
-
Устранить непостоянный контакт в электрическом разъеме
Заменить жгут или отрегулировать разъемы
8
  1. Проверить наличие неисправности жгута КПП или разъемов датчика температуры рабочей жидкости КПП.
  2. Проверить температуру рабочей жидкости. См. "Проверка состояния агрегата" в этом разделе.
Неисправность обнаружена?
-
Заменить датчик температуры рабочей жидкости КПП
Перейти к Шагу 9
9
  1. Проверить наличие неисправности жгута КПП.
  2. Проверить жгут КПП на наличие разрывов или замыканий. Проверить соединение между разъемами (C-3). См. "Проверка жгутов и электрических разъемов" в этом разделе.
Все исправно?
-
Устранить непостоянный контакт в электрическом разъеме
Заменить жгут КПП или отрегулировать разъемы.

T3B15A08
Показать иллюстрациюПеревод текста в иллюстрациях


Код p0712

Датчик температуры рабочей жидкости КПП, низкий уровень входного сигнала

Условия действия dtc

Условия записи диагностического кода неисправности

Действия при занесении кода неисправности

Условия очистки кода неисправности

Причина неисправности

Код p0712 - Низкий уровень входного сигнала цепи датчика температуры трансмиссионного масла - tft

Шаг Операция Значения Да Нет
1
  1. Выключить зажигание.
  2. Подключить диагностический прибор.
  3. Двигатель остановлен. Перевести замок зажигания в положение ON.
  4. В меню "Diagnostic Trouble Codes Information" ("Информация о кодах") диагностического прибора выбрать команду "Store Freeze Frame/Failure Records" ("Стоп-кадр/Записи о неисправности").
  5. Сохранить данные стоп-кадра/записи о неисправности.
  6. В меню "Diagnostic Trouble Codes Information" ("Информация о кодах") выбрать команду "Clear DTC Information" ("Очистить информацию о кодах").
  7. Очистить информацию о кодах.
  8. Выполнить один драйв-цикл.
Сигнализатор неисправности горит?
-
Перейти к Шагу 2
Устранить непостоянный контакт в электрическом разъеме (см. "Проверка жгутов и электрических разъемов" в этом разделе)
2
  1. В меню "Diagnostic Trouble Codes Information" ("Информация о кодах") выбрать команду "Request DTC by Status" ("Запрос кодов по состоянию").
  2. Выполнить запрос кодов по состоянию.
Отображается ли код p0712?
-
Перейти к Шагу 3
Устранить непостоянный контакт в электрическом разъеме (см. "Проверка жгутов и электрических разъемов" в этом разделе)
3
  1. Выключить зажигание.
  2. Проверить сопротивление между жгутом автомобиля и датчиком температуры рабочей жидкости КПП. См. "Проверка состояния агрегата" в этом разделе.
  3. Разъединить разъем контроллера КПП (x-1) и проверить сопротивление между контактами a11 и a12.
Результат измерения находится в указанном диапазоне?
10°c (50°f): 5,80-7,09 kОм 110°c (230°f): 0,231-0,263 kОм
Перейти к Шагу 4
Перейти к Шагу 5
4
  1. Проверить наличие неисправности между колодкой жгута автомобиля и контроллером КПП.
  2. Проверить колодки разъема. См. "Проверка жгутов и электрических разъемов" в этом разделе.
  3. Проверить надежность соединения колодок разъема (c-1).
Соединение исправно?
-
Перейти к Шагу 6
Устранить неисправность колодок жгута.
5
  1. Проверить наличие неисправности между жгутом автомобиля и датчиком температуры рабочей жидкости КПП.
  2. Разъединить разъем жгута КПП (x-3) и проверить сопротивление между контактами 1 и 6 разъема датчика температуры рабочей жидкости КПП.
Результат измерения находится в указанном диапазоне?
10°c (50°f): 5,80-7,09 kОм 110°c (230°f): 0,231-0,263 kОм
Перейти к Шагу 7
Перейти к Шагу 8
6
  1. Заменить основной контроллер КПП.
  2. После устранения кодов провести испытание с воспроизведением условий возникновения неисправности.
Отображается ли код неисправности?
-
Устранить непостоянный контакт в электрическом разъеме (см. "Проверка жгутов и электрических разъемов" в этом разделе)
Заменить контроллер КПП.
7
  1. Проверить наличие неисправности жгута автомобиля или разъемов.
  2. Проверить жгут на наличие разрывов или замыканий. Проверить соединение между разъемами (C-3). См. "Проверка жгутов и электрических разъемов" в этом разделе.
Все исправно?
-
Устранить непостоянный контакт в электрическом разъеме
Заменить жгут или отрегулировать разъемы
8
  1. Проверить наличие неисправности жгута КПП или разъемов датчика температуры рабочей жидкости КПП.
  2. Проверить температуру рабочей жидкости. См. "Проверка состояния агрегата" в этом разделе.
Неисправность обнаружена?
-
Заменить датчик температуры рабочей жидкости КПП
Перейти к Шагу 9
9
  1. Проверить наличие неисправности жгута КПП.
  2. Проверить жгут КПП на наличие разрывов или замыканий. Проверить соединение между разъемами (C-3). См. "Проверка жгутов и электрических разъемов" в этом разделе.
Все исправно?
-
Устранить непостоянный контакт в электрическом разъеме
Заменить жгут КПП или отрегулировать разъемы.

T3B15A08
Показать иллюстрациюПеревод текста в иллюстрациях


Код p0713

Датчик температуры рабочей жидкости КПП, высокий уровень входного сигнала

Условия действия dtc

Условия записи диагностического кода неисправности

Действия при занесении кода неисправности

Условия очистки кода неисправности

Причина неисправности

Код p0713 - Низкий уровень входного сигнала цепи датчика температуры трансмиссионного масла - tft

Шаг Операция Значения Да Нет
1
  1. Выключить зажигание.
  2. Подключить диагностический прибор.
  3. Двигатель остановлен. Перевести замок зажигания в положение ON.
  4. В меню "Diagnostic Trouble Codes Information" ("Информация о кодах") диагностического прибора выбрать команду "Store Freeze Frame/Failure Records" ("Стоп-кадр/Записи о неисправности").
  5. Сохранить данные стоп-кадра/записи о неисправности.
  6. В меню "Diagnostic Trouble Codes Information" ("Информация о кодах") выбрать команду "Clear DTC Information" ("Очистить информацию о кодах").
  7. Очистить информацию о кодах.
  8. Выполнить один драйв-цикл.
Сигнализатор неисправности горит?
-
Перейти к Шагу 2
Устранить непостоянный контакт в электрическом разъеме (см. "Проверка жгутов и электрических разъемов" в этом разделе)
2
  1. В меню "Diagnostic Trouble Codes Information" ("Информация о кодах") выбрать команду "Request DTC by Status" ("Запрос кодов по состоянию").
  2. Выполнить запрос кодов по состоянию.
Отображается ли код p0713?
-
Перейти к Шагу 3
Устранить непостоянный контакт в электрическом разъеме (см. "Проверка жгутов и электрических разъемов" в этом разделе)
3
  1. Выключить зажигание.
  2. Проверить сопротивление между жгутом автомобиля и датчиком температуры рабочей жидкости КПП. См. "Проверка состояния агрегата" в этом разделе.
  3. Разъединить разъем контроллера КПП (x-1) и проверить сопротивление между контактами a11 и a12.
Результат измерения находится в указанном диапазоне?
10°c (50°f): 5,80-7,09 kОм 110°c (230°f): 0,231-0,263 kОм
Перейти к Шагу 4
Перейти к Шагу 5
4
  1. Проверить наличие неисправности между колодкой жгута автомобиля и контроллером КПП.
  2. Проверить колодки разъема. См. "Проверка жгутов и электрических разъемов" в этом разделе.
  3. Проверить надежность соединения колодок разъема (c-1).
Соединение исправно?
-
Перейти к Шагу 6
Устранить неисправность колодок жгута.
5
  1. Проверить наличие неисправности между жгутом автомобиля и датчиком температуры рабочей жидкости КПП.
  2. Разъединить разъем жгута КПП (x-3) и проверить сопротивление между контактами 1 и 6 разъема датчика температуры рабочей жидкости КПП.
Результат измерения находится в указанном диапазоне?
10°c (50°f): 5,80-7,09 kОм 110°c (230°f): 0,231-0,263 kОм
Перейти к Шагу 7
Перейти к Шагу 8
6
  1. Заменить основной контроллер КПП.
  2. После устранения кодов провести испытание с воспроизведением условий возникновения неисправности.
Отображается ли код неисправности?
-
Устранить непостоянный контакт в электрическом разъеме (см. "Проверка жгутов и электрических разъемов" в этом разделе)
Заменить контроллер КПП.
7
  1. Проверить наличие неисправности жгута автомобиля или разъемов.
  2. Проверить жгут на наличие разрывов или замыканий. Проверить соединение между разъемами (C-3). См. "Проверка жгутов и электрических разъемов" в этом разделе.
Все исправно?
-
Устранить непостоянный контакт в электрическом разъеме
Заменить жгут или отрегулировать разъемы
8
  1. Проверить наличие неисправности жгута КПП или разъемов датчика температуры рабочей жидкости КПП.
  2. Проверить температуру рабочей жидкости. См. "Проверка состояния агрегата" в этом разделе.
Неисправность обнаружена?
-
Заменить датчик температуры рабочей жидкости КПП
Перейти к Шагу 9
9
  1. Проверить наличие неисправности жгута КПП.
  2. Проверить жгут КПП на наличие разрывов или замыканий. Проверить соединение между разъемами (C-3). См. "Проверка жгутов и электрических разъемов" в этом разделе.
Все исправно?
-
Устранить непостоянный контакт в электрическом разъеме
Заменить жгут КПП или отрегулировать разъемы.

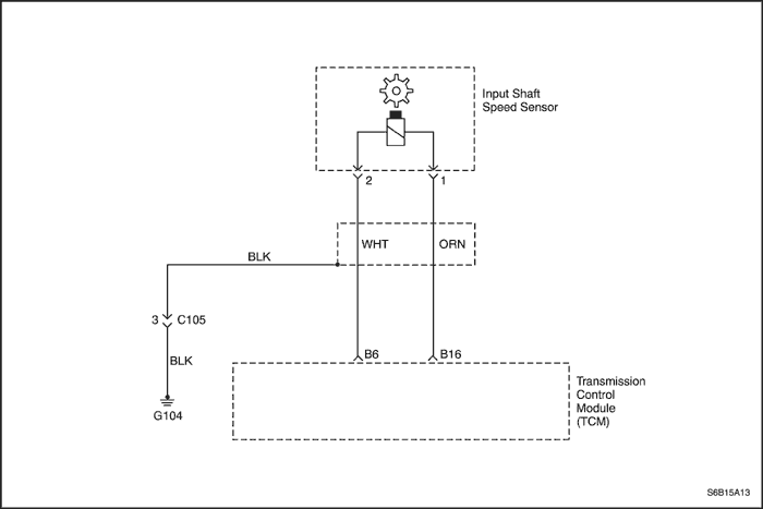
S6B15A13
Показать иллюстрациюПеревод текста в иллюстрациях


Код p0717

Датчик скорости первичного вала КПП, сигнал отсутствует

Условия действия dtc

Условия записи диагностического кода неисправности

Действия при занесении кода неисправности

Условия очистки кода неисправности

Причина неисправности

Код p0717 - Датчик скорости первичного вала КПП - iss - нет сигнала

Шаг Операция Значения Да Нет
1
  1. Выключить зажигание.
  2. Подключить диагностический прибор.
  3. Двигатель остановлен. Перевести замок зажигания в положение ON.
  4. В меню "Diagnostic Trouble Codes Information" ("Информация о кодах") диагностического прибора выбрать команду "Store Freeze Frame/Failure Records" ("Стоп-кадр/Записи о неисправности").
  5. Сохранить данные стоп-кадра/записи о неисправности.
  6. В меню "Diagnostic Trouble Codes Information" ("Информация о кодах") выбрать команду "Clear DTC Information" ("Очистить информацию о кодах").
  7. Очистить информацию о кодах.
  8. Выполнить один драйв-цикл.
Сигнализатор неисправности горит?
-
Перейти к Шагу 2
Устранить непостоянный контакт в электрическом разъеме (см. "Проверка жгутов и электрических разъемов" в этом разделе)
2
  1. В меню "Diagnostic Trouble Codes Information" ("Информация о кодах") выбрать команду "Request DTC by Status" ("Запрос кодов по состоянию").
  2. Выполнить запрос кодов по состоянию.
Отображается ли код p0717?
-
Перейти к Шагу 3
Устранить непостоянный контакт в электрическом разъеме (см. "Проверка жгутов и электрических разъемов" в этом разделе)
3
  1. Выключить зажигание.
  2. Проверить сопротивление между жгутом автомобиля и датчиком скорости первичного вала КПП. См. "Проверка состояния агрегата" в этом разделе.
  3. Разъединить разъем контроллера КПП (x-1) и проверить сопротивление между контактами b6 и b16.
Результат измерения находится в указанном диапазоне?
20°С (68°Ф): 560-680 Ом
Перейти к Шагу 4
Перейти к Шагу 5
4
  1. Проверить наличие неисправности между колодкой жгута автомобиля и контроллером КПП.
  2. Проверить колодки разъема. См. "Проверка жгутов и электрических разъемов" в этом разделе.
  3. Проверить надежность соединения колодок разъема (c-1).
Соединение исправно?
-
Перейти к Шагу 6
Устранить неисправность колодок жгута.
5
  1. Проверить наличие неисправности жгута КПП или разъемов датчика скорости первичного вала КПП.
  2. Разъединить разъем контроллера КПП (x-5) и проверить сопротивление между контактами 1 и 2.
Результат измерения находится в указанном диапазоне?
20°С (68°Ф): 560-680 Ом
Перейти к Шагу 7
Заменить датчик скорости первичного вала КПП
6
  1. Заменить основной контроллер КПП.
  2. После устранения кодов провести испытание с воспроизведением условий возникновения неисправности.
Отображается ли код неисправности?
-
Устранить непостоянный контакт в электрическом разъеме (см. "Проверка жгутов и электрических разъемов" в этом разделе)
Заменить контроллер КПП.
7
  1. Проверить наличие неисправности жгута КПП.
  2. Проверить жгут КПП на наличие разрывов или замыканий. Проверить соединение между разъемами (C-5). См. "Проверка жгутов и электрических разъемов" в этом разделе.
Все исправно?
-
Устранить непостоянный контакт в электрическом разъеме
Заменить жгут КПП или отрегулировать разъемы.

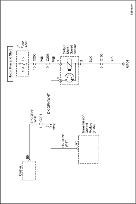
S6B15A14
Показать иллюстрациюПеревод текста в иллюстрациях


Код p0722

Датчик скорости вторичного вала КПП, сигнал отсутствует

Условия действия dtc

Условия записи диагностического кода неисправности

Действия при занесении кода неисправности

Условия очистки кода неисправности

Причина неисправности

Код p0722 - Датчик скорости вторичного вала КПП - oss - нет сигнала

Шаг Операция Значения Да Нет
1
  1. Выключить зажигание.
  2. Подключить диагностический прибор.
  3. Двигатель остановлен. Перевести замок зажигания в положение ON.
  4. В меню "Diagnostic Trouble Codes Information" ("Информация о кодах") диагностического прибора выбрать команду "Store Freeze Frame/Failure Records" ("Стоп-кадр/Записи о неисправности").
  5. Сохранить данные стоп-кадра/записи о неисправности.
  6. В меню "Diagnostic Trouble Codes Information" ("Информация о кодах") выбрать команду "Clear DTC Information" ("Очистить информацию о кодах").
  7. Очистить информацию о кодах.
  8. Выполнить один драйв-цикл.
Сигнализатор неисправности горит?
-
Перейти к Шагу 2
Устранить непостоянный контакт в электрическом разъеме (см. "Проверка жгутов и электрических разъемов" в этом разделе)
2
  1. В меню "Diagnostic Trouble Codes Information" ("Информация о кодах") выбрать команду "Request DTC by Status" ("Запрос кодов по состоянию").
  2. Выполнить запрос кодов по состоянию.
Отображается ли код p0722?
-
Перейти к Шагу 3
Устранить непостоянный контакт в электрическом разъеме (см. "Проверка жгутов и электрических разъемов" в этом разделе)
3
  1. Выключить зажигание.
  2. Проверить напряжение между жгутом автомобиля и датчиком скорости вторичного вала КПП.
  3. Разъединить разъем жгута автомобиля (x-1).
  4. Подсоединить вольтметр для измерения напряжения между контактом b25 и массой.
  5. Включить зажигание и вывесить автомобиль.
  6. Проверить, изменяется ли напряжение с 0 до 12 В при медленном проворачивании колеса.
Измеренный параметр изменяется в пределах указанного диапазона?
0 - 12 В
Перейти к Шагу 4
Перейти к Шагу 5
4
  1. Проверить наличие неисправности между колодкой жгута автомобиля и контроллером КПП.
  2. Проверить колодки разъема. См. "Проверка жгутов и электрических разъемов" в этом разделе.
  3. Проверить надежность соединения колодок разъема (c-1).
Соединение исправно?
-
Перейти к Шагу 6
Устранить неисправность колодок жгута.
5
  1. Проверить наличие неисправности жгута КПП или разъемов датчика скорости вторичного вала КПП.
  2. Проверить датчик скорости вторичного вала КПП. См. "Проверка состояния агрегата" в этом разделе
Датчик скорости вторичного вала КПП исправен?
-
Перейти к Шагу 7
Заменить датчик скорости вторичного вала КПП
6
  1. Заменить основной контроллер КПП.
  2. После устранения кодов провести испытание с воспроизведением условий возникновения неисправности.
Отображается ли код неисправности?
-
Устранить непостоянный контакт в электрическом разъеме (см. "Проверка жгутов и электрических разъемов" в этом разделе)
Заменить контроллер КПП.
7
  1. Проверить наличие неисправности жгута КПП.
  2. Проверить жгут КПП на наличие разрывов или замыканий. Проверить соединение между разъемами (C-4). См. "Проверка жгутов и электрических разъемов" в этом разделе.
Все исправно?
-
Устранить непостоянный контакт в электрическом разъеме
Заменить жгут КПП или отрегулировать разъемы.


На предыдущую страницу На следующую страницу
https://vnx.su/ 🛠 Руководства по ремонту и эксплуатации для автомобилей

Поиск по сайту

Остались вопросы или пожелания? Пишите на почту: support@vnx.su

Карта Сайта