Aveo |
||||||||
| ||||||||

| Шаг | Операция | Значения | Да | Нет |
| 1 |
Осмотрите датчик скорости колеса.
Обнаружены ли признаки повреждения?
|
-
|
Перейти к операции 3
|
Перейти к операции 2
|
| 2 |
Измеренное при температуре около 25°c (77°Ф) сопротивление находится в указанном диапазоне?
|
1215-1485 Ом
|
Перейти к операции 4
|
Перейти к операции 3
|
| 3 |
Замените датчик скорости колеса.
Закончен ли ремонт?
|
-
|
Система в норме
|
-
|
| 4 |
Измеренное значение находится в указанном диапазоне?
|
≈ 0,2 В
|
Перейти к операции 6
|
Перейти к операции 5
|
| 5 |
Замените датчик или задающий диск.
Закончен ли ремонт?
|
-
|
Система в норме
|
-
|
| 6 |
Измеренное на обоих контактах напряжение находится в указанном диапазоне?
|
> 1 В
|
Перейти к операции 7
|
Перейти к операции 8
|
| 7 |
Устраните замыкание на напряжение в неисправной цепи.
Закончен ли ремонт?
|
-
|
Система в норме
|
-
|
| 8 |
Измеренное сопротивление обеих цепей соответствует указанному в таблице?
|
∞
|
Перейти к операции 9
|
Перейти к операции 10
|
| 9 |
Устраните замыкание на землю в неисправной цепи.
Закончен ли ремонт?
|
-
|
Система в норме
|
-
|
| 10 |
Сопротивление в обеих цепях соответствует указанному в таблице?
|
0 Ом
|
Перейти к операции 12
|
Перейти к операции 11
|
| 11 |
Устраните разрыв или повышенное сопротивление в неисправной цепи.
Очистите диагностические коды диагностическим прибором.
Протестируйте автомобиль.
Код неисправности заносится снова?
|
-
|
Перейти к операции 1
|
Система в норме
|
| 12 |
Заменить ebcm.
Очистите диагностические коды диагностическим прибором.
Протестируйте автомобиль.
Код неисправности заносится снова?
|
-
|
Перейти к операции 1
|
Система в норме
|

| Шаг | Операция | Значения | Да | Нет |
| 1 |
Осмотреть задающий диск датчика скорости колеса.
Обнаружены ли признаки повреждения?
|
-
|
Перейти к операции 3
|
Перейти к операции 2
|
| 2 |
Измеренное при температуре около 25°c (77°Ф) сопротивление находится в указанном диапазоне?
|
1215-1485 Ом
|
Перейти к операции 4
|
Перейти к операции 3
|
| 3 |
Замените датчик скорости колеса.
Закончен ли ремонт?
|
-
|
Система в норме
|
-
|
| 4 |
Измеренное значение находится в указанном диапазоне?
|
≈ 0,2 В
|
Перейти к операции 6
|
Перейти к операции 5
|
| 5 |
Замените датчик или задающий диск.
Закончен ли ремонт?
|
-
|
Система в норме
|
-
|
| 6 |
Измеренное на обоих контактах напряжение находится в указанном диапазоне?
|
> 1 В
|
Перейти к операции 7
|
Перейти к операции 8
|
| 7 |
Устраните замыкание на напряжение в неисправной цепи.
Закончен ли ремонт?
|
-
|
Система в норме
|
-
|
| 8 |
Измеренное сопротивление обеих цепей соответствует указанному в таблице?
|
∞
|
Перейти к операции 9
|
Перейти к операции 10
|
| 9 |
Устраните замыкание на землю в неисправной цепи.
Закончен ли ремонт?
|
-
|
Система в норме
|
-
|
| 10 |
Сопротивление в обеих цепях соответствует указанному в таблице?
|
0 Ом
|
Перейти к операции 12
|
Перейти к операции 11
|
| 11 |
Устраните разрыв или повышенное сопротивление в неисправной цепи.
Очистите диагностические коды диагностическим прибором.
Протестируйте автомобиль.
Код неисправности заносится снова?
|
-
|
Перейти к операции 1
|
Система в норме
|
| 12 |
Заменить ebcm.
Очистите диагностические коды диагностическим прибором.
Протестируйте автомобиль.
Код неисправности заносится снова?
|
-
|
Перейти к операции 1
|
Система в норме
|

| Шаг | Операция | Значения | Да | Нет |
| 1 |
Осмотрите датчик скорости колеса.
Обнаружены ли признаки повреждения?
|
-
|
Перейти к операции 3
|
Перейти к операции 2
|
| 2 |
Измеренное при температуре около 25°c (77°Ф) сопротивление находится в указанном диапазоне?
|
1215-1485 Ом
|
Перейти к операции 4
|
Перейти к операции 3
|
| 3 |
Замените датчик скорости колеса.
Закончен ли ремонт?
|
-
|
Система в норме
|
-
|
| 4 |
Измеренное значение находится в указанном диапазоне?
|
≈ 0,2 В
|
Перейти к операции 6
|
Перейти к операции 5
|
| 5 |
Замените датчик или задающий диск.
Закончен ли ремонт?
|
-
|
Система в норме
|
-
|
| 6 |
Измеренное на обоих контактах напряжение находится в указанном диапазоне?
|
> 1 В
|
Перейти к операции 7
|
Перейти к операции 8
|
| 7 |
Устраните замыкание на напряжение в неисправной цепи.
Закончен ли ремонт?
|
-
|
Система в норме
|
-
|
| 8 |
Измеренное сопротивление обеих цепей соответствует указанному в таблице?
|
∞
|
Перейти к операции 9
|
Перейти к операции 10
|
| 9 |
Устраните замыкание на землю в неисправной цепи.
Закончен ли ремонт?
|
-
|
Система в норме
|
-
|
| 10 |
Сопротивление в обеих цепях соответствует указанному в таблице?
|
0 Ом
|
Перейти к операции 12
|
Перейти к операции 11
|
| 11 |
Устраните разрыв или повышенное сопротивление в неисправной цепи.
Очистите диагностические коды диагностическим прибором.
Протестируйте автомобиль.
Код неисправности заносится снова?
|
-
|
Перейти к операции 1
|
Система в норме
|
| 12 |
Заменить ebcm.
Очистите диагностические коды диагностическим прибором.
Протестируйте автомобиль.
Код неисправности заносится снова?
|
-
|
Перейти к операции 1
|
Система в норме
|

| Шаг | Операция | Значения | Да | Нет |
| 1 |
Осмотреть задающий диск датчика скорости колеса.
Обнаружены ли признаки повреждения?
|
-
|
Перейти к операции 3
|
Перейти к операции 2
|
| 2 |
Измеренное при температуре около 25°c (77°Ф) сопротивление находится в указанном диапазоне?
|
1215-1485 Ом
|
Перейти к операции 4
|
Перейти к операции 3
|
| 3 |
Замените датчик скорости колеса.
Закончен ли ремонт?
|
-
|
Система в норме
|
-
|
| 4 |
Измеренное значение находится в указанном диапазоне?
|
≈ 0,2 В
|
Перейти к операции 6
|
Перейти к операции 5
|
| 5 |
Замените датчик или задающий диск.
Закончен ли ремонт?
|
-
|
Система в норме
|
-
|
| 6 |
Измеренное на обоих контактах напряжение находится в указанном диапазоне?
|
> 1 В
|
Перейти к операции 7
|
Перейти к операции 8
|
| 7 |
Устраните замыкание на напряжение в неисправной цепи.
Закончен ли ремонт?
|
-
|
Система в норме
|
-
|
| 8 |
Измеренное сопротивление обеих цепей соответствует указанному в таблице?
|
∞
|
Перейти к операции 9
|
Перейти к операции 10
|
| 9 |
Устраните замыкание на землю в неисправной цепи.
Закончен ли ремонт?
|
-
|
Система в норме
|
-
|
| 10 |
Сопротивление в обеих цепях соответствует указанному в таблице?
|
0 Ом
|
Перейти к операции 12
|
Перейти к операции 11
|
| 11 |
Устраните разрыв или повышенное сопротивление в неисправной цепи.
Очистите диагностические коды диагностическим прибором.
Протестируйте автомобиль.
Код неисправности заносится снова?
|
-
|
Перейти к операции 1
|
Система в норме
|
| 12 |
Заменить ebcm.
Очистите диагностические коды диагностическим прибором.
Протестируйте автомобиль.
Код неисправности заносится снова?
|
-
|
Перейти к операции 1
|
Система в норме
|

| Шаг | Операция | Значения | Да | Нет |
| 1 |
Осмотрите датчик скорости колеса.
Обнаружены ли признаки повреждения?
|
-
|
Перейти к операции 3
|
Перейти к операции 2
|
| 2 |
Измеренное при температуре около 25°c (77°Ф) сопротивление находится в указанном диапазоне?
|
2295-2500 Ом
|
Перейти к операции 4
|
Перейти к операции 3
|
| 3 |
Замените датчик скорости колеса.
Закончен ли ремонт?
|
-
|
Система в норме
|
-
|
| 4 |
Измеренное значение находится в указанном диапазоне?
|
≈ 0,2 В
|
Перейти к операции 6
|
Перейти к операции 5
|
| 5 |
Замените датчик или задающий диск.
Закончен ли ремонт?
|
-
|
Система в норме
|
-
|
| 6 |
Измеренное на обоих контактах напряжение находится в указанном диапазоне?
|
> 1 В
|
Перейти к операции 7
|
Перейти к операции 8
|
| 7 |
Устраните замыкание на напряжение в неисправной цепи.
Закончен ли ремонт?
|
-
|
Система в норме
|
-
|
| 8 |
Измеренное сопротивление обеих цепей соответствует указанному в таблице?
|
∞
|
Перейти к операции 9
|
Перейти к операции 10
|
| 9 |
Устраните замыкание на землю в неисправной цепи.
Закончен ли ремонт?
|
-
|
Система в норме
|
-
|
| 10 |
Сопротивление в обеих цепях соответствует указанному в таблице?
|
0 Ом
|
Перейти к операции 12
|
Перейти к операции 11
|
| 11 |
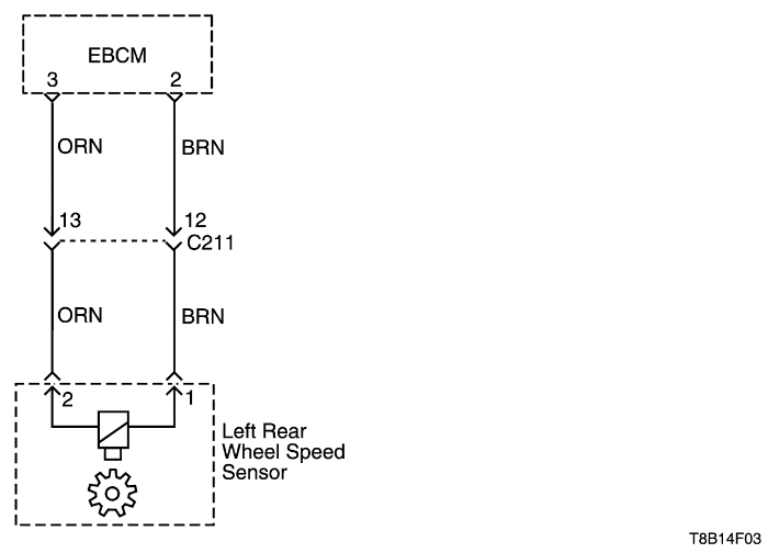
Устраните разрыв или повышенное сопротивление в неисправной цепи. Проверить контакты 13 и 12 разъема C211.
Очистите диагностические коды диагностическим прибором.
Протестируйте автомобиль.
Код неисправности заносится снова?
|
-
|
Перейти к операции 1
|
Система в норме
|
| 12 |
Заменить ebcm.
Очистите диагностические коды диагностическим прибором.
Протестируйте автомобиль.
Код неисправности заносится снова?
|
-
|
Перейти к операции 1
|
Система в норме
|

| Шаг | Операция | Значения | Да | Нет |
| 1 |
Осмотреть задающий диск датчика скорости колеса.
Обнаружены ли признаки повреждения?
|
-
|
Перейти к операции 3
|
Перейти к операции 2
|
| 2 |
Измеренное при температуре около 25°c (77°Ф) сопротивление находится в указанном диапазоне?
|
2295-2500 Ом
|
Перейти к операции 4
|
Перейти к операции 3
|
| 3 |
Замените датчик скорости колеса.
Закончен ли ремонт?
|
-
|
Система в норме
|
-
|
| 4 |
Измеренное значение находится в указанном диапазоне?
|
≈ 0,2 В
|
Перейти к операции 6
|
Перейти к операции 5
|
| 5 |
Замените датчик или задающий диск.
Закончен ли ремонт?
|
-
|
Система в норме
|
-
|
| 6 |
Измеренное на обоих контактах напряжение находится в указанном диапазоне?
|
> 1 В
|
Перейти к операции 7
|
Перейти к операции 8
|
| 7 |
Устраните замыкание на напряжение в неисправной цепи.
Закончен ли ремонт?
|
-
|
Система в норме
|
-
|
| 8 |
Измеренное сопротивление обеих цепей соответствует указанному в таблице?
|
∞
|
Перейти к операции 9
|
Перейти к операции 10
|
| 9 |
Устраните замыкание на землю в неисправной цепи.
Закончен ли ремонт?
|
-
|
Система в норме
|
-
|
| 10 |
Сопротивление в обеих цепях соответствует указанному в таблице?
|
0 Ом
|
Перейти к операции 12
|
Перейти к операции 11
|
| 11 |
Устраните разрыв или повышенное сопротивление в неисправной цепи. Проверить контакты 13 и 12 разъема C211.
Очистите диагностические коды диагностическим прибором.
Протестируйте автомобиль.
Код неисправности заносится снова?
|
-
|
Перейти к операции 1
|
Система в норме
|
| 12 |
Заменить ebcm.
Очистите диагностические коды диагностическим прибором.
Протестируйте автомобиль.
Код неисправности заносится снова?
|
-
|
Перейти к операции 1
|
Система в норме
|

| Шаг | Операция | Значения | Да | Нет |
| 1 |
Осмотрите датчик скорости колеса.
Обнаружены ли признаки повреждения?
|
-
|
Перейти к операции 3
|
Перейти к операции 2
|
| 2 |
Измеренное при температуре около 25°c (77°Ф) сопротивление находится в указанном диапазоне?
|
2295-2500 Ом
|
Перейти к операции 4
|
Перейти к операции 3
|
| 3 |
Замените датчик скорости колеса.
Закончен ли ремонт?
|
-
|
Система в норме
|
-
|
| 4 |
Измеренное значение находится в указанном диапазоне?
|
≈ 0,2 В
|
Перейти к операции 6
|
Перейти к операции 5
|
| 5 |
Замените датчик или задающий диск.
Закончен ли ремонт?
|
-
|
Система в норме
|
-
|
| 6 |
Измеренное на обоих контактах напряжение находится в указанном диапазоне?
|
> 1 В
|
Перейти к операции 7
|
Перейти к операции 8
|
| 7 |
Устраните замыкание на напряжение в неисправной цепи.
Закончен ли ремонт?
|
-
|
Система в норме
|
-
|
| 8 |
Измеренное сопротивление обеих цепей соответствует указанному в таблице?
|
∞
|
Перейти к операции 9
|
Перейти к операции 10
|
| 9 |
Устраните замыкание на землю в неисправной цепи.
Закончен ли ремонт?
|
-
|
Система в норме
|
-
|
| 10 |
Сопротивление в обеих цепях соответствует указанному в таблице?
|
0 Ом
|
Перейти к операции 12
|
Перейти к операции 11
|
| 11 |
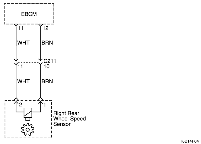
Устраните разрыв или повышенное сопротивление в неисправной цепи. Проверить контакты 10 и 11 разъема C211.
Очистите диагностические коды диагностическим прибором.
Протестируйте автомобиль.
Код неисправности заносится снова?
|
-
|
Перейти к операции 1
|
Система в норме
|
| 12 |
Заменить ebcm.
Очистите диагностические коды диагностическим прибором.
Протестируйте автомобиль.
Код неисправности заносится снова?
|
-
|
Перейти к операции 1
|
Система в норме
|

| Шаг | Операция | Значения | Да | Нет |
| 1 |
Осмотреть задающий диск датчика скорости колеса.
Обнаружены ли признаки повреждения?
|
-
|
Перейти к операции 3
|
Перейти к операции 2
|
| 2 |
Измеренное при температуре около 25°c (77°Ф) сопротивление находится в указанном диапазоне?
|
2295-2500 Ом
|
Перейти к операции 4
|
Перейти к операции 3
|
| 3 |
Замените датчик скорости колеса.
Закончен ли ремонт?
|
-
|
Система в норме
|
-
|
| 4 |
Измеренное значение находится в указанном диапазоне?
|
≈ 0,2 В
|
Перейти к операции 6
|
Перейти к операции 5
|
| 5 |
Замените датчик или задающий диск.
Закончен ли ремонт?
|
-
|
Система в норме
|
-
|
| 6 |
Измеренное на обоих контактах напряжение находится в указанном диапазоне?
|
> 1 В
|
Перейти к операции 7
|
Перейти к операции 8
|
| 7 |
Устраните замыкание на напряжение в неисправной цепи.
Закончен ли ремонт?
|
-
|
Система в норме
|
-
|
| 8 |
Измеренное сопротивление обеих цепей соответствует указанному в таблице?
|
∞
|
Перейти к операции 9
|
Перейти к операции 10
|
| 9 |
Устраните замыкание на землю в неисправной цепи.
Закончен ли ремонт?
|
-
|
Система в норме
|
-
|
| 10 |
Сопротивление в обеих цепях соответствует указанному в таблице?
|
0 Ом
|
Перейти к операции 12
|
Перейти к операции 11
|
| 11 |
Устраните разрыв или повышенное сопротивление в неисправной цепи. Проверить контакты 10 и 11 разъема C211.
Очистите диагностические коды диагностическим прибором.
Протестируйте автомобиль.
Код неисправности заносится снова?
|
-
|
Перейти к операции 1
|
Система в норме
|
| 12 |
Заменить ebcm.
Очистите диагностические коды диагностическим прибором.
Протестируйте автомобиль.
Код неисправности заносится снова?
|
-
|
Перейти к операции 1
|
Система в норме
|

| Шаг | Операция | Значения | Да | Нет |
| 1 |
Колесо проворачивается?
|
-
|
Перейти к операции 2
|
Перейти к операции 6
|
| 2 |
Колесо проворачивается?
|
-
|
Перейти к операции 6
|
Перейти к операции 3
|
| 3 |
Колесо проворачивается?
|
-
|
Перейти к операции 4
|
Перейти к операции 6
|
| 4 |
Код неисправности заносится снова?
|
-
|
Перейти к операции 6
|
Перейти к операции 5
|
| 5 |
Очистите диагностические коды диагностическим прибором.
Протестируйте автомобиль.
Код неисправности заносится снова?
|
-
|
Перейти к операции 1
|
Система в норме
|
| 6 |
Заменить ebcm.
Очистите диагностические коды диагностическим прибором.
Протестируйте автомобиль.
Код неисправности заносится снова?
|
-
|
Перейти к операции 1
|
Система в норме
|

| Шаг | Операция | Значения | Да | Нет |
| 1 |
Колесо проворачивается?
|
-
|
Перейти к операции 2
|
Перейти к операции 6
|
| 2 |
Колесо проворачивается?
|
-
|
Перейти к операции 6
|
Перейти к операции 3
|
| 3 |
Колесо проворачивается?
|
-
|
Перейти к операции 4
|
Перейти к операции 6
|
| 4 |
Код неисправности заносится снова?
|
-
|
Перейти к операции 6
|
Перейти к операции 5
|
| 5 |
Очистите диагностические коды диагностическим прибором.
Протестируйте автомобиль.
Код неисправности заносится снова?
|
-
|
Перейти к операции 1
|
Система в норме
|
| 6 |
Заменить ebcm.
Очистите диагностические коды диагностическим прибором.
Протестируйте автомобиль.
Код неисправности заносится снова?
|
-
|
Перейти к операции 1
|
Система в норме
|

| Шаг | Операция | Значения | Да | Нет |
| 1 |
Колесо проворачивается?
|
-
|
Перейти к операции 2
|
Перейти к операции 6
|
| 2 |
Колесо проворачивается?
|
-
|
Перейти к операции 6
|
Перейти к операции 3
|
| 3 |
Колесо проворачивается?
|
-
|
Перейти к операции 4
|
Перейти к операции 6
|
| 4 |
Код неисправности заносится снова?
|
-
|
Перейти к операции 6
|
Перейти к операции 5
|
| 5 |
Очистите диагностические коды диагностическим прибором.
Протестируйте автомобиль.
Код неисправности заносится снова?
|
-
|
Перейти к операции 1
|
Система в норме
|
| 6 |
Заменить ebcm.
Очистите диагностические коды диагностическим прибором.
Протестируйте автомобиль.
Код неисправности заносится снова?
|
-
|
Перейти к операции 1
|
Система в норме
|

| Шаг | Операция | Значения | Да | Нет |
| 1 |
Колесо проворачивается?
|
-
|
Перейти к операции 2
|
Перейти к операции 6
|
| 2 |
Колесо проворачивается?
|
-
|
Перейти к операции 6
|
Перейти к операции 3
|
| 3 |
Колесо проворачивается?
|
-
|
Перейти к операции 4
|
Перейти к операции 6
|
| 4 |
Код неисправности заносится снова?
|
-
|
Перейти к операции 6
|
Перейти к операции 5
|
| 5 |
Очистите диагностические коды диагностическим прибором.
Протестируйте автомобиль.
Код неисправности заносится снова?
|
-
|
Перейти к операции 1
|
Система в норме
|
| 6 |
Заменить ebcm.
Очистите диагностические коды диагностическим прибором.
Протестируйте автомобиль.
Код неисправности заносится снова?
|
-
|
Перейти к операции 1
|
Система в норме
|
| https://vnx.su/ 🛠 Руководства по ремонту и эксплуатации для автомобилей |