К началу документа
Tacuma
На предыдущую страницуНа следующую страницу
Главная страница GMDEЗагрузить нединамическое оглавлениеЗагрузить динамическое оглавлениеПомощь

РАЗДЕЛ 6C

РУЛЕВОЙ МЕХАНИЗМ С ГИДРОУСИЛИТЕЛЕМ

Внимание! Необходимо отсоединять отрицательный провод аккумулятора перед снятием или установкой любого электрического устройства, а также в тех случаях, когда возможно соприкосновение инструмента или оборудования с открытыми электрическими контактами. Отсоединение этого провода поможет избежать несчастного случая, а также повреждения автомобиля. Необходимо также, чтобы зажигание находилось в положении LOCK, если не будет требоваться иное.

ОПИСАНИЕ И УПРАВЛЕНИЕ

РЕЕЧНЫЙ РУЛЕВОЙ МЕХАНИЗМ С ГИДРОУСИЛИТЕЛЕМ

В системе реечного рулевого управления с гидроусилителем имеется поворотный управляющий клапан, который направляет гидравлическую жидкость, поступающую от гидронасоса, на одну или другую сторону плунжера рейки. Цельный плунжер рейки соединен с рейкой. Плунжер рейки преобразует гидравлическое давление в линейную силу, перемещающую рейку влево или вправо. Далее эта сила передается через поперечные рулевые тяги на поворотные кулаки, которые поворачивают колеса.
Если не функционирует гидроусилитель рулевого управления, реечный рулевой механизм управляется механически, однако в этом случае потребуются более значительные усилия для рулевого управления. Вращение рулевого колеса передается на шестерню. Вращательное движение шестерни передается на червяк шестерни, нити которого зацепляются за зубья рейки, таким образом вызывая линейное перемещение рейки.
Гидравлический насос лопастного типа обеспечивает давление для обеих систем рулевого управления.

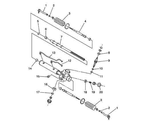
РАСПОЛОЖЕНИЕ КОМПОНЕНТОВ

РЕЕЧНЫЙ РУЛЕВОЙ МЕХАНИЗМ


UAA6C010
Показать иллюстрациюПеревод текста в иллюстрациях


  1. Внешняя поперечная рулевая тяга
  2. Гайка поперечной рулевой тяги
  3. Чехол реечного механизма
  4. Внутренняя поперечная рулевая тяга
  5. Стопорное кольцо перегородки
  6. Втулка и цилиндр перегородки
  7. Рулевая зубчатая рейка
  8. Внутреннее уплотнение рейки
  9. Подшипник
  10. Шестерня
  11. Уплотнение вала шестерни
  12. Втулка
  13. Отвод гильзы цилиндра
  14. Отвод гильзы цилиндра
  15. Подшипник рейки
  16. Пружина регулятора
  17. Пробка регулятора
  18. Проходная втулка
  19. Подшипник шестерни
  20. Стопорное кольцо

ДИАГНОСТИКА: ОСНОВНЫЕ СВЕДЕНИЯ И ВЫПОЛНЕНИЕ

РЕЕЧНЫЙ РУЛЕВОЙ МЕХАНИЗМ С ГИДРОУСИЛИТЕЛЕМ

Свистящий шум

Проверить
Действия
Проверьте, не ослабли ли шарниры промежуточного вала.
Затяните шарниры промежуточного вала.
Убедитесь в том, что шланг рулевого управления с гидроусилителем не соприкасается с другими деталями.
Убедитесь в том, что шланг рулевого управления с гидроусилителем правильно закреплен хомутами.

Грохочущий шум в рулевом механизме

Проверить
Действия
Убедитесь в том, что шланг рулевого управления с гидроусилителем не соприкасается с кузовом.
Убедитесь в том, что шланг рулевого управления с гидроусилителем правильно закреплен хомутами.
Проверьте, достаточно ли смазки в рулевом механизме.
Смажьте рулевой механизм.
Убедитесь в правильности монтажа рулевого механизма.
Затяните гайки и болты на монтажном кронштейне рулевого механизма.
Убедитесь в правильности монтажа внешних поперечных рулевых тяг.
Затяните соединения внешних поперечных рулевых тяг. Замените внешние рулевые тяги.

Плохой возврат рулевого колеса в среднее положение

Проверить
Действия
Проверьте соприкосновение рулевого колеса с корпусом указателя поворота.
Отрегулируйте положение корпуса указателя поворота.
Проверьте, чтобы не заедали и не ослабли шарниры промежуточного вала.
Замените промежуточный вал.
Проверьте правильность регулировки и отсутствие заедания расходного клапана насоса рулевого управления с гидроусилителем.
Замените насос рулевого управления с гидроусилителем.
Проверьте углы установки колес.
Отрегулируйте углы установки колес.
Проверьте колесные подшипники на износ и повреждения.
Замените колесные подшипники.
Проверьте правильность монтажа шарниров промежуточного вала.
Отрегулируйте промежуточный вал между рулевым механизмом и рулевой колонкой. Замените промежуточный вал.
Проверьте, чтобы не заедали и не ослабли внешние поперечные рулевые тяги и шарниры.
Затяните поперечные рулевые тяги и шарниры. Замените рулевые тяги и шарниры.
Проверьте регулировку рулевого механизма.
Выполните проверку прямолинейного положения управляемых колес.
Убедитесь в отсутствии трения между уплотнением вала рулевой колонки и валом.
Замените уплотнение передней панели.
Убедитесь в отсутствии заедания подшипников рулевого вала.
Замените подшипники поворотного вала.

Кратковременное повышение усилия при быстром повороте колеса

Проверить
Действия
Убедитесь в отсутствии внутренней утечки в насосе рулевого управления с гидроусилителем.
Замените насос рулевого управления с гидроусилителем.
Убедитесь в отсутствии повреждений или пережатий шлангов.
Замените шланги и/или трубки рулевого управления с гидроусилителем.
Проверьте уровень жидкости в усилителе рулевого управления.
Заправьте бачок жидкости для рулевого управления с гидроусилителем.
Проверьте правильность функционирования и отсутствие заедания расходного клапана насоса рулевого управления с гидроусилителем.
Замените насос рулевого управления с гидроусилителем.

Рывки и толчки на руле при повороте при работающем двигателе.

Проверить
Действия
Проверьте, достаточно ли высокое давление создает насос рулевого управления с гидроусилителем.
Замените насос рулевого управления с гидроусилителем.
Проверьте правильность функционирования и отсутствие заедания расходного клапана насоса рулевого управления с гидроусилителем.
Замените насос рулевого управления с гидроусилителем.
Убедитесь в отсутствии проскальзывания приводного ремня насоса рулевого управления с гидроусилителем.
Натяните приводной ремень рулевого управления с гидроусилителем.
Проверьте, не попал ли воздух в систему рулевого управления с гидроусилителем.
Прокачайте систему рулевого управления с гидроусилителем.

Вибрация рулевого управления при повороте на малой скорости или на месте

Проверить
Действия
Проверьте, не попал ли воздух в систему рулевого управления с гидроусилителем.
Прокачайте систему рулевого управления с гидроусилителем.
Проверьте натяжение приводного ремня насоса рулевого управления с гидроусилителем.
Натяните приводной ремень рулевого управления с гидроусилителем.

Чрезмерная отдача на рулевом колесе или большой люфт

Проверить
Действия
Проверьте, не попал ли воздух в систему рулевого управления с гидроусилителем.
Прокачайте систему рулевого управления с гидроусилителем.
Проверьте колесные подшипники на износ и повреждения.
Замените колесные подшипники.
Убедитесь в правильности монтажа рулевого механизма.
Затяните гайки и болты на монтажном кронштейне рулевого механизма.
Проверьте правильность монтажа шарниров промежуточного вала.
Отрегулируйте промежуточный вал между рулевым механизмом и рулевой колонкой. Замените промежуточный вал.
Проверьте затяжку внешних поперечных рулевых тяг и шаровых шарниров.
Затяните поперечные рулевые тяги и шарниры. Замените рулевые тяги и шарниры.

Тяжелое управление или недостаточное усиление (особенно при парковке)

Проверить
Действия
Проверьте правильность монтажа шарниров промежуточного вала.
Отрегулируйте промежуточный вал между рулевым механизмом и рулевой колонкой. Замените соединительный фланец.
Проверьте правильность монтажа и отсутствие заедания расходного клапана насоса рулевого управления с гидроусилителем.
Замените насос рулевого управления с гидроусилителем.
Проверьте, достаточно ли высокое давление создает насос рулевого управления с гидроусилителем.
Замените насос рулевого управления с гидроусилителем.
Убедитесь в отсутствии внутренней утечки в насосе рулевого управления с гидроусилителем.
Замените насос рулевого управления с гидроусилителем.
Проверьте, чтобы не разболтался или износился промежуточный вал.
Затяните промежуточный вал. Замените промежуточный вал, если потребуется.
Проверьте натяжение приводного ремня насоса усилителя рулевого управления.
Натяните приводной ремень рулевого управления с гидроусилителем.

СТЕНДОВОЕ ИСПЫТАНИЕ РЕЕЧНОГО РУЛЕВОГО МЕХАНИЗМА С ГИДРОУСИЛИТЕЛЕМ

Процедура демонтажа, установки и испытания

Примечание: С помощью этой установки можно выполнить также проверку значений давления и расхода.

  1. Отсоедините и демонтируйте рулевой механизм с гидроусилителем. См. "Реечный рулевой механизм в сборе" в этом разделе.
  2. Поместите рулевой механизм с гидроусилителем на стенд рядом с автомобилем.
  3. Отсоедините трубку высокого давления в том месте, где шланг соединяется с трубкой. Удлините эту трубку, чтобы достать до рулевого механизма с гидроусилителем на стенде.
  4. Отсоедините возвратную трубку от бачка для жидкости рулевого управления с гидроусилителем. Удлините эту трубку, чтобы достать до рулевого механизма с гидроусилителем на стенде.
  5. Присоедините трубки рулевого управления к рулевому механизму с гидроусилителем.
  6. Запустите двигатель и дайте ему поработать 10 секунд на холостом ходу.
  7. Проверьте уровень жидкости в усилителе рулевого управления. См. раздел 6А, "Система рулевого управления с гидроусилителем".
  8. Запустите двигатель и поверните поворотный вал реечного механизма на полный оборот в каждом направлении. Удерживайте вал на каждом упоре по 5 секунд.
  9. Осмотрите места возможной утечки. См. раздел 6А, "Система рулевого управления с гидроусилителем".

Порядок установки

  1. Выключите двигатель.
  2. Отсоедините трубки рулевого управления с гидроусилителем от рулевого механизма.
  3. Снимите удлинители и присоедините на место трубки высокого давления и возврата.
  4. Установите на место и присоедините рулевой механизм с гидроусилителем. См. "Реечный рулевой механизм в сборе" в этом разделе.
  5. Запустите двигатель и дайте ему поработать 10 секунд на холостом ходу.
  6. Проверьте уровень жидкости в усилителе рулевого управления. См. раздел 6А, "Система рулевого управления с гидроусилителем".

ПРОВЕРКА ПРЯМОЛИНЕЙНОГО ПОЛОЖЕНИЯ УПРАВЛЯЕМЫХ КОЛЕС


C105C104
Показать иллюстрациюПеревод текста в иллюстрациях


Во всех случаях по завершении всех необходимых операций на рулевом механизме (демонтаж и монтаж, разборка и сборка) проверьте точность прямолинейного положения рулевого управления.
На опущенном на пол автомобиле установите рулевое колесо в прямолинейное положение. Отметьте на полу осевые линии обеих шин. Поверните рулевое колесо до упора вправо и снова отметьте на полу осевые линии обеих шин.

Таблица проверки прямолинейного положения управляемых колес

ШагОперацияЗначенияДаНет
1
Установите рулевое колесо в прямолинейное положение.
Находятся ли колеса в правильном положении?
-
Перейдите к Шагу 2
-
2
Расположен ли нижний стяжной болт промежуточного вала параллельно рулевому механизму?
-
Перейдите к Шагу 3
Перейдите к Шагу 4
3
Отклоняется ли рулевое колесо от центра более, чем на 5 градусов?
-
Перейдите к Шагу 5
Перейдите к Шагу 6
4
Шестерня смещена относительно рейки. Необходимо откорректировать положение рулевой шестерни.
Ремонт закончен?
-
Перейдите к Шагу 2
-
5
Снимите рулевое колесо и отцентрируйте его по шлицам шпинделя.
Ремонт закончен?
-
Перейдите к Шагу 3
-
6
Поверните рулевое колесо до упора вправо. Измерьте внутренний и внешний углы между осевой линией шины и осевой линией прямолинейного положения.
Находятся ли углы в указанных пределах?
Внутренний угол: 37 ° 15'
Внешний угол: 32 ° 40'
Система исправна
Перейдите к Шагу 7
7
Неправильно собран реечный узел.
При необходимости отремонтируйте.
Ремонт закончен?
-
Перейдите к Шагу 6
-

УКАЗАНИЯ ПО РЕМОНТУ

РАБОТЫ, ВЫПОЛНЯЕМЫЕ НА АВТОМОБИЛЕ



UAA6C020
Показать иллюстрациюПеревод текста в иллюстрациях


РЕЕЧНЫЙ РУЛЕВОЙ МЕХАНИЗМ В СБОРЕ

Необходимое оборудование

Съемник для шаровых шарниров KM-507-B.

Порядок снятия и установки

  1. Приподнимите автомобиль и установите его на предусмотренные для этого опоры.
  2. Снимите колеса. См. раздел 2Е, "Шины и колеса".
  3. Открутите гайки внешней поперечной рулевой тяги и с помощью съемника для шарниров km-507-b отсоедините наконечники поперечной тяги от поворотного кулака. См. "Внешняя поперечная рулевая тяга" в этом разделе.
  4. Примечание
    Момент затяжки
    50 Н•м (37 фунт-фут)


    UAA6C030
    Показать иллюстрациюПеревод текста в иллюстрациях


  5. Открутите нижний стяжной болт на промежуточном валу. См. "Промежуточный вал и уплотнение передней панели" в этом разделе.
  6. Открутите крепежный болт скобы возвратной трубки от центральной поперечины. См. раздел 6A, "Система рулевого управления с гидроусилителем".
  7. Примечание
    Момент затяжки
    Нижний стяжной болт на промежуточном валу
    26 Н•м (19 фунт-фут)
    Момент затяжки
    Болт на скобе возвратной трубки на поперечине
    8 Н•м (6 фунт-фут)


    UAA6C040
    Показать иллюстрациюПеревод текста в иллюстрациях


  8. Отсоедините трубку возвратной линии от выпускного штуцера рулевого механизма с гидроусилителем. Подставьте сливной поддон под рулевой механизм, чтобы собрать вытекающую гидравлическую жидкость.
  9. Отсоедините трубку высокого давления от впускного штуцера рулевого механизма с гидроусилителем.
  10. Открутите крепежные болт и гайку узла реечного механизма.
  11. Примечание
    Момент затяжки
    РУЛЕВОЙ МЕХАНИЗМ С ГИДРОУСИЛИТЕЛЕМ
    давления на впускном штуцере
    рулевого механизма с гидроусилителем
    28 Н•м (21 фунт-фут)
    Момент затяжки
    РУЛЕВОЙ МЕХАНИЗМ С ГИДРОУСИЛИТЕЛЕМ
    на выпускном штуцере рулевого
    механизма с гидроусилителем
    28 Н•м (21 фунт-фут)
    Момент затяжки
    Крепежный болт узла реечного механизма
    60 Н•м (44 фунт-фут)
    Момент затяжки
    Крепежная гайка узла реечного механизма
    60 Н•м (44 фунт-фут)


    UAA6C050
    Показать иллюстрациюПеревод текста в иллюстрациях


  12. Открутите крепежные болт и гайку П-образного зажима реечного механизма.
  13. Снимите П-образный зажим и втулку.
  14. Примечание
    Момент затяжки
    Крепежный болт
    П-образного зажима
    реечного рулевого механизма
    60 Н•м (44 фунт-фут)
    Момент затяжки
    Крепежный болт
    П-образного зажима
    реечного рулевого механизма
    60 Н•м (44 фунт-фут)


    UAA6C060
    Показать иллюстрациюПеревод текста в иллюстрациях


  15. Снимите узел реечной передачи в сборе.
  16. Примечание


UAA6C020
Показать иллюстрациюПеревод текста в иллюстрациях


ВНЕШНЯЯ ПОПЕРЕЧНАЯ РУЛЕВАЯ ТЯГА

Необходимое оборудование

Съемник для шаровых шарниров KM-507-B.

Порядок снятия и установки

  1. Приподнимите автомобиль и установите его на предусмотренные для этого опоры.
  2. Снимите колеса. См. раздел 2Е, "Шины и колеса".
  3. Открутите гайки внешней поперечной рулевой тяги и с помощью съемника для шарниров km-507-b отсоедините наконечники поперечной тяги от поворотного кулака.
  4. Примечание
    Момент затяжки
    50 Н•м (37 фунт-фут)


    UAA6C070
    Показать иллюстрациюПеревод текста в иллюстрациях


  5. Нанесите отметки на резьбу внутренней поперечной рулевой тяги, чтобы облегчить установку на место регулировочной гайки.
  6. Освободите регулировочную гайку внешней поперечной рулевой тяги и выньте внешнюю поперечную рулевую тягу, открутив ее от внутренней поперечной рулевой тяги.
  7. Примечание
    Момент затяжки
    64 Н•м (47 фунт-фут)


UAA6C080
Показать иллюстрациюПеревод текста в иллюстрациях


ПЫЛЬНИК

Необходимое оборудование

KM-J-22610 Приспособление для установки хомута пыльника

Порядок снятия и установки

  1. Приподнимите автомобиль и установите его на предусмотренные для этого опоры.
  2. Снимите колесо. См. раздел 2Е, "Шины и колеса".
  3. Демонтируйте внешнюю поперечную рулевую тягу. См. "Внешняя поперечная рулевая тяга" в этом разделе.
  4. Снимите крепежные зажимы пыльника.


  5. UAA6C090
    Показать иллюстрациюПеревод текста в иллюстрациях


  6. Снимите пыльник.
  7. Примечание


UAA6C100
Показать иллюстрациюПеревод текста в иллюстрациях


ПРОМЕЖУТОЧНЫЙ ВАЛ И УПЛОТНЕНИЕ ПЕРЕДНЕЙ ПАНЕЛИ

(показано левостороннее рулевое управление, правостороннее аналогично)

Порядок снятия и установки

  1. Поверните рулевое колесо в горизонтальное положение. Это прямолинейное положение управляемых колес. Нанесите отметку на валу рулевой колонки напротив отметки на нижнем универсальном шарнире промежуточного вала.
  2. Открутите верхний стяжной болт из универсального шарнира на промежуточном валу.
  3. Примечание
    Момент затяжки
    22 Н•м (16 фунт-фут)


    UAA6C110
    Показать иллюстрациюПеревод текста в иллюстрациях


  4. Приподнимите автомобиль и установите его на предусмотренные для этого опоры.
  5. Нанесите отметку на корпусе поворотного вала напротив отметки на нижнем универсальном шарнире промежуточного вала.
  6. Открутите нижний стяжной болт из универсального шарнира на промежуточном валу.
  7. Открутите гайки на уплотнении передней панели.
  8. Снимите промежуточный вал.
  9. Примечание
    Момент затяжки
    Гайка уплотнения передней панели
    6 Н•м (4 фунт-фут)
    Момент затяжки
    Нижний стяжной болт
    промежуточного вала
    25 Н•м (18 фунт-фут)


UAA6C120
Показать иллюстрациюПеревод текста в иллюстрациях


ТРУБОПРОВОДЫ ГИДРАВЛИЧЕСКОГО ЦИЛИНДРА

(показано левостороннее рулевое управление, правостороннее аналогично)

Порядок снятия и установки

  1. Откачайте жидкость из бачка для жидкости рулевого управления с гидроусилителем.
  2. Приподнимите автомобиль и установите его на предусмотренные для этого опоры.
  3. Отсоедините трубки гидравлического цилиндра рулевого управления с гидроусилителем от рулевого механизма со стороны клапана. При необходимости замените кольцевые уплотнения.
  4. Примечание
    Момент затяжки
    18 Н•м (13 фунт-фут)


    UAA6C130
    Показать иллюстрациюПеревод текста в иллюстрациях


  5. Отсоедините трубки гидравлического цилиндра рулевого управления с гидроусилителем от рулевого механизма со стороны цилиндра.
  6. Снимите с автомобиля трубки гидравлического цилиндра рулевого механизма.
  7. Примечание
    Момент затяжки
    27 Н•м (20 фунт-фут)

ТЕХНИЧЕСКИЕ ХАРАКТЕРИСТИКИ

ОБЩИЕ ТЕХНИЧЕСКИЕ ХАРАКТЕРИСТИКИ

Применение
Описание
Жидкость рулевого управления с гидроусилителем
Жидкость для рулевого управления с гидроусилителем dexron®-ii d
Вместимость
1,1 литра
Тип
Крепежный болт
Общее передаточное число
16:1
Углы рулевого управления
Шины 185
Внутренний
37.4
Наружный
32.1
Шины 195
Внутренний
37.4
Наружный
32.1
Смазка
Рейка
Литиевая смазка № 2
Шаровой шарнир
nerita 0460 и retinax или crown #2

МОМЕНТЫ ЗАТЯЖКИ РЕЗЬБОВЫХ СОЕДИНЕНИЙ

Применение
Н•м
Фунт-фут
Фунт-дюйм
Гайка крепления внешней рулевой тяги к поворотному кулаку
50
37
-
Нижний стяжной болт на промежуточном валу
26
19
-
Верхний стяжной болт на промежуточном валу
22
16
-
Болт на скобе возвратной трубки на поперечине
8
6
71
Гайка фитинга трубки высокого давления на впускном штуцере рулевого механизма с гидроусилителем
28
21
-
Гайка фитинга возвратной трубки на выпускном штуцере рулевого механизма с гидроусилителем
28
21
-
Крепежный болт узла реечного механизма
60
44
-
Крепежная гайка узла реечного механизма
60
44
-
Крепежный болт П-образного зажима реечного рулевого механизма
60
44
-
Крепежная гайка П-образного зажима реечного рулевого механизма
60
44
-
Гайка уплотнения передней панели
6
4
53
Гайка фитинга трубки гидроцилиндра рулевого механизма с гидроусилителем со стороны клапана
18
13
-
Гайка фитинга трубки гидроцилиндра рулевого механизма с гидроусилителем со стороны цилиндра
27
20
-

СПЕЦИАЛЬНЫЕ ИНСТРУМЕНТЫ И ОБОРУДОВАНИЕ

ТАБЛИЦА СПЕЦИАЛЬНЫХ ИНСТРУМЕНТОВ


UAA2C330
Показать иллюстрациюПеревод текста в иллюстрациях


Съемник для шаровых шарниров km-507-b.

A104A008
Показать иллюстрациюПеревод текста в иллюстрациях


km-j-22610 Приспособление для установки хомута пыльника


На предыдущую страницуНа следующую страницу
https://vnx.su/ 🛠 Руководства по ремонту и эксплуатации для автомобилей

Поиск по сайту

Остались вопросы или пожелания? Пишите на почту: support@vnx.su

Карта Сайта