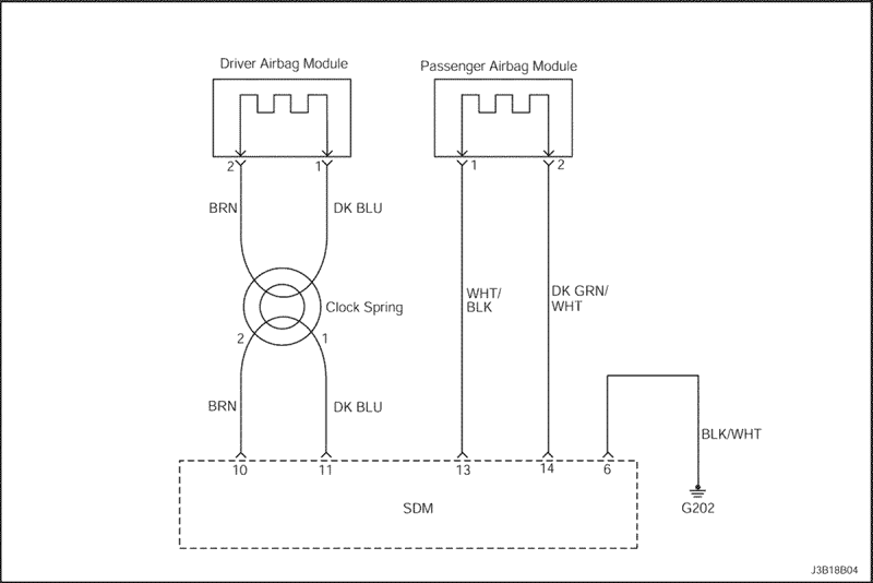
Высокое сопротивление цепи срабатывания подушки безопасности водителя
Описание схемы
При установке ключа зажигания в положение ON модуль датчиков и диагностики (SDM) выполняет начальную проверку для выявления существенных неполадок внутри самого SDM.
После этих проверок модуль измеряет напряжения в цепях зажигания и срабатывания подушек безопасности, проверяя, что они находятся в номинальных диапазонах. SDM контролирует напряжения на проводах нижнего уровня подушек водителя и пассажира, выявляя замыкание цепей срабатывания на массу или напряжение питания.
Модуль датчиков и диагностики (SDM) проверяет проводку к модулю подушки безопасности водителя, пропуская ничтожно малый ток через внутреннюю цепь и проверяя сопротивление.
Диагностический код неисправности dtc 1 записывается, когда
Сопротивление цепи срабатывания подушки безопасности водителя превышает 4,7 Ом.
dtc 1 Высокое сопротивление цепи срабатывания подушки безопасности водителя
Внимание! Модуль датчиков и диагностики (SDM) может сохранять достаточное напряжение для приведения в действие подушек безопасности и натяжителей в течение 1 минуты после выключения зажигания и удаления предохранителя. Если подушки безопасности и натяжители не отсоединены, не начинайте обслуживание, пока не пройдет одна минута после отключения питания от SDM. Несоблюдение этого требования может привести к травмам.
Внимание! В процессе обслуживания обращайтесь с модулем датчиков и диагностики (SDM) очень осторожно. Не ударяйте и не встряхивайте SDM. Никогда не подключайте питание к системе надувных подушек безопасности (SIR), если SDM не соединен жестко с автомобилем. Чтобы система надувных подушек безопасности (SIR) работала правильно, все болты крепления модуля датчиков и диагностики SDM должны быть тщательно затянуты, а стрелка на SDM должна быть направлена к передней части автомобиля. При недостаточно жестком креплении модуля SDM к автомобилю включенный модуль может сработать, что приведет к неожиданному выпуску подушек безопасности и может повлечь травму.
Шаг
Операция
Значения
Да
Нет
1
Удостоверьтесь, что ключ зажигания находится в положении off.
Подождите минуту, чтобы разрядить заряд блока питания модуля датчиков и диагностики.
-
Перейдите на Шаг 2
-
2
Осмотрите разъем и проводку подушки безопасности водителя.
Разъем отключен?
-
Подключите разъем и Перейдите на Шаг 1
Перейдите на Шаг 3
3
Удостоверьтесь, что ключ зажигания находится в положении off.
Снимите модуль подушки безопасности водителя.
Отключите разъем проводки модуля датчиков и диагностики (sdm).
Проверьте сопротивление между выводами 10, 11 модуля датчиков и диагностики (sdm) и выводами 1, 2 модуля подушки безопасности водителя.
Сопротивление близко к 0 (нулю)?
≈ 0 Ом
Перейдите на Шаг 4
Перейдите на Шаг 5
4
Замените модуль датчиков и диагностики.
Удостоверьтесь, что ключ зажигания находится в положении on.
Сотрите диагностический код неисправности с помощью диагностического прибора.
Выполните проверку диагностической системы системы надувных подушек безопасности (sir).
Диагностический код неисправности удален?
-
Система в норме.
Замените проводку надувной подушки безопасности.
5
Отключите разъем от проводки часовой пружины.
Проверьте сопротивление между выводами 10, 11 модуля датчиков и диагностики (sdm) и выводами 1, 2 часовой пружины.
Сопротивление близко к 0 (нулю)?
≈ 0 Ом
Замените часовую пружину.
Замените проводку надувной подушки безопасности.
Диагностический код неисправности (dtc) 2
Низкое сопротивление цепи срабатывания подушки безопасности водителя
Описание схемы
При установке ключа зажигания в положение ON модуль датчиков и диагностики (SDM) выполняет начальную проверку для выявления существенных неполадок внутри самого SDM.
После этих проверок модуль измеряет напряжения в цепях зажигания и срабатывания подушек безопасности, проверяя, что они находятся в номинальных диапазонах. SDM контролирует напряжения на проводах нижнего уровня подушек водителя и пассажира, выявляя замыкание цепей срабатывания на массу или напряжение питания.
Модуль датчиков и диагностики (SDM) проверяет проводку к модулю подушки безопасности водителя, пропуская ничтожно малый ток через внутреннюю цепь и проверяя сопротивление.
Диагностический код неисправности dtc 2 записывается, когда
Сопротивление цепи срабатывания подушки безопасности водителя ниже 1,8 Ом.
Повреждена закорачивающая перемычка, модуль датчиков и диагностики (sdm) необходимо заменить.
dtc 2 Низкое сопротивление цепи срабатывания подушки безопасности водителя
Внимание! Модуль датчиков и диагностики (SDM) может сохранять достаточное напряжение для приведения в действие подушек безопасности и натяжителей в течение 1 минуты после выключения зажигания и удаления предохранителя. Если подушки безопасности и натяжители не отсоединены, не начинайте обслуживание, пока не пройдет одна минута после отключения питания от SDM. Несоблюдение этого требования может привести к травмам.
Внимание! В процессе обслуживания обращайтесь с модулем датчиков и диагностики (SDM) очень осторожно. Не ударяйте и не встряхивайте SDM. Никогда не подключайте питание к системе надувных подушек безопасности (SIR), если SDM не соединен жестко с автомобилем. Чтобы система надувных подушек безопасности (SIR) работала правильно, все болты крепления модуля датчиков и диагностики SDM должны быть тщательно затянуты, а стрелка на SDM должна быть направлена к передней части автомобиля. При недостаточно жестком креплении модуля SDM к автомобилю включенный модуль может сработать, что приведет к неожиданному выпуску подушек безопасности и может повлечь травму.
Шаг
Операция
Значения
Да
Нет
1
Удостоверьтесь, что ключ зажигания находится в положении off.
Подождите минуту, чтобы разрядить заряд блока питания модуля датчиков и диагностики.
-
Перейдите на Шаг 2
-
2
Осмотрите разъем и проводку подушки безопасности водителя.
Проводка надувной подушки безопасности повреждена?
-
Замените проводку надувной подушки безопасности.
Перейдите на Шаг 5
3
Удостоверьтесь, что ключ зажигания находится в положении off.
Снимите модуль подушки безопасности водителя.
Отключите разъем проводки модуля датчиков и диагностики (sdm).
Проверьте сопротивление между выводами 1 и 2 модуля подушки безопасности водителя.
Сопротивление равно ∞?
∞
Перейдите на Шаг 4
Перейдите на Шаг 5
4
Замените модуль датчиков и диагностики.
Удостоверьтесь, что ключ зажигания находится в положении on.
Сотрите диагностический код неисправности с помощью диагностического прибора.
Выполните проверку диагностической системы системы надувных подушек безопасности (sir).
Диагностический код неисправности удален?
-
Система в норме.
Замените модуль подушки безопасности водителя.
5
Отключите разъем от проводки часовой пружины.
Проверьте сопротивление между выводами 1 и 2 часовой пружины.
Сопротивление равно ∞?
∞
Замените проводку надувной подушки безопасности.
Замените часовую пружину.
Диагностический код неисправности (dtc) 3
Цепь срабатывания подушки безопасности водителя закорочена на массу
Описание схемы
При установке ключа зажигания в положение ON модуль датчиков и диагностики (SDM) выполняет начальную проверку для выявления существенных неполадок внутри самого SDM.
После этих проверок модуль измеряет напряжения в цепях зажигания и срабатывания подушек безопасности, проверяя, что они находятся в номинальных диапазонах. SDM контролирует напряжения на проводах нижнего уровня подушек водителя и пассажира, выявляя замыкание цепей срабатывания на массу или напряжение питания.
Модуль датчиков и диагностики (SDM) проверяет проводку к модулю подушки безопасности водителя, пропуская ничтожно малый ток через внутреннюю цепь и проверяя сопротивление.
Диагностический код неисправности dtc 3 записывается, когда
Провод верхнего уровня проводки подушки безопасности водителя закорочен на массу.
Провод нижнего уровня проводки подушки безопасности водителя закорочен на массу.
dtc 3 Цепь срабатывания подушки безопасности водителя закорочена на массу
Внимание! Модуль датчиков и диагностики (SDM) может сохранять достаточное напряжение для приведения в действие подушек безопасности и натяжителей в течение 1 минуты после выключения зажигания и удаления предохранителя. Если подушки безопасности и натяжители не отсоединены, не начинайте обслуживание, пока не пройдет одна минута после отключения питания от SDM. Несоблюдение этого требования может привести к травмам.
Внимание! В процессе обслуживания обращайтесь с модулем датчиков и диагностики (SDM) очень осторожно. Не ударяйте и не встряхивайте SDM. Никогда не подключайте питание к системе надувных подушек безопасности (SIR), если SDM не соединен жестко с автомобилем. Чтобы система надувных подушек безопасности (SIR) работала правильно, все болты крепления модуля датчиков и диагностики SDM должны быть тщательно затянуты, а стрелка на SDM должна быть направлена к передней части автомобиля. При недостаточно жестком креплении модуля SDM к автомобилю включенный модуль может сработать, что приведет к неожиданному выпуску подушек безопасности и может повлечь травму.
Шаг
Операция
Значения
Да
Нет
1
Удостоверьтесь, что ключ зажигания находится в положении off.
Подождите минуту, чтобы разрядить заряд блока питания модуля датчиков и диагностики.
-
Перейдите на Шаг 2
-
2
Осмотрите разъем и проводку подушки безопасности водителя.
Проводка надувной подушки безопасности повреждена?
-
Замените проводку надувной подушки безопасности.
Перейдите на Шаг 3
3
Удостоверьтесь, что ключ зажигания находится в положении off.
Снимите модуль подушки безопасности водителя.
Отключите разъем проводки модуля датчиков и диагностики (sdm).
Проверьте сопротивление между проводами верхнего и нижнего уровня модуля подушки безопасности водителя и массой.
Сопротивление равно ∞?
∞
Перейдите на Шаг 4
Перейдите на Шаг 5
4
Замените модуль датчиков и диагностики.
Удостоверьтесь, что ключ зажигания находится в положении on.
Сотрите диагностический код неисправности с помощью диагностического прибора.
Выполните проверку диагностической системы системы надувных подушек безопасности (sir).
Диагностический код неисправности удален?
-
Система в норме.
Замените модуль подушки безопасности водителя.
5
Отключите разъем от проводки часовой пружины.
Проверьте сопротивление между проводами верхнего и нижнего уровня часовой пружины и массой.
Сопротивление равно ∞?
∞
Замените часовую пружину.
Замените проводку надувной подушки безопасности.
Диагностический код неисправности (dtc) 4
Цепь срабатывания подушки безопасности водителя закорочена на напряжение питания
Описание схемы
При установке ключа зажигания в положение ON модуль датчиков и диагностики (SDM) выполняет начальную проверку для выявления существенных неполадок внутри самого SDM.
После этих проверок модуль измеряет напряжения в цепях зажигания и срабатывания подушек безопасности, проверяя, что они находятся в номинальных диапазонах. SDM контролирует напряжения на проводах нижнего уровня подушек водителя и пассажира, выявляя замыкание цепей срабатывания на массу или напряжение питания.
Модуль датчиков и диагностики (SDM) проверяет проводку к модулю подушки безопасности водителя, пропуская ничтожно малый ток через внутреннюю цепь и проверяя сопротивление.
Диагностический код неисправности dtc 4 записывается, когда
Провод верхнего уровня проводки подушки безопасности водителя закорочен на провод аккумулятора.
Провод нижнего уровня проводки подушки безопасности водителя закорочен на провод аккумулятора.
dtc 4 Цепь срабатывания подушки безопасности водителя закорочена на напряжение питания
Внимание! Модуль датчиков и диагностики (SDM) может сохранять достаточное напряжение для приведения в действие подушек безопасности и натяжителей в течение 1 минуты после выключения зажигания и удаления предохранителя. Если подушки безопасности и натяжители не отсоединены, не начинайте обслуживание, пока не пройдет одна минута после отключения питания от SDM. Несоблюдение этого требования может привести к травмам.
Внимание! В процессе обслуживания обращайтесь с модулем датчиков и диагностики (SDM) очень осторожно. Не ударяйте и не встряхивайте SDM. Никогда не подключайте питание к системе надувных подушек безопасности (SIR), если SDM не соединен жестко с автомобилем. Чтобы система надувных подушек безопасности (SIR) работала правильно, все болты крепления модуля датчиков и диагностики SDM должны быть тщательно затянуты, а стрелка на SDM должна быть направлена к передней части автомобиля. При недостаточно жестком креплении модуля SDM к автомобилю включенный модуль может сработать, что приведет к неожиданному выпуску подушек безопасности и может повлечь травму.
Шаг
Операция
Значения
Да
Нет
1
Удостоверьтесь, что ключ зажигания находится в положении off.
Подождите минуту, чтобы разрядить заряд блока питания модуля датчиков и диагностики.
-
Перейдите на Шаг 2
-
2
Осмотрите разъем и проводку подушки безопасности водителя.
Проводка надувной подушки безопасности повреждена?
-
Замените проводку надувной подушки безопасности.
Перейдите на Шаг 3
3
Удостоверьтесь, что ключ зажигания находится в положении off.
Снимите модуль подушки безопасности водителя.
Отключите разъем проводки модуля датчиков и диагностики (sdm).
Проверьте сопротивление между проводами верхнего и нижнего уровня модуля подушки безопасности водителя и проводом аккумулятора.
Сопротивление равно ∞?
∞
Перейдите на Шаг 4
Перейдите на Шаг 5
4
Замените модуль датчиков и диагностики.
Удостоверьтесь, что ключ зажигания находится в положении on.
Сотрите диагностический код неисправности с помощью диагностического прибора.
Выполните проверку диагностической системы системы надувных подушек безопасности (sir).
Диагностический код неисправности удален?
-
Система в норме.
Замените модуль подушки безопасности водителя.
5
Отключите разъем от проводки часовой пружины.
Проверьте сопротивление между проводами верхнего и нижнего уровня часовой пружины и аккумулятором.
Сопротивление равно ∞?
∞
Замените часовую пружину.
Замените проводку надувной подушки безопасности.
Диагностический код неисправности (dtc) 5
Высокое сопротивление цепи срабатывания подушки безопасности пассажира
Описание схемы
При установке ключа зажигания в положение ON модуль датчиков и диагностики (SDM) выполняет начальную проверку для выявления существенных неполадок внутри самого SDM.
После этих проверок модуль измеряет напряжения в цепях зажигания и срабатывания подушек безопасности, проверяя, что они находятся в номинальных диапазонах. SDM контролирует напряжения на проводах нижнего уровня подушек водителя и пассажира, выявляя замыкание цепей срабатывания на массу или напряжение питания.
Модуль датчиков и диагностики (SDM) проверяет проводку к модулю подушки безопасности пассажира, пропуская ничтожно малый ток через внутреннюю цепь и проверяя ее сопротивление.
Диагностический код неисправности dtc 5 записывается, когда
Сопротивление цепи срабатывания подушки безопасности пассажира превышает 2,8 Ом.
dtc 5 Высокое сопротивление цепи срабатывания подушки безопасности пассажира
Внимание! Модуль датчиков и диагностики (SDM) может сохранять достаточное напряжение для приведения в действие подушек безопасности и натяжителей в течение 1 минуты после выключения зажигания и удаления предохранителя. Если подушки безопасности и натяжители не отсоединены, не начинайте обслуживание, пока не пройдет одна минута после отключения питания от SDM. Несоблюдение этого требования может привести к травмам.
Внимание! В процессе обслуживания обращайтесь с модулем датчиков и диагностики (SDM) очень осторожно. Не ударяйте и не встряхивайте SDM. Никогда не подключайте питание к системе надувных подушек безопасности (SIR), если SDM не соединен жестко с автомобилем. Чтобы система надувных подушек безопасности (SIR) работала правильно, все болты крепления модуля датчиков и диагностики SDM должны быть тщательно затянуты, а стрелка на SDM должна быть направлена к передней части автомобиля. При недостаточно жестком креплении модуля SDM к автомобилю включенный модуль может сработать, что приведет к неожиданному выпуску подушек безопасности и может повлечь травму.
Шаг
Операция
Значения
Да
Нет
1
Удостоверьтесь, что ключ зажигания находится в положении off.
Подождите минуту, чтобы разрядить заряд блока питания модуля датчиков и диагностики.
-
Перейдите на Шаг 2
-
2
Осмотрите разъем и проводку подушки безопасности пассажира.
Разъем отключен?
-
Подключите разъем и Перейдите на Шаг 1
Перейдите на Шаг 3
3
Удостоверьтесь, что ключ зажигания находится в положении off.
Снимите модуль подушки безопасности водителя.
Отключите разъем проводки модуля датчиков и диагностики (sdm).
Проверьте сопротивление между выводами 13, 14 модуля датчиков и диагностики (sdm) и выводами 1, 2 модуля подушки безопасности пассажира.
Сопротивление близко к 0 (нулю)?
≈ 0 Ом
Перейдите на Шаг 4
Замените проводку надувной подушки безопасности.
4
Замените модуль датчиков и диагностики.
Удостоверьтесь, что ключ зажигания находится в положении on.
Сотрите диагностический код неисправности с помощью диагностического прибора.
Выполните проверку диагностической системы надувных подушек безопасности (sir).
Диагностический код неисправности удален?
-
Система в норме.
Замените модуль подушки безопасности пассажира.
Диагностический код неисправности (dtc) 6
Низкое сопротивление цепи срабатывания подушки безопасности пассажира
Описание схемы
При установке ключа зажигания в положение ON модуль датчиков и диагностики (SDM) выполняет начальную проверку для выявления существенных неполадок внутри самого SDM.
После этих проверок модуль измеряет напряжения в цепях зажигания и срабатывания подушек безопасности, проверяя, что они находятся в номинальных диапазонах. SDM контролирует напряжения на проводах нижнего уровня подушек водителя и пассажира, выявляя замыкание цепей срабатывания на массу или напряжение питания.
Модуль датчиков и диагностики (SDM) проверяет проводку к модулю подушки безопасности пассажира, пропуская ничтожно малый ток через внутреннюю цепь и проверяя ее сопротивление.
Диагностический код неисправности dtc 6 записывается, когда
Сопротивление цепи срабатывания подушки безопасности водителя ниже 1,4 Ом.
Повреждена закорачивающая перемычка, модуль датчиков и диагностики (sdm) необходимо заменить.
dtc 6 Низкое сопротивление цепи срабатывания подушки безопасности пассажира
Внимание! Модуль датчиков и диагностики (SDM) может сохранять достаточное напряжение для приведения в действие подушек безопасности и натяжителей в течение 1 минуты после выключения зажигания и удаления предохранителя. Если подушки безопасности и натяжители не отсоединены, не начинайте обслуживание, пока не пройдет одна минута после отключения питания от SDM. Несоблюдение этого требования может привести к травмам.
Внимание! В процессе обслуживания обращайтесь с модулем датчиков и диагностики (SDM) очень осторожно. Не ударяйте и не встряхивайте SDM. Никогда не подключайте питание к системе надувных подушек безопасности (SIR), если SDM не соединен жестко с автомобилем. Чтобы система надувных подушек безопасности (SIR) работала правильно, все болты крепления модуля датчиков и диагностики SDM должны быть тщательно затянуты, а стрелка на SDM должна быть направлена к передней части автомобиля. При недостаточно жестком креплении модуля SDM к автомобилю включенный модуль может сработать, что приведет к неожиданному выпуску подушек безопасности и может повлечь травму.
Шаг
Операция
Значения
Да
Нет
1
Удостоверьтесь, что ключ зажигания находится в положении off.
Подождите минуту, чтобы разрядить заряд блока питания модуля датчиков и диагностики.
-
Перейдите на Шаг 2
-
2
Осмотрите разъем и проводку натяжителя ремня безопасности водителя.
Проводка повреждена?
-
Замените проводку надувной подушки безопасности.
Перейдите на Шаг 3
3
Удостоверьтесь, что ключ зажигания находится в положении off.
Отключите разъем натяжителя ремня безопасности водителя.
Отключите разъем проводки модуля датчиков и диагностики (sdm).
Проверить сопротивление между выводами 1 и 2 модуля подушки безопасности пассажира.
Сопротивление равно ∞?
∞
Перейдите на Шаг 4
Замените проводку надувной подушки безопасности.
4
Замените модуль датчиков и диагностики.
Удостоверьтесь, что ключ зажигания находится в положении on.
Сотрите диагностический код неисправности с помощью диагностического прибора.
Выполните проверку диагностической системы системы надувных подушек безопасности (sir).
Диагностический код неисправности удален?
-
Система в норме.
Замените модуль подушки безопасности пассажира.
Диагностический код неисправности (dtc) 7
Цепь срабатывания подушки безопасности пассажира закорочена на массу
Описание схемы
При установке ключа зажигания в положение ON модуль датчиков и диагностики (SDM) выполняет начальную проверку для выявления существенных неполадок внутри самого SDM.
После этих проверок модуль измеряет напряжения в цепях зажигания и срабатывания подушек безопасности, проверяя, что они находятся в номинальных диапазонах. SDM контролирует напряжения на проводах нижнего уровня подушек водителя и пассажира, выявляя замыкание цепей срабатывания на массу или напряжение питания.
Модуль датчиков и диагностики (SDM) проверяет проводку к модулю подушки безопасности пассажира, пропуская ничтожно малый ток через внутреннюю цепь и проверяя ее сопротивление.
Диагностический код неисправности dtc 7 записывается, когда
Провод верхнего уровня проводки подушки безопасности пассажира закорочен на массу.
Провод нижнего уровня проводки подушки безопасности пассажира закорочен на массу.
dtc 7 Цепь срабатывания подушки безопасности пассажира закорочена на массу
Внимание! Модуль датчиков и диагностики (SDM) может сохранять достаточное напряжение для приведения в действие подушек безопасности и натяжителей в течение 1 минуты после выключения зажигания и удаления предохранителя. Если подушки безопасности и натяжители не отсоединены, не начинайте обслуживание, пока не пройдет одна минута после отключения питания от SDM. Несоблюдение этого требования может привести к травмам.
Внимание! В процессе обслуживания обращайтесь с модулем датчиков и диагностики (SDM) очень осторожно. Не ударяйте и не встряхивайте SDM. Никогда не подключайте питание к системе надувных подушек безопасности (SIR), если SDM не соединен жестко с автомобилем. Чтобы система надувных подушек безопасности (SIR) работала правильно, все болты крепления модуля датчиков и диагностики SDM должны быть тщательно затянуты, а стрелка на SDM должна быть направлена к передней части автомобиля. При недостаточно жестком креплении модуля SDM к автомобилю включенный модуль может сработать, что приведет к неожиданному выпуску подушек безопасности и может повлечь травму.
Шаг
Операция
Значения
Да
Нет
1
Удостоверьтесь, что ключ зажигания находится в положении off.
Подождите минуту, чтобы разрядить заряд блока питания модуля датчиков и диагностики.
-
Перейдите на Шаг 2
-
2
Осмотрите разъем и проводку подушки безопасности пассажира.
Проводка надувной подушки безопасности повреждена?
-
Замените проводку надувной подушки безопасности.
Перейдите на Шаг 3
3
Удостоверьтесь, что ключ зажигания находится в положении off.
Снимите модуль подушки безопасности пассажира.
Отключите разъем проводки модуля датчиков и диагностики (sdm).
Проверить сопротивление между проводами верхнего и нижнего уровня модуля подушки безопасности пассажира и массой.
Сопротивление равно ∞?
∞
Перейдите на Шаг 4
Замените проводку надувной подушки безопасности.
4
Замените модуль датчиков и диагностики.
Удостоверьтесь, что ключ зажигания находится в положении on.
Сотрите диагностический код неисправности с помощью диагностического прибора.
Выполните проверку диагностической системы системы надувных подушек безопасности (sir).
Диагностический код неисправности удален?
-
Система в норме.
Замените модуль подушки безопасности пассажира.
Диагностический код неисправности (dtc) 8
Цепь срабатывания подушки безопасности пассажира закорочена на напряжение питания
Описание схемы
При установке ключа зажигания в положение ON модуль датчиков и диагностики (SDM) выполняет начальную проверку для выявления существенных неполадок внутри самого SDM.
После этих проверок модуль измеряет напряжения в цепях зажигания и срабатывания подушек безопасности, проверяя, что они находятся в номинальных диапазонах. SDM контролирует напряжения на проводах нижнего уровня подушек водителя и пассажира, выявляя замыкание цепей срабатывания на массу или напряжение питания.
Модуль датчиков и диагностики (SDM) проверяет проводку к модулю подушки безопасности пассажира, пропуская ничтожно малый ток через внутреннюю цепь и проверяя ее сопротивление.
Диагностический код неисправности dtc 8 записывается, когда
Провод верхнего уровня проводки подушки безопасности пассажира закорочен на провод аккумулятора.
Провод нижнего уровня проводки подушки безопасности пассажира закорочен на провод аккумулятора.
dtc 8 Цепь срабатывания подушки безопасности пассажира закорочена на напряжение питания
Внимание! Модуль датчиков и диагностики (SDM) может сохранять достаточное напряжение для приведения в действие подушек безопасности и натяжителей в течение 1 минуты после выключения зажигания и удаления предохранителя. Если подушки безопасности и натяжители не отсоединены, не начинайте обслуживание, пока не пройдет одна минута после отключения питания от SDM. Несоблюдение этого требования может привести к травмам.
Внимание! В процессе обслуживания обращайтесь с модулем датчиков и диагностики (SDM) очень осторожно. Не ударяйте и не встряхивайте SDM. Никогда не подключайте питание к системе надувных подушек безопасности (SIR), если SDM не соединен жестко с автомобилем. Чтобы система надувных подушек безопасности (SIR) работала правильно, все болты крепления модуля датчиков и диагностики SDM должны быть тщательно затянуты, а стрелка на модуле SDM должна быть направлена к передней части автомобиля. При недостаточно жестком креплении модуля SDM к автомобилю включенный модуль может сработать, что приведет к неожиданному выпуску подушек безопасности и может повлечь травму.
Шаг
Операция
Значения
Да
Нет
1
Удостоверьтесь, что ключ зажигания находится в положении off.
Подождите минуту, чтобы разрядить заряд блока питания модуля датчиков и диагностики.
-
Перейдите на Шаг 2
-
2
Осмотрите разъем и проводку подушки безопасности пассажира.
Проводка надувной подушки безопасности повреждена?
-
Замените проводку надувной подушки безопасности.
Перейдите на Шаг 3
3
Удостоверьтесь, что ключ зажигания находится в положении off.
Снимите модуль подушки безопасности пассажира.
Отключите разъем проводки модуля датчиков и диагностики (sdm).
Проверить сопротивление между проводами верхнего и нижнего уровня модуля подушки безопасности пассажира и аккумулятором.
Сопротивление равно ∞?
∞
Перейдите на Шаг 4
Замените проводку надувной подушки безопасности.
4
Замените модуль датчиков и диагностики.
Удостоверьтесь, что ключ зажигания находится в положении on.
Сотрите диагностический код неисправности с помощью диагностического прибора.
Выполните проверку диагностической системы системы надувных подушек безопасности (sir).
Диагностический код неисправности удален?
-
Система в норме.
Замените модуль подушки безопасности пассажира.
Диагностический код неисправности (dtc) 9
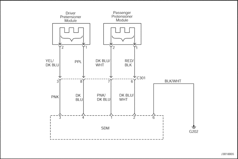
Высокое сопротивление цепи срабатывания натяжителя ремня безопасности водителя
Описание схемы
При установке ключа зажигания в положение ON модуль датчиков и диагностики (SDM) выполняет начальную проверку для выявления существенных неполадок внутри самого SDM.
После этих проверок модуль измеряет напряжения в цепях зажигания и срабатывания подушек безопасности, проверяя, что они находятся в номинальных диапазонах. SDM контролирует напряжения на проводах нижнего уровня подушек водителя и пассажира, выявляя замыкание цепей срабатывания на массу или напряжение питания.
Модуль датчиков и диагностики (SDM) проверяет проводку к преднатяжителю ремня безопасности водителя, пропуская ничтожно малый ток через внутреннюю цепь и проверяя сопротивление.
Диагностический код неисправности dtc 9 записывается, когда
Сопротивление цепи срабатывания натяжителя ремня безопасности водителя превышает 3,1 Ом.
dtc 9 Высокое сопротивление цепи срабатывания натяжителя ремня безопасности водителя
Внимание! Модуль датчиков и диагностики (SDM) может сохранять достаточное напряжение для приведения в действие подушек безопасности и натяжителей в течение 1 минуты после выключения зажигания и удаления предохранителя. Если подушки безопасности и натяжители не отсоединены, не начинайте обслуживание, пока не пройдет одна минута после отключения питания от SDM. Несоблюдение этого требования может привести к травмам.
Внимание! В процессе обслуживания обращайтесь с модулем датчиков и диагностики (SDM) очень осторожно. Не ударяйте и не встряхивайте SDM. Никогда не подключайте питание к системе надувных подушек безопасности (SIR), если SDM не соединен жестко с автомобилем. Чтобы система надувных подушек безопасности (SIR) работала правильно, все болты крепления модуля датчиков и диагностики SDM должны быть тщательно затянуты, а стрелка на модуле SDM должна быть направлена к передней части автомобиля. При недостаточно жестком креплении модуля SDM к автомобилю включенный модуль может сработать, что приведет к неожиданному выпуску подушек безопасности и может повлечь травму.
Шаг
Операция
Значения
Да
Нет
1
Удостоверьтесь, что ключ зажигания находится в положении off.
Подождите минуту, чтобы разрядить заряд блока питания модуля датчиков и диагностики.
-
Перейдите на Шаг 2
-
2
Осмотрите разъем и проводку натяжителя ремня безопасности пассажира.
Разъем отключен?
-
Подключить разъем и перейти на Шаг 1
Перейдите на Шаг 3
3
Удостоверьтесь, что ключ зажигания находится в положении off.
Отключить разъем преднатяжителя ремня безопасности водителя.
Отключите разъем проводки модуля датчиков и диагностики (sdm).
Проверьте сопротивление между выводами 3, 4 модуля sdm и выводами 1, 2 натяжителя ремня безопасности водителя.
Сопротивление равно ∞?
∞
Перейдите на Шаг 4
Замените проводку надувной подушки безопасности.
4
Замените модуль датчиков и диагностики.
Удостоверьтесь, что ключ зажигания находится в положении on.
Сотрите диагностический код неисправности с помощью диагностического прибора.
Выполните проверку диагностической системы системы надувных подушек безопасности (sir).
Диагностический код неисправности удален?
-
Система в норме.
Замените натяжитель ремня безопасности водителя.
Диагностический код неисправности (dtc) 10
Низкое сопротивление цепи срабатывания натяжителя ремня безопасности водителя
Описание схемы
При установке ключа зажигания в положение ON модуль датчиков и диагностики (SDM) выполняет начальную проверку для выявления существенных неполадок внутри самого SDM.
После этих проверок модуль измеряет напряжения в цепях зажигания и срабатывания подушек безопасности, проверяя, что они находятся в номинальных диапазонах. SDM контролирует напряжения на проводах нижнего уровня подушек водителя и пассажира, выявляя замыкание цепей срабатывания на массу или напряжение питания.
Модуль датчиков и диагностики (SDM) проверяет проводку к преднатяжителю ремня безопасности водителя, пропуская ничтожно малый ток через внутреннюю цепь и проверяя сопротивление.
Диагностический код неисправности dtc 10 записывается, когда
Сопротивление цепи срабатывания натяжителя ремня безопасности водителя менее 1,5 Ом.
Повреждена закорачивающая перемычка, модуль датчиков и диагностики (sdm) необходимо заменить.
dtc 10 Низкое сопротивление цепи срабатывания натяжителя ремня безопасности водителя
Внимание! Модуль датчиков и диагностики (SDM) может сохранять достаточное напряжение для приведения в действие подушек безопасности и натяжителей в течение 1 минуты после выключения зажигания и удаления предохранителя. Если подушки безопасности и натяжители не отсоединены, не начинайте обслуживание, пока не пройдет одна минута после отключения питания от SDM. Несоблюдение этого требования может привести к травмам.
Внимание! В процессе обслуживания обращайтесь с модулем датчиков и диагностики (SDM) очень осторожно. Не ударяйте и не встряхивайте SDM. Никогда не подключайте питание к системе надувных подушек безопасности (SIR), если SDM не соединен жестко с автомобилем. Чтобы система надувных подушек безопасности (SIR) работала правильно, все болты крепления модуля датчиков и диагностики SDM должны быть тщательно затянуты, а стрелка на SDM должна быть направлена к передней части автомобиля. При недостаточно жестком креплении модуля SDM к автомобилю включенный модуль может сработать, что приведет к неожиданному выпуску подушек безопасности и может повлечь травму.
Шаг
Операция
Значения
Да
Нет
1
Удостоверьтесь, что ключ зажигания находится в положении off.
Подождите минуту, чтобы разрядить заряд блока питания модуля датчиков и диагностики.
-
Перейдите на Шаг 2
-
2
Осмотрите разъем и проводку натяжителя ремня безопасности водителя.
Проводка повреждена?
-
Замените проводку надувной подушки безопасности.
Перейдите на Шаг 3
3
Удостоверьтесь, что ключ зажигания находится в положении off.
Отключите разъем натяжителя ремня безопасности водителя.
Отключите разъем проводки модуля датчиков и диагностики (sdm).
Проверьте сопротивление между выводами 1 и 2 натяжителя ремня безопасности водителя.
Сопротивление равно ∞?
∞
Перейдите на Шаг 4
Замените проводку надувной подушки безопасности.
4
Замените модуль датчиков и диагностики.
Удостоверьтесь, что ключ зажигания находится в положении on.
Сотрите диагностический код неисправности с помощью диагностического прибора.
Выполните проверку диагностической системы системы надувных подушек безопасности (sir).
Диагностический код неисправности удален?
-
Система в норме.
Замените натяжитель ремня безопасности водителя.
Диагностический код неисправности (dtc) 11
Цепь срабатывания натяжителя ремня безопасности водителя закорочена на массу
Описание схемы
При установке ключа зажигания в положение ON модуль датчиков и диагностики (SDM) выполняет начальную проверку для выявления существенных неполадок внутри самого SDM.
После этих проверок модуль измеряет напряжения в цепях зажигания и срабатывания подушек безопасности, проверяя, что они находятся в номинальных диапазонах. SDM контролирует напряжения на проводах нижнего уровня подушек водителя и пассажира, выявляя замыкание цепей срабатывания на массу или напряжение питания.
Модуль датчиков и диагностики (SDM) проверяет проводку к преднатяжителю ремня безопасности водителя, пропуская ничтожно малый ток через внутреннюю цепь и проверяя сопротивление.
Диагностический код неисправности dtc 11 записывается, когда
Провод верхнего уровня проводки натяжителя ремня безопасности водителя закорочен на массу.
Провод нижнего уровня проводки натяжителя ремня безопасности водителя закорочен на массу.
dtc 11 Цепь срабатывания натяжителя ремня безопасности водителя закорочена на массу
Внимание! Модуль датчиков и диагностики (SDM) может сохранять достаточное напряжение для приведения в действие подушек безопасности и натяжителей в течение 1 минуты после выключения зажигания и удаления предохранителя. Если подушки безопасности и натяжители не отсоединены, не начинайте обслуживание, пока не пройдет одна минута после отключения питания от SDM. Несоблюдение этого требования может привести к травмам.
Внимание! В процессе обслуживания обращайтесь с модулем датчиков и диагностики (SDM) очень осторожно. Не ударяйте и не встряхивайте SDM. Никогда не подключайте питание к системе надувных подушек безопасности (SIR), если SDM не соединен жестко с автомобилем. Чтобы система надувных подушек безопасности (SIR) работала правильно, все болты крепления модуля датчиков и диагностики SDM должны быть тщательно затянуты, а стрелка на SDM должна быть направлена к передней части автомобиля. При недостаточно жестком креплении модуля SDM к автомобилю включенный модуль может сработать, что приведет к неожиданному выпуску подушек безопасности и может повлечь травму.
Шаг
Операция
Значения
Да
Нет
1
Удостоверьтесь, что ключ зажигания находится в положении off.
Подождите минуту, чтобы разрядить заряд блока питания модуля датчиков и диагностики.
-
Перейдите на Шаг 2
-
2
Осмотрите разъем и проводку подушки безопасности водителя.
Проводка надувной подушки безопасности повреждена?
-
Замените проводку надувной подушки безопасности.
Перейдите на Шаг 3
3
Удостоверьтесь, что ключ зажигания находится в положении off.
Отключите разъем натяжителя ремня безопасности водителя.
Отключите разъем проводки модуля датчиков и диагностики (sdm).
Проверить сопротивление между проводами верхнего и нижнего уровня преднатяжителя ремня безопасности водителя и массой.
Сопротивление равно ∞?
∞
Перейдите на Шаг 4
Замените проводку надувной подушки безопасности.
4
Замените модуль датчиков и диагностики.
Удостоверьтесь, что ключ зажигания находится в положении on.
Сотрите диагностический код неисправности с помощью диагностического прибора.
Выполните проверку диагностической системы системы надувных подушек безопасности (sir).
Диагностический код неисправности удален?
-
Система в норме.
Замените натяжитель ремня безопасности водителя.
https://vnx.su/ 🛠 Руководства по ремонту и эксплуатации для автомобилей