К началу документа
Nubira-Lacetti
На предыдущую страницуНа следующую страницу
Главная страница GMDEЗагрузить нединамическое оглавлениеЗагрузить динамическое оглавлениеПомощь

ДИАГНОСТИКА КОДОВ НЕИСПРАВНОСТЕЙ

Таблица диагностических кодов

КОД
ОПИСАНИЕ
ТИП
Сигнализатор неисправностей горит
Мигает
лампа hold
p0562
Напряжение бортовой сети, низкий уровень
b
Да
Нет
p0563
Напряжение бортовой сети, высокий уровень
b
Да
Нет
p0601
Контроллер ЭСУД, ошибка контрольной суммы
a
Да
Нет
p0604
Внутренняя ошибка оперативной памяти (ОЗУ) контроллера
b
Да
Нет
p0705
Неисправность цепи переключателя диапазонов коробки передач (tr) (нет сигнала)
b
Да
Нет
p0706
Неисправность цепи переключателя диапазонов коробки передач (tr) (короткое замыкание)
b
Да
Нет
p0711
Рабочие характеристики цепи датчика температуры трансмиссионного масла (tft)
a
Да
Нет
p0712
Датчик температуры рабочей жидкости КПП, низкий уровень входного сигнала
a
Да
Нет
p0713
Датчик температуры рабочей жидкости КПП, высокий уровень входного сигнала
a
Да
Нет
p0717
Датчик скорости первичного вала КПП, сигнал отсутствует
a
Да
Нет
p0722
Датчик скорости вторичного вала КПП, сигнал отсутствует
a
Да
Нет
p0741
Рабочие характеристики или блокировка во включенном состоянии цепи блокировочной муфты гидротрансформатора (tcc)
b
Да
Нет
p0742
Цепь блокировочной муфты гидротрансформатора, блокировка во включенном состоянии
b
Да
Нет
p0751
Рабочие характеристики или блокировка в выключенном состоянии электромагнитного клапана переключения передач 1 (ss1)
b
Да
Нет
p0752
Рабочие характеристики или блокировка во включенном состоянии электромагнитного клапана переключения передач 1 (ss1)
b
Да
Нет
p0756
Рабочие характеристики или блокировка в выключенном состоянии электромагнитного клапана переключения передач 2 (ss2)
b
Да
Нет
p0757
Рабочие характеристики или блокировка во включенном состоянии электромагнитного клапана переключения передач 2 (ss2)
b
Да
Нет
p0787
Электрическая неисправность электромагнитного клапана синхронизации (st) (замыкание на массу)
a
Да
Нет
p0788
Электрическая неисправность электромагнитного клапана синхронизации (st) (разрыв или замыкание на электропитание)
a
Да
Нет
p0962
Электрическая неисправность электромагнитного клапана регулировки давления (pcs) (низкий уровень)
a
Да
Нет
p0963
Электрическая неисправность электромагнитного клапана регулировки давления (pcs) (высокий уровень)
a
Да
Нет
p0973
Электрическая неисправность электромагнитного клапана переключения передач 1 (ss1) (замыкание на массу)
a
Да
Нет
p0974
Электрическая неисправность электромагнитного клапана переключения передач 1 (ss1) (разрыв или замыкание на электропитание)
a
Да
Нет
p0976
Электрическая неисправность электромагнитного клапана переключения передач 2 (ss2) (замыкание на массу)
a
Да
Нет
p0977
Электрическая неисправность электромагнитного клапана переключения передач 2 (ss2) (разрыв или замыкание на электропитание)
a
Да
Нет
p2769
Электрическая неисправность блокировочной муфты гидротрансформатора (tcc) (замыкание на массу)
b
Да
Нет
p2770
Электрическая неисправность блокировочной муфты гидротрансформатора (tcc) (разрыв или замыкание на электропитание)
b
Да
Нет
u0001
Высокоскоростная коммуникационная шина can
a
Да
Нет
u0100
Нарушение связи с ecm/pcm
a
Да
Нет
u0401
Прием неправильных данных из ecm/pcm
c1
Нет
Да
* Описание типов

J3D15A54
Показать иллюстрациюПеревод текста в иллюстрациях


Код p0562

Напряжение бортовой сети, низкий уровень

Условия действия dtc

Условия занесения кода неисправности

Действия при занесении кода неисправности

Условия очистки кода неисправности

Причина неисправности

dtc p0562 - Низкое напряжение бортовой сети

ШагОперацияЗначенияДаНет
1
  1. Выключить зажигание.
  2. Подключить диагностический прибор.
  3. Включить зажигание при неработающем двигателе.
  4. Довести обороты двигателя до 600 мин-1 или выше.
  5. Считать и очистить код(ы) неисправности.
  6. На диагностическом приборе выбрать напряжение бортсети.
  7. На движущемся автомобиле следить за показаниями прибора.
Напряжение находится в указанном диапазоне?
9 - 16 В
Перейти к Шагу 4
Перейти к Шагу 2
2
  1. Отсоединить провод аккумуляторной батареи.
  2. Измерить напряжение аккумулятора.
Напряжение находится в указанном диапазоне?
9 - 16 В
Перейти к Шагу 4
Перейти к Шагу 3
3
  1. Заменить аккумулятор.
Замена завершена?
-
Система исправна
-
4
  1. Включить фары.
  2. Включить кондиционер.
  3. Довести обороты двигателя до 600 мин-1 или выше.
  4. Следить за значением напряжения бортсети на экране прибора.
Напряжение находится в указанном диапазоне?
9 - 16 В
Перейти к Шагу 6
Перейти к Шагу 5
5
  1. Перевести замок зажигания в положение lock.
  2. При необходимости устранить неисправность цепи генератора.
Действие завершено?
-
Система исправна
-
6
Проверить предохранители ef1,f2 на разрыв.
Неисправность обнаружена?
-
Перейти к Шагу 7
Перейти к Шагу 8
7
Проверить предохранители ef1,f2 на замыкание. При необходимости заменить предохранитель.
Замена завершена?
-
Система исправна
-
8
  1. Включить зажигание.
  2. Измерить напряжение на ef1, f2.
Напряжение находится в указанном диапазоне?
9 - 16 В
Перейти к Шагу 10
Перейти к Шагу 9
9
Устранить разрыв в цепи питания, защищенной предохранителем.
Действие завершено?
-
Система исправна
-
10
  1. Перевести замок зажигания в положение lock.
  2. Разъединить электрический разъем контроллера КПП.
  3. Измерить сопротивление между предохранителем ef1 и контактом a24 разъема контроллера КПП.
Измеренное сопротивление находится в указанном диапазоне?
0Ом
Перейти к Шагу 12
Перейти к Шагу 11
11
Устранить замыкание на землю или разрыв цепи (между ef1 и контактом a24).
Ремонт завершен?
-
Система исправна
-
12
  1. Разъединить разъем c105 и разъем контроллера КПП.
  2. Включить зажигание.
  3. Измерить напряжение на контакте a24.
Напряжение находится в указанном диапазоне?
9 - 16 В
Перейти к Шагу 13
Перейти к Шагу 14
13
Устранить замыкание на напряжение бортсети в цепи между ef1 и контактом a24 разъема контроллера КПП.
Ремонт завершен?
-
Система исправна
-
14
  1. Перевести замок зажигания в положение lock.
  2. Разъединить разъем c201.
  3. Измерить сопротивление между предохранителем f2 и контактом a6 разъема контроллера КПП.
Измеренное сопротивление находится в указанном диапазоне?
0Ом
Перейти к Шагу 17
Перейти к Шагу 15
15
Устранить замыкание на землю или разрыв цепи (между f2 и контактом a6).
Ремонт завершен?
-
Система исправна
-
16
  1. Включить зажигание.
  2. Измерить напряжение на контакте a6.
Напряжение находится в указанном диапазоне?
9 - 16 В
Перейти к Шагу 17
Перейти к Шагу 18
17
Устранить замыкание на напряжение бортсети в цепи между f2 и контактом a6.
Ремонт завершен?
-
Система исправна
-
18
  1. Проверить надежность соединения жгута КПП с электрическим разъемом КПП.
  2. Убедиться в отсутствии деформации или повреждения контактов.
  3. Убедиться в отсутствии слабого натяжения контактов.
Неисправность обнаружена?
-
Проверить выполнение ремонта и перейти к Шагу 20
-
19
Заменить контроллер КПП.
Замена завершена?
-
Перейти к Шагу 20
-
20
  1. После окончания ремонта выбрать команду "clear info" ("очистить данные") на диагностическом приборе и провести дорожное испытание автомобиля.
  2. Просмотреть меню "DTC info" ("Информация о кодах").
Последнее испытание прошло неудачно или отображается текущий код?
-
Повторить диагностику
Проверить исправность после ремонта. Ремонт закончен

J3D15A54
Показать иллюстрациюПеревод текста в иллюстрациях


Код p0563

Напряжение бортовой сети, высокий уровень

Условия действия dtc

Условия занесения кода неисправности

Действия при занесении кода неисправности

Условия очистки кода неисправности

Причина неисправности

dtc p0563 - Высокое напряжение бортовой сети

ШагОперацияЗначенияДаНет
1
  1. Выключить зажигание.
  2. Подключить диагностический прибор.
  3. Включить зажигание при неработающем двигателе.
  4. Довести обороты двигателя до 600 мин-1 или выше.
  5. Считать и очистить код(ы) неисправности.
  6. На диагностическом приборе выбрать напряжение бортсети.
  7. На движущемся автомобиле следить за показаниями прибора.
Напряжение находится в указанном диапазоне?
9 - 16 В
Перейти к Шагу 4
Перейти к Шагу 2
2
  1. Отсоединить провод аккумуляторной батареи.
  2. Измерить напряжение аккумулятора.
Напряжение находится в указанном диапазоне?
9 - 16 В
Перейти к Шагу 4
Перейти к Шагу 3
3
  1. Заменить аккумулятор.
Замена завершена?
-
Система исправна
-
4
  1. Включить фары.
  2. Включить кондиционер.
  3. Довести обороты двигателя до 600 мин-1 или выше.
  4. Следить за значением напряжения бортсети на экране прибора.
Напряжение находится в указанном диапазоне?
9 - 16 В
Перейти к Шагу 6
Перейти к Шагу 5
5
  1. Перевести замок зажигания в положение lock.
  2. При необходимости устранить неисправность цепи генератора.
Действие завершено?
-
Система исправна
-
6
Проверить предохранители ef1,f2 на разрыв.
Неисправность обнаружена?
-
Перейти к Шагу 7
Перейти к Шагу 8
7
Проверить предохранители ef1,f2 на замыкание. При необходимости заменить предохранитель.
Замена завершена?
-
Система исправна
-
8
  1. Включить зажигание.
  2. Измерить напряжение на ef1, f2.
Напряжение находится в указанном диапазоне?
9 - 16 В
Перейти к Шагу 10
Перейти к Шагу 9
9
Устранить разрыв в цепи питания, защищенной предохранителем.
Действие завершено?
-
Система исправна
-
10
  1. Перевести замок зажигания в положение lock.
  2. Разъединить электрический разъем контроллера КПП.
  3. Измерить сопротивление между предохранителем ef1 и контактом a24 разъема контроллера КПП.
Измеренное сопротивление находится в указанном диапазоне?
0Ом
Перейти к Шагу 12
Перейти к Шагу 11
11
Устранить замыкание на землю или разрыв цепи (между ef1 и контактом a24).
Ремонт завершен?
-
Система исправна
-
12
  1. Разъединить разъем c105 и разъем контроллера КПП.
  2. Включить зажигание.
  3. Измерить напряжение на контакте a24.
Напряжение находится в указанном диапазоне?
9 - 16 В
Перейти к Шагу 13
Перейти к Шагу 14
13
Устранить замыкание на напряжение бортсети в цепи между ef1 и контактом a24 разъема контроллера КПП.
Ремонт завершен?
-
Система исправна
-
14
  1. Перевести замок зажигания в положение lock.
  2. Разъединить разъем c201.
  3. Измерить сопротивление между предохранителем f2 и контактом a6 разъема контроллера КПП.
Измеренное сопротивление находится в указанном диапазоне?
0Ом
Перейти к Шагу 17
Перейти к Шагу 15
15
Устранить замыкание на землю или разрыв цепи (между f2 и контактом a6).
Ремонт завершен?
-
Система исправна
-
16
  1. Включить зажигание.
  2. Измерить напряжение на контакте a6.
Напряжение находится в указанном диапазоне?
9 - 16 В
Перейти к Шагу 17
Перейти к Шагу 18
17
Устранить замыкание на напряжение бортсети в цепи между f2 и контактом a6.
Ремонт завершен?
-
Система исправна
-
18
  1. Проверить надежность соединения жгута КПП с электрическим разъемом КПП.
  2. Убедиться в отсутствии деформации или повреждения контактов.
  3. Убедиться в отсутствии слабого натяжения контактов.
Неисправность обнаружена?
-
Проверить выполнение ремонта и перейти к Шагу 20
-
19
Заменить контроллер КПП.
Замена завершена?
-
Перейти к Шагу 20
-
20
  1. После окончания ремонта выбрать команду "clear info" ("очистить данные") на диагностическом приборе и провести дорожное испытание автомобиля.
  2. Просмотреть меню "DTC info" ("Информация о кодах").
Последнее испытание прошло неудачно или отображается текущий код?
-
Повторить диагностику
Проверить исправность после ремонта. Ремонт закончен

J3B15A75
Показать иллюстрациюПеревод текста в иллюстрациях


Код p0601

Контроллер ЭСУД, ошибка контрольной суммы

Условия действия dtc

Условия занесения кода неисправности

Действия при занесении кода неисправности

Условия очистки кода неисправности

Причина неисправности

dtc p0601 - Внутренняя ошибка контрольной суммы памяти контроллера

ШагОперацияЗначенияДаНет
1
  1. Выключить зажигание.
  2. Подключить диагностический прибор.
  3. Двигатель остановлен. Перевести замок зажигания в положение ON.
  4. В меню "Diagnostic Trouble Codes Information" ("Информация о кодах") диагностического прибора выбрать команду "Store Freeze Frame/Failure Records" ("Стоп-кадр/Записи о неисправности").
  5. Сохранить данные стоп-кадра/записи о неисправности.
  6. В меню "Diagnostic Trouble Codes Information" ("Информация о кодах") выбрать команду "Clear DTC Information" ("Очистить информацию о кодах").
  7. Очистить информацию о кодах.
  8. Выполнить один драйв-цикл.
Сигнализатор неисправности горит?
-
Перейти к Шагу 2
Проверить жгут и разъем контроллера КПП на наличие признаков непостоянной неисправности. Провести необходимый ремонт.
2
  1. В меню "Diagnostic Trouble Codes Information" ("Информация о кодах") выбрать команду "Request DTC by Status" ("Запрос кодов по состоянию").
  2. Выполнить запрос кодов по состоянию.
Отображается ли код p0601?
-
Заменить контроллер КПП
Проверить жгут и разъем контроллера КПП на наличие признаков непостоянной неисправности. Провести необходимый ремонт.

J3B15A75
Показать иллюстрациюПеревод текста в иллюстрациях


Код p0604

Внутренняя ошибка оперативной памяти (ОЗУ) контроллера

Условия действия dtc

Условия занесения кода неисправности

Действия при занесении кода неисправности

Условия очистки кода неисправности

Причина неисправности

dtc p0604 - Внутренняя ошибка оперативной памяти (ОЗУ) контроллера

ШагОперацияЗначенияДаНет
1
  1. Выключить зажигание.
  2. Подключить диагностический прибор.
  3. Двигатель остановлен. Перевести замок зажигания в положение ON.
  4. В меню "Diagnostic Trouble Codes Information" ("Информация о кодах") диагностического прибора выбрать команду "Store Freeze Frame/Failure Records" ("Стоп-кадр/Записи о неисправности").
  5. Сохранить данные стоп-кадра/записи о неисправности.
  6. В меню "Diagnostic Trouble Codes Information" ("Информация о кодах") выбрать команду "Clear DTC Information" ("Очистить информацию о кодах").
  7. Очистить информацию о кодах.
  8. Выполнить два драйв-цикла.
Сигнализатор неисправности горит?
-
Перейти к Шагу 2
Проверить жгут и разъем контроллера КПП на наличие признаков непостоянной неисправности. Провести необходимый ремонт.
2
  1. В меню "Diagnostic Trouble Codes Information" ("Информация о кодах") выбрать команду "Request DTC by Status" ("Запрос кодов по состоянию").
  2. Выполнить запрос кодов по состоянию.
Отображается ли код p0604?
-
Заменить контроллер КПП
Проверить жгут и разъем контроллера КПП на наличие признаков непостоянной неисправности. Провести необходимый ремонт.

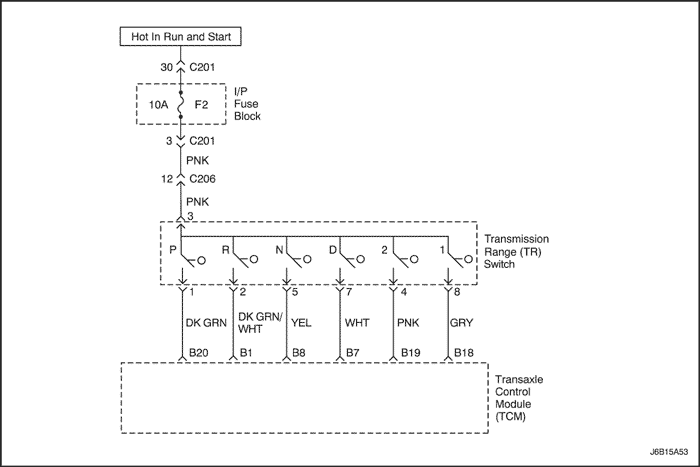
J6B15A53
Показать иллюстрациюПеревод текста в иллюстрациях


Код p0705

Неисправность цепи переключателя диапазонов коробки передач (tr) (нет сигнала)

Условия действия dtc

Условия занесения кода неисправности

Действия при занесении кода неисправности

Условия очистки кода неисправности

Причина неисправности

dtc p0705 - Неисправность цепи переключателя диапазонов коробки передач (tr) (нет сигнала)

ШагОперацияЗначенияДаНет
1
  1. Выключить зажигание.
  2. Подключить диагностический прибор.
  3. Двигатель остановлен. Перевести замок зажигания в положение ON.
  4. В меню "Diagnostic Trouble Codes Information" ("Информация о кодах") диагностического прибора выбрать команду "Store Freeze Frame/Failure Records" ("Стоп-кадр/Записи о неисправности").
  5. Сохранить данные стоп-кадра/записи о неисправности.
  6. В меню "Diagnostic Trouble Codes Information" ("Информация о кодах") выбрать команду "Clear DTC Information" ("Очистить информацию о кодах").
  7. Очистить информацию о кодах.
  8. Выполнить два драйв-цикла.
Сигнализатор неисправности горит?
-
Перейти к Шагу 2
Устранить непостоянный контакт в электрическом разъеме (см. "Проверка жгутов и электрических разъемов" в этом разделе)
2
  1. В меню "Diagnostic Trouble Codes Information" ("Информация о кодах") выбрать команду "Request DTC by Status" ("Запрос кодов по состоянию").
  2. Выполнить запрос кодов по состоянию.
Отображается ли код p0705?
-
Перейти к Шагу 3
Устранить непостоянный контакт в электрическом разъеме (см. "Проверка жгутов и электрических разъемов" в этом разделе)
3
  1. Выключить зажигание.
  2. Проверить на разрыв цепь между жгутом автомобиля и выключателем диапазона КПП.
  3. Разъединить разъем контроллера КПП (x-1) и проверить цепи всех контактов на разрыв в соответствии с положениями рычага переключения передач.
  4. p: b20
    p: b1
    n: b8
    d: b7
    2 : b19
    1 : b18
Неисправность отсутствует?
-
Перейти к Шагу 4
Перейти к Шагу 5
4
  1. Проверить наличие неисправности между колодкой жгута автомобиля и контроллером КПП.
  2. Проверить колодки разъема. См. "Проверка жгутов и электрических разъемов" в этом разделе.
  3. Проверить надежность соединения колодок разъема контроллера КПП (c-1).
Соединение исправно?
-
Перейти к Шагу 6
Устранить неисправность колодок жгута.
5
  1. Проверить наличие неисправности между колодкой жгута автомобиля и переключателем диапазонов АКПП.
  2. Разъединить разъем контроллера КПП (x-2) и проверить цепи между контактами на разрыв. См. "Проверка жгутов и электрических разъемов" в этом разделе.
Переключатель диапазонов АКПП исправен?
-
Перейти к Шагу 7
Заменить переключатель диапазонов АКПП.
6
  1. Заменить основной контроллер КПП.
  2. После устранения кодов провести испытание с воспроизведением условий возникновения неисправности.
Отображается ли код неисправности?
-
Устранить непостоянный контакт в электрическом разъеме (см. "Проверка жгутов и электрических разъемов" в этом разделе)
Заменить контроллер КПП.
7
  1. Проверить наличие неисправности жгута автомобиля.
  2. Проверить жгут на наличие разрывов или замыканий. Проверить соединение между разъемами (C-2). См. "Проверка жгутов и электрических разъемов" в этом разделе.
Все исправно?
-
Устранить непостоянный контакт в электрическом разъеме
Заменить жгут или отрегулировать разъемы.

J6B15A53
Показать иллюстрациюПеревод текста в иллюстрациях


Диагностический код неисправности (dtc) p0706

Неисправность цепи переключателя диапазонов коробки передач (tr) (короткое замыкание)

Условия действия dtc

Условия занесения кода неисправности

Действия при занесении кода неисправности

Условия очистки кода неисправности

Причина неисправности

dtc p0706 - Неисправность цепи переключателя диапазонов коробки передач (tr) (короткое замыкание)

ШагОперацияЗначенияДаНет
1
  1. Выключить зажигание.
  2. Подключить диагностический прибор.
  3. Двигатель остановлен. Перевести замок зажигания в положение ON.
  4. В меню "Diagnostic Trouble Codes Information" ("Информация о кодах") диагностического прибора выбрать команду "Store Freeze Frame/Failure Records" ("Стоп-кадр/Записи о неисправности").
  5. Сохранить данные стоп-кадра/записи о неисправности.
  6. В меню "Diagnostic Trouble Codes Information" ("Информация о кодах") выбрать команду "Clear DTC Information" ("Очистить информацию о кодах").
  7. Очистить информацию о кодах.
  8. Выполнить два драйв-цикла.
Сигнализатор неисправности горит?
-
Перейти к Шагу 2
Устранить непостоянный контакт в электрическом разъеме (см. "Проверка жгутов и электрических разъемов" в этом разделе)
2
  1. В меню "Diagnostic Trouble Codes Information" ("Информация о кодах") выбрать команду "Request DTC by Status" ("Запрос кодов по состоянию").
  2. Выполнить запрос кодов по состоянию.
Отображается ли код p0706?
-
Перейти к Шагу 3
Устранить непостоянный контакт в электрическом разъеме (см. "Проверка жгутов и электрических разъемов" в этом разделе)
3
  1. Выключить зажигание.
  2. Проверить на разрыв цепь между жгутом автомобиля и выключателем диапазона КПП.
  3. Разъединить разъем контроллера КПП (x-1) и проверить цепи всех контактов на разрыв в соответствии с положениями рычага переключения передач.
  4. p: b20
    p: b1
    n: b8
    d: b7
    2 : b19
    1 : b18
Неисправность отсутствует?
-
Перейти к Шагу 4
Перейти к Шагу 5
4
  1. Проверить наличие неисправности между колодкой жгута автомобиля и контроллером КПП.
  2. Проверить колодки разъема. См. "Проверка жгутов и электрических разъемов" в этом разделе.
  3. Проверить надежность соединения колодок разъема контроллера КПП (c-1).
Соединение исправно?
-
Перейти к Шагу 6
Устранить неисправность колодок жгута.
5
  1. Проверить наличие неисправности между колодкой жгута автомобиля и переключателем диапазонов АКПП.
  2. Разъединить разъем контроллера КПП (x-2) и проверить цепи между контактами на разрыв. См. "Проверка жгутов и электрических разъемов" в этом разделе.
Переключатель диапазонов АКПП исправен?
-
Перейти к Шагу 7
Заменить переключатель диапазонов АКПП.
6
  1. Заменить основной контроллер КПП.
  2. После устранения кодов провести испытание с воспроизведением условий возникновения неисправности.
Отображается ли код неисправности?
-
Устранить непостоянный контакт в электрическом разъеме (см. "Проверка жгутов и электрических разъемов" в этом разделе)
Заменить контроллер КПП.
7
  1. Проверить наличие неисправности жгута автомобиля.
  2. Проверить жгут на наличие разрывов или замыканий. Проверить соединение между разъемами (C-2). См. "Проверка жгутов и электрических разъемов" в этом разделе.
Все исправно?
-
Устранить непостоянный контакт в электрическом разъеме
Заменить жгут или отрегулировать разъемы.

T3B15A08
Показать иллюстрациюПеревод текста в иллюстрациях


Диагностический код неисправности (dtc) p0711

Рабочие характеристики цепи датчика температуры трансмиссионного масла (tft)

Условия действия dtc

Условия занесения кода неисправности

Действия при занесении кода неисправности

Условия очистки кода неисправности

Причина неисправности

dtc p0711 - Рабочие характеристики цепи датчика температуры трансмиссионного масла (tft)

ШагОперацияЗначенияДаНет
1
  1. Выключить зажигание.
  2. Подключить диагностический прибор.
  3. Двигатель остановлен. Перевести замок зажигания в положение ON.
  4. В меню "Diagnostic Trouble Codes Information" ("Информация о кодах") диагностического прибора выбрать команду "Store Freeze Frame/Failure Records" ("Стоп-кадр/Записи о неисправности").
  5. Сохранить данные стоп-кадра/записи о неисправности.
  6. В меню "Diagnostic Trouble Codes Information" ("Информация о кодах") выбрать команду "Clear DTC Information" ("Очистить информацию о кодах").
  7. Очистить информацию о кодах.
  8. Выполнить один драйв-цикл.
Сигнализатор неисправности горит?
-
Перейти к Шагу 2
Устранить непостоянный контакт в электрическом разъеме (см. "Проверка жгутов и электрических разъемов" в этом разделе)
2
  1. В меню "Diagnostic Trouble Codes Information" ("Информация о кодах") выбрать команду "Request DTC by Status" ("Запрос кодов по состоянию").
  2. Выполнить запрос кодов по состоянию.
Отображается ли код p0711?
-
Перейти к Шагу 3
Устранить непостоянный контакт в электрическом разъеме (см. "Проверка жгутов и электрических разъемов" в этом разделе)
3
  1. Выключить зажигание.
  2. Проверить сопротивление между жгутом автомобиля и датчиком температуры рабочей жидкости КПП. См. "Проверка состояния агрегата" в этом разделе.
  3. Разъединить разъем контроллера КПП (x-1) и проверить сопротивление между контактами a11 и a12.
Результат измерения находится в указанном диапазоне?
10°c (50°f): 5.80-7.09 kОм 110°C (230°F): 0.231-0.263 kОм
Перейти к Шагу 4
Перейти к Шагу 5
4
  1. Проверить наличие неисправности между колодкой жгута автомобиля и контроллером КПП.
  2. Проверить колодки разъема. См. "Проверка жгутов и электрических разъемов" в этом разделе.
  3. Проверить надежность соединения колодок разъема (c-1).
Соединение исправно?
-
Перейти к Шагу 6
Устранить неисправность колодок жгута.
5
  1. Проверить наличие неисправности между жгутом автомобиля и датчиком температуры рабочей жидкости КПП.
  2. Разъединить разъем жгута КПП (x-3) и проверить сопротивление между контактами 1 и 6 разъема датчика температуры рабочей жидкости КПП.
Результат измерения находится в указанном диапазоне?
10°c (50°f): 5.80-7.09 kОм 110°C (230°F): 0.231-0.263 kОм
Перейти к Шагу 7
Перейти к Шагу 8
6
  1. Заменить основной контроллер КПП.
  2. После устранения кодов провести испытание с воспроизведением условий возникновения неисправности.
Отображается ли код неисправности?
-
Устранить непостоянный контакт в электрическом разъеме (см. "Проверка жгутов и электрических разъемов" в этом разделе)
Заменить контроллер КПП.
7
  1. Проверить наличие неисправности жгута автомобиля или разъемов.
  2. Проверить жгуты проводов автомобиля на наличие разрывов или замыканий. Проверить соединение между разъемами (C-3). См. "Проверка жгутов проводов и разъемов" в этом разделе.
Все исправно?
-
Устранить непостоянный контакт в электрическом разъеме
Заменить жгут или отрегулировать разъемы
8
  1. Проверить наличие неисправности жгута КПП или разъемов датчика температуры рабочей жидкости КПП.
  2. Проверить температуру рабочей жидкости. См. "Проверка состояния агрегата" в этом разделе.
Неисправность обнаружена?
-
Заменить датчик температуры рабочей жидкости КПП
Перейти к Шагу 9
9
  1. Проверить наличие неисправности жгута КПП.
  2. Проверить жгут КПП на наличие разрывов или замыканий. Проверить соединение между разъемами (C-3). См. "Проверка жгутов и электрических разъемов" в этом разделе.
Все исправно?
-
Устранить непостоянный контакт в электрическом разъеме
Заменить жгут КПП или отрегулировать разъемы.

T3B15A08
Показать иллюстрациюПеревод текста в иллюстрациях


Код p0712

Датчик температуры рабочей жидкости КПП, низкий уровень входного сигнала

Условия действия dtc

Условия занесения кода неисправности

Действия при занесении кода неисправности

Условия очистки кода неисправности

Причина неисправности

Код p0712 Датчик температуры рабочей жидкости КПП, низкий уровень входного сигнала

ШагОперацияЗначенияДаНет
1
  1. Выключить зажигание.
  2. Подключить диагностический прибор.
  3. Двигатель остановлен. Перевести замок зажигания в положение ON.
  4. В меню "Diagnostic Trouble Codes Information" ("Информация о кодах") диагностического прибора выбрать команду "Store Freeze Frame/Failure Records" ("Стоп-кадр/Записи о неисправности").
  5. Сохранить данные стоп-кадра/записи о неисправности.
  6. В меню "Diagnostic Trouble Codes Information" ("Информация о кодах") выбрать команду "Clear DTC Information" ("Очистить информацию о кодах").
  7. Очистить информацию о кодах.
  8. Выполнить один драйв-цикл.
Сигнализатор неисправности горит?
-
Перейти к Шагу 2
Устранить непостоянный контакт в электрическом разъеме (см. "Проверка жгутов и электрических разъемов" в этом разделе)
2
  1. В меню "Diagnostic Trouble Codes Information" ("Информация о кодах") выбрать команду "Request DTC by Status" ("Запрос кодов по состоянию").
  2. Выполнить запрос кодов по состоянию.
Отображается ли код p0712?
-
Перейти к Шагу 3
Устранить непостоянный контакт в электрическом разъеме (см. "Проверка жгутов и электрических разъемов" в этом разделе)
3
  1. Выключить зажигание.
  2. Проверить сопротивление между жгутом автомобиля и датчиком температуры рабочей жидкости КПП. См. "Проверка состояния агрегата" в этом разделе.
  3. Разъединить разъем контроллера КПП (x-1) и проверить сопротивление между контактами a11 и a12.
Результат измерения находится в указанном диапазоне?
10°c (50°f): 5.80-7.09 kОм 110°C (230°F): 0.231-0.263 kОм
Перейти к Шагу 4
Перейти к Шагу 5
4
  1. Проверить наличие неисправности между колодкой жгута автомобиля и контроллером КПП.
  2. Проверить колодки разъема. См. "Проверка жгутов и электрических разъемов" в этом разделе.
  3. Проверить надежность соединения колодок разъема (c-1).
Соединение исправно?
-
Перейти к Шагу 6
Устранить неисправность колодок жгута.
5
  1. Проверить наличие неисправности между жгутом автомобиля и датчиком температуры рабочей жидкости КПП.
  2. Разъединить разъем жгута КПП (x-3) и проверить сопротивление между контактами 1 и 6 разъема датчика температуры рабочей жидкости КПП.
Результат измерения находится в указанном диапазоне?
10°c (50°f): 5.80-7.09 kОм 110°C (230°F): 0.231-0.263 kОм
Перейти к Шагу 7
Перейти к Шагу 8
6
  1. Заменить основной контроллер КПП.
  2. После устранения кодов провести испытание с воспроизведением условий возникновения неисправности.
Отображается ли код неисправности?
-
Устранить непостоянный контакт в электрическом разъеме (см. "Проверка жгутов и электрических разъемов" в этом разделе)
Заменить контроллер КПП.
7
  1. Проверить наличие неисправности жгута автомобиля или разъемов.
  2. Проверить жгут на наличие разрывов или замыканий. Проверить соединение между разъемами (C-3). См. "Проверка жгутов и электрических разъемов" в этом разделе.
Все исправно?
-
Устранить непостоянный контакт в электрическом разъеме
Заменить жгут или отрегулировать разъемы
8
  1. Проверить наличие неисправности жгута КПП или разъемов датчика температуры рабочей жидкости КПП.
  2. Проверить температуру рабочей жидкости. См. "Проверка состояния агрегата" в этом разделе.
Неисправность обнаружена?
-
Заменить датчик температуры рабочей жидкости КПП
Перейти к Шагу 9
9
  1. Проверить наличие неисправности жгута КПП.
  2. Проверить жгут КПП на наличие разрывов или замыканий. Проверить соединение между разъемами (C-3). См. "Проверка жгутов и электрических разъемов" в этом разделе.
Все исправно?
-
Устранить непостоянный контакт в электрическом разъеме
Заменить жгут КПП или отрегулировать разъемы.

T3B15A08
Показать иллюстрациюПеревод текста в иллюстрациях


Код p0713

Датчик температуры рабочей жидкости КПП, высокий уровень входного сигнала

Условия действия dtc

Условия занесения кода неисправности

Действия при занесении кода неисправности

Условия очистки кода неисправности

Причина неисправности

Код p0713 Датчик температуры рабочей жидкости КПП, высокий уровень входного сигнала

ШагОперацияЗначенияДаНет
1
  1. Выключить зажигание.
  2. Подключить диагностический прибор.
  3. Двигатель остановлен. Перевести замок зажигания в положение ON.
  4. В меню "Diagnostic Trouble Codes Information" ("Информация о кодах") диагностического прибора выбрать команду "Store Freeze Frame/Failure Records" ("Стоп-кадр/Записи о неисправности").
  5. Сохранить данные стоп-кадра/записи о неисправности.
  6. В меню "Diagnostic Trouble Codes Information" ("Информация о кодах") выбрать команду "Clear DTC Information" ("Очистить информацию о кодах").
  7. Очистить информацию о кодах.
  8. Выполнить один драйв-цикл.
Сигнализатор неисправности горит?
-
Перейти к Шагу 2
Устранить непостоянный контакт в электрическом разъеме (см. "Проверка жгутов и электрических разъемов" в этом разделе)
2
  1. В меню "Diagnostic Trouble Codes Information" ("Информация о кодах") выбрать команду "Request DTC by Status" ("Запрос кодов по состоянию").
  2. Выполнить запрос кодов по состоянию.
Отображается ли код p0713?
-
Перейти к Шагу 3
Устранить непостоянный контакт в электрическом разъеме (см. "Проверка жгутов и электрических разъемов" в этом разделе)
3
  1. Выключить зажигание.
  2. Проверить сопротивление между жгутом автомобиля и датчиком температуры рабочей жидкости КПП. См. "Проверка состояния агрегата" в этом разделе.
  3. Разъединить разъем контроллера КПП (x-1) и проверить сопротивление между контактами a11 и a12.
Результат измерения находится в указанном диапазоне?
10°c (50°f): 5.80-7.09 kОм 110°C (230°F): 0.231-0.263 kОм
Перейти к Шагу 4
Перейти к Шагу 5
4
  1. Проверить наличие неисправности между колодкой жгута автомобиля и контроллером КПП.
  2. Проверить колодки разъема. См. "Проверка жгутов и электрических разъемов" в этом разделе.
  3. Проверить надежность соединения колодок разъема (c-1).
Соединение исправно?
-
Перейти к Шагу 6
Устранить неисправность колодок жгута.
5
  1. Проверить наличие неисправности между жгутом автомобиля и датчиком температуры рабочей жидкости КПП.
  2. Разъединить разъем жгута КПП (x-3) и проверить сопротивление между контактами 1 и 6 разъема датчика температуры рабочей жидкости КПП.
Результат измерения находится в указанном диапазоне?
10°c (50°f): 5.80-7.09 kОм 110°C (230°F): 0.231-0.263 kОм
Перейти к Шагу 7
Перейти к Шагу 8
6
  1. Заменить основной контроллер КПП.
  2. После устранения кодов провести испытание с воспроизведением условий возникновения неисправности.
Отображается ли код неисправности?
-
Устранить непостоянный контакт в электрическом разъеме (см. "Проверка жгутов и электрических разъемов" в этом разделе)
Заменить контроллер КПП.
7
  1. Проверить наличие неисправности жгута автомобиля или разъемов.
  2. Проверить жгут на наличие разрывов или замыканий. Проверить соединение между разъемами (C-3). См. "Проверка жгутов и электрических разъемов" в этом разделе.
Все исправно?
-
Устранить непостоянный контакт в электрическом разъеме
Заменить жгут или отрегулировать разъемы
8
  1. Проверить наличие неисправности жгута КПП или разъемов датчика температуры рабочей жидкости КПП.
  2. Проверить температуру рабочей жидкости. См. "Проверка состояния агрегата" в этом разделе.
Неисправность обнаружена?
-
Заменить датчик температуры рабочей жидкости КПП
Перейти к Шагу 9
9
  1. Проверить наличие неисправности жгута КПП.
  2. Проверить жгут КПП на наличие разрывов или замыканий. Проверить соединение между разъемами (C-3). См. "Проверка жгутов и электрических разъемов" в этом разделе.
Все исправно?
-
Устранить непостоянный контакт в электрическом разъеме
Заменить жгут КПП или отрегулировать разъемы.

J3B15A77
Показать иллюстрациюПеревод текста в иллюстрациях


Код p0717

Датчик скорости первичного вала КПП, сигнал отсутствует

Условия действия dtc

Условия занесения кода неисправности

Действия при занесении кода неисправности

Условия очистки кода неисправности

Причина неисправности

Код p0717 Датчик скорости первичного вала КПП, сигнал отсутствует

ШагОперацияЗначенияДаНет
1
  1. Выключить зажигание.
  2. Подключить диагностический прибор.
  3. Двигатель остановлен. Перевести замок зажигания в положение ON.
  4. В меню "Diagnostic Trouble Codes Information" ("Информация о кодах") диагностического прибора выбрать команду "Store Freeze Frame/Failure Records" ("Стоп-кадр/Записи о неисправности").
  5. Сохранить данные стоп-кадра/записи о неисправности.
  6. В меню "Diagnostic Trouble Codes Information" ("Информация о кодах") выбрать команду "Clear DTC Information" ("Очистить информацию о кодах").
  7. Очистить информацию о кодах.
  8. Выполнить один драйв-цикл.
Сигнализатор неисправности горит?
-
Перейти к Шагу 2
Устранить непостоянный контакт в электрическом разъеме (см. "Проверка жгутов и электрических разъемов" в этом разделе)
2
  1. В меню "Diagnostic Trouble Codes Information" ("Информация о кодах") выбрать команду "Request DTC by Status" ("Запрос кодов по состоянию").
  2. Выполнить запрос кодов по состоянию.
Отображается ли код p0717?
-
Перейти к Шагу 3
Устранить непостоянный контакт в электрическом разъеме (см. "Проверка жгутов и электрических разъемов" в этом разделе)
3
  1. Выключить зажигание.
  2. Проверить сопротивление между жгутом автомобиля и датчиком скорости первичного вала КПП. См. "Проверка состояния агрегата" в этом разделе.
  3. Разъединить разъем контроллера КПП (x-1) и проверить сопротивление между контактами b6 и b16.
Результат измерения находится в указанном диапазоне?
20°С (68°Ф): 560-680 Ом
Перейти к Шагу 4
Перейти к Шагу 5
4
  1. Проверить наличие неисправности между колодкой жгута автомобиля и контроллером КПП.
  2. Проверить колодки разъема. См. "Проверка жгутов и электрических разъемов" в этом разделе.
  3. Проверить надежность соединения колодок разъема (c-1).
Соединение исправно?
-
Перейти к Шагу 6
Устранить неисправность колодок жгута.
5
  1. Проверить наличие неисправности жгута КПП или разъемов датчика скорости первичного вала КПП.
  2. Разъединить разъем контроллера КПП (x-5) и проверить сопротивление между контактами 1 и 2.
Результат измерения находится в указанном диапазоне?
20°С (68°Ф): 560-680 Ом
Перейти к Шагу 7
Заменить датчик скорости первичного вала КПП
6
  1. Заменить основной контроллер КПП.
  2. После устранения кодов провести испытание с воспроизведением условий возникновения неисправности.
Отображается ли код неисправности?
-
Устранить непостоянный контакт в электрическом разъеме (см. "Проверка жгутов и электрических разъемов" в этом разделе)
Заменить контроллер КПП.
7
  1. Проверить наличие неисправности жгута КПП.
  2. Проверить жгут КПП на наличие разрывов или замыканий. Проверить соединение между разъемами (C-5). См. "Проверка жгутов и электрических разъемов" в этом разделе.
Все исправно?
-
Устранить непостоянный контакт в электрическом разъеме
Заменить жгут КПП или отрегулировать разъемы.

J6B15A54
Показать иллюстрациюПеревод текста в иллюстрациях


Код p0722

Датчик скорости вторичного вала КПП, сигнал отсутствует

Условия действия dtc

Условия занесения кода неисправности

Действия при занесении кода неисправности

Условия очистки кода неисправности

Причина неисправности

Код p0722 Датчик скорости вторичного вала КПП, сигнал отсутствует

ШагОперацияЗначенияДаНет
1
  1. Выключить зажигание.
  2. Подключить диагностический прибор.
  3. Двигатель остановлен. Перевести замок зажигания в положение ON.
  4. В меню "Diagnostic Trouble Codes Information" ("Информация о кодах") диагностического прибора выбрать команду "Store Freeze Frame/Failure Records" ("Стоп-кадр/Записи о неисправности").
  5. Сохранить данные стоп-кадра/записи о неисправности.
  6. В меню "Diagnostic Trouble Codes Information" ("Информация о кодах") выбрать команду "Clear DTC Information" ("Очистить информацию о кодах").
  7. Очистить информацию о кодах.
  8. Выполнить один драйв-цикл.
Сигнализатор неисправности горит?
-
Перейти к Шагу 2
Устранить непостоянный контакт в электрическом разъеме (см. "Проверка жгутов и электрических разъемов" в этом разделе)
2
  1. В меню "Diagnostic Trouble Codes Information" ("Информация о кодах") выбрать команду "Request DTC by Status" ("Запрос кодов по состоянию").
  2. Выполнить запрос кодов по состоянию.
Отображается ли код p0722?
-
Перейти к Шагу 3
Устранить непостоянный контакт в электрическом разъеме (см. "Проверка жгутов и электрических разъемов" в этом разделе)
3
  1. Выключить зажигание.
  2. Проверить напряжение между жгутом автомобиля и датчиком скорости вторичного вала КПП.
  3. Разъединить разъем жгута автомобиля (x-1).
  4. Подсоединить вольтметр для измерения напряжения между контактом b25 и массой.
  5. Включить зажигание и вывесить автомобиль.
  6. Проверить, изменяется ли напряжение с 0 до 12 В при медленном проворачивании колеса.
Измеренный параметр изменяется в пределах указанного диапазона?
0 - 12 В
Перейти к Шагу 4
Перейти к Шагу 5
4
  1. Проверить наличие неисправности между колодкой жгута автомобиля и контроллером КПП.
  2. Проверить колодки разъема. См. "Проверка жгутов и электрических разъемов" в этом разделе.
  3. Проверить надежность соединения колодок разъема (c-1).
Соединение исправно?
-
Перейти к Шагу 6
Устранить неисправность колодок жгута.
5
  1. Проверить наличие неисправности жгута КПП или разъемов датчика скорости вторичного вала КПП.
  2. Проверить датчик скорости вторичного вала КПП. См. "Проверка состояния агрегата" в этом разделе
Датчик скорости вторичного вала КПП исправен?
-
Перейти к Шагу 7
Заменить датчик скорости вторичного вала КПП
6
  1. Заменить основной контроллер КПП.
  2. После устранения кодов провести испытание с воспроизведением условий возникновения неисправности.
Отображается ли код неисправности?
-
Устранить непостоянный контакт в электрическом разъеме (см. "Проверка жгутов и электрических разъемов" в этом разделе)
Заменить контроллер КПП.
7
  1. Проверить наличие неисправности жгута КПП.
  2. Проверить жгут КПП на наличие разрывов или замыканий. Проверить соединение между разъемами (C-4). См. "Проверка жгутов и электрических разъемов" в этом разделе.
Все исправно?
-
Устранить непостоянный контакт в электрическом разъеме
Заменить жгут КПП или отрегулировать разъемы.


На предыдущую страницуНа следующую страницу
https://vnx.su/ 🛠 Руководства по ремонту и эксплуатации для автомобилей

Поиск по сайту

Остались вопросы или пожелания? Пишите на почту: support@vnx.su

Карта Сайта