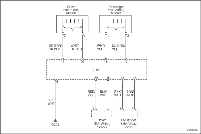
Цепь срабатывания боковой подушки безопасности водителя закорочена на напряжение питания
Описание схемы
При установке ключа зажигания в положение ON модуль датчиков и диагностики (SDM) выполняет начальную проверку для выявления существенных неполадок внутри самого SDM.
После этих проверок модуль измеряет напряжения в цепях зажигания и срабатывания подушек безопасности, проверяя, что они находятся в номинальных диапазонах. SDM контролирует напряжения на проводах нижнего уровня подушек водителя и пассажира, выявляя замыкание цепей срабатывания на массу или напряжение питания.
Модуль датчиков и диагностики (SDM) проверяет проводку к модулю боковой подушки безопасности водителя, пропуская ничтожно малый ток через внутреннюю цепь и проверяя ее сопротивление.
Диагностический код неисправности dtc 55 записывается, когда
Провод верхнего уровня проводки боковой подушки безопасности водителя закорочен на провод аккумулятора.
Провод нижнего уровня проводки боковой подушки безопасности водителя закорочен на провод аккумулятора.
dtc 55 Цепь срабатывания боковой подушки безопасности водителя закорочена на напряжение питания
Внимание! Модуль датчиков и диагностики (SDM) может сохранять достаточное напряжение для приведения в действие подушек безопасности и натяжителей в течение 1 минуты после выключения зажигания и удаления предохранителя. Если подушки безопасности и натяжители не отсоединены, не начинайте обслуживание, пока не пройдет одна минута после отключения питания от SDM. Несоблюдение этого требования может привести к травмам.
Внимание! В процессе обслуживания обращайтесь с модулем датчиков и диагностики (SDM) очень осторожно. Не ударяйте и не встряхивайте SDM. Никогда не подключайте питание к системе надувных подушек безопасности (SIR), если SDM не соединен жестко с автомобилем. Чтобы система надувных подушек безопасности (SIR) работала правильно, все болты крепления модуля датчиков и диагностики SDM должны быть тщательно затянуты, а стрелка на SDM должна быть направлена к передней части автомобиля. При недостаточно жестком креплении модуля SDM к автомобилю включенный модуль может сработать, что приведет к неожиданному выпуску подушек безопасности и может повлечь травму.
Шаг
Операция
Значения
Да
Нет
1
Удостоверьтесь, что ключ зажигания находится в положении off.
Подождите минуту, чтобы разрядить заряд блока питания модуля датчиков и диагностики (sdm).
-
Перейдите на Шаг 2
-
2
Осмотрите проводку подушки безопасности на предмет повреждений.
Проводка надувной подушки безопасности повреждена?
-
Замените проводку надувной подушки безопасности.
Перейдите на Шаг 3
3
Удостоверьтесь, что ключ зажигания находится в положении off.
Отключите разъем модуля боковой подушки безопасности водителя.
Отключите разъем проводки модуля датчиков и диагностики (sdm).
Проверьте сопротивление между модулем sdm и выводами верхнего и нижнего уровня модуля боковой подушки безопасности водителя и аккумулятором.
Проверить сопротивление между выводами верхнего и нижнего уровня модуля боковой подушки безопасности водителя и аккумулятором. Сопротивление равно ∞?
∞
Перейдите на Шаг 4
Замените проводку надувной подушки безопасности.
4
Замените модуль датчиков и диагностики.
Удостоверьтесь, что ключ зажигания находится в положении on.
Сотрите диагностический код неисправности с помощью диагностического прибора.
Выполните проверку диагностической системы системы надувных подушек безопасности (sir).
Диагностический код неисправности удален?
-
Система в норме.
Замените модуль боковой подушки безопасности водителя.
Диагностический код неисправности (dtc) 56
Высокое сопротивление цепи срабатывания боковой подушки безопасности пассажира
Описание схемы
При установке ключа зажигания в положение ON модуль датчиков и диагностики (SDM) выполняет начальную проверку для выявления существенных неполадок внутри самого SDM.
После этих проверок модуль измеряет напряжения в цепях зажигания и срабатывания подушек безопасности, проверяя, что они находятся в номинальных диапазонах. SDM контролирует напряжения на проводах нижнего уровня подушек водителя и пассажира, выявляя замыкание цепей срабатывания на массу или напряжение питания. Модуль датчиков и диагностики (SDM) проверяет проводку к модулю боковой подушки безопасности пассажира, пропуская ничтожно малый ток через внутреннюю цепь и проверяя ее сопротивление.
Диагностический код неисправности dtc 56 записывается, когда
Сопротивление цепи срабатывания боковой подушки безопасности пассажира превышает 2,8 Ом.
dtc 56 Высокое сопротивление цепи срабатывания боковой подушки безопасности пассажира
Внимание! Модуль датчиков и диагностики (SDM) может сохранять достаточное напряжение для приведения в действие подушек безопасности и натяжителей в течение 1 минуты после выключения зажигания и удаления предохранителя. Если подушки безопасности и натяжители не отсоединены, не начинайте обслуживание, пока не пройдет одна минута после отключения питания от SDM. Несоблюдение этого требования может привести к травмам.
Внимание! В процессе обслуживания обращайтесь с модулем датчиков и диагностики (SDM) очень осторожно. Не ударяйте и не встряхивайте SDM. Никогда не подключайте питание к системе надувных подушек безопасности (SIR), если SDM не соединен жестко с автомобилем. Чтобы система надувных подушек безопасности (SIR) работала правильно, все болты крепления модуля датчиков и диагностики SDM должны быть тщательно затянуты, а стрелка на SDM должна быть направлена к передней части автомобиля. При недостаточно жестком креплении модуля SDM к автомобилю включенный модуль может сработать, что приведет к неожиданному выпуску подушек безопасности и может повлечь травму.
Шаг
Операция
Значения
Да
Нет
1
Удостоверьтесь, что ключ зажигания находится в положении off.
Подождите минуту, чтобы разрядить заряд блока питания модуля датчиков и диагностики.
-
Перейдите на Шаг 2
-
2
Осмотрите проводку и разъем боковой подушки безопасности пассажира на предмет повреждений.
Разъем отключен?
-
Подключите разъем и Перейдите на Шаг 1
Перейдите на Шаг 3
3
Удостоверьтесь, что ключ зажигания находится в положении off.
Отключите разъем модуля боковой подушки безопасности пассажира.
Отключите разъем проводки модуля датчиков и диагностики (sdm).
Проверить сопротивление между выводами 1,2 модуля боковой подушки безопасности пассажира и выводами 16,17 модуля датчиков и диагностики (sdm).
Сопротивление равно 0 (нулю)?
≈ 0 Ом
Перейдите на Шаг 4
Замените проводку надувной подушки безопасности.
4
Замените модуль датчиков и диагностики.
Удостоверьтесь, что ключ зажигания находится в положении on.
Стереть диагностический код неисправности с помощью диагностического прибора
Выполните проверку диагностической системы системы надувных подушек безопасности (sir).
Диагностический код неисправности удален?
-
Система в норме.
Замените модуль боковой подушки безопасности пассажира.
Диагностический код неисправности (dtc) 57
Низкое сопротивление цепи срабатывания боковой подушки безопасности пассажира
Описание схемы
При установке ключа зажигания в положение ON модуль датчиков и диагностики (SDM) выполняет начальную проверку для выявления существенных неполадок внутри самого SDM.
После этих проверок модуль измеряет напряжения в цепях зажигания и срабатывания подушек безопасности, проверяя, что они находятся в номинальных диапазонах. SDM контролирует напряжения на проводах нижнего уровня подушек водителя и пассажира, выявляя замыкание цепей срабатывания на массу или напряжение питания.
Модуль датчиков и диагностики (SDM) проверяет проводку к модулю боковой подушки безопасности пассажира, пропуская ничтожно малый ток через внутреннюю цепь и проверяя ее сопротивление.
Диагностический код неисправности dtc 57 записывается, когда
Сопротивление цепи срабатывания боковой подушки безопасности пассажира ниже 1,4 Ом.
Повреждена закорачивающая перемычка, модуль датчиков и диагностики (sdm) необходимо заменить.
dtc 57 Низкое сопротивление цепи срабатывания боковой подушки безопасности пассажира
Внимание! Модуль датчиков и диагностики (SDM) может сохранять достаточное напряжение для приведения в действие подушек безопасности и натяжителей в течение 1 минуты после выключения зажигания и удаления предохранителя. Если подушки безопасности и натяжители не отсоединены, не начинайте обслуживание, пока не пройдет одна минута после отключения питания от SDM. Несоблюдение этого требования может привести к травмам.
Внимание! В процессе обслуживания обращайтесь с модулем датчиков и диагностики (SDM) очень осторожно. Не ударяйте и не встряхивайте SDM. Никогда не подключайте питание к системе надувных подушек безопасности (SIR), если SDM не соединен жестко с автомобилем. Чтобы система надувных подушек безопасности (SIR) работала правильно, все болты крепления модуля датчиков и диагностики SDM должны быть тщательно затянуты, а стрелка на SDM должна быть направлена к передней части автомобиля. При недостаточно жестком креплении модуля SDM к автомобилю включенный модуль может сработать, что приведет к неожиданному выпуску подушек безопасности и может повлечь травму.
Шаг
Операция
Значения
Да
Нет
1
Удостоверьтесь, что ключ зажигания находится в положении off.
Подождите минуту, чтобы разрядить заряд блока питания модуля датчиков и диагностики.
-
Перейдите на Шаг 2
-
2
Осмотреть разъем и проводку боковой подушки безопасности пассажира.
Проводка повреждена?
-
Замените проводку надувной подушки безопасности.
Перейдите на Шаг 3
3
Удостоверьтесь, что ключ зажигания находится в положении off.
Отключите разъем модуля боковой подушки безопасности пассажира.
Отсоединить разъем модуля датчиков и диагностики (sdm).
Проверьте сопротивление между выводами 1 и 2 модуля боковой подушки безопасности пассажира.
Сопротивление равно ∞?
∞
Перейдите на Шаг 4
Замените проводку надувной подушки безопасности.
4
Замените модуль датчиков и диагностики.
Удостоверьтесь, что ключ зажигания находится в положении on.
Сотрите диагностический код неисправности с помощью диагностического прибора.
Выполните проверку диагностической системы системы надувных подушек безопасности (sir).
Диагностический код неисправности удален?
-
Перейдите на Шаг 4
Замените модуль боковой подушки безопасности пассажира.
Диагностический код неисправности (dtc) 58
Цепь срабатывания боковой подушки безопасности пассажира закорочена на массу
Описание схемы
При установке ключа зажигания в положение ON модуль датчиков и диагностики (SDM) выполняет начальную проверку для выявления существенных неполадок внутри самого SDM.
После этих проверок модуль измеряет напряжения в цепях зажигания и срабатывания подушек безопасности, проверяя, что они находятся в номинальных диапазонах. SDM контролирует напряжения на проводах нижнего уровня подушек водителя и пассажира, выявляя замыкание цепей срабатывания на массу или напряжение питания.
Модуль датчиков и диагностики (SDM) проверяет проводку к модулю боковой подушки безопасности пассажира, пропуская ничтожно малый ток через внутреннюю цепь и проверяя ее сопротивление.
Диагностический код неисправности dtc 58 записывается, когда
Провод верхнего уровня проводки боковой подушки безопасности пассажира закорочен на массу.
Провод нижнего уровня проводки боковой подушки безопасности пассажира закорочен на массу.
dtc 58 Цепь срабатывания боковой подушки безопасности пассажира закорочена на массу
Внимание! Модуль датчиков и диагностики (SDM) может сохранять достаточное напряжение для приведения в действие подушек безопасности и натяжителей в течение 1 минуты после выключения зажигания и удаления предохранителя. Если подушки безопасности и натяжители не отсоединены, не начинайте обслуживание, пока не пройдет одна минута после отключения питания от SDM. Несоблюдение этого требования может привести к травмам.
Внимание! В процессе обслуживания обращайтесь с модулем датчиков и диагностики (SDM) очень осторожно. Не ударяйте и не встряхивайте SDM. Никогда не подключайте питание к системе надувных подушек безопасности (SIR), если SDM не соединен жестко с автомобилем. Чтобы система надувных подушек безопасности (SIR) работала правильно, все болты крепления модуля датчиков и диагностики SDM должны быть тщательно затянуты, а стрелка на SDM должна быть направлена к передней части автомобиля. При недостаточно жестком креплении модуля SDM к автомобилю включенный модуль может сработать, что приведет к неожиданному выпуску подушек безопасности и может повлечь травму.
Шаг
Операция
Значения
Да
Нет
1
Удостоверьтесь, что ключ зажигания находится в положении off.
Подождите минуту, чтобы разрядить заряд блока питания модуля датчиков и диагностики (sdm).
-
Перейдите на Шаг 2
-
2
Осмотрите проводку подушки безопасности на предмет повреждений.
Проводка надувной подушки безопасности повреждена?
-
Замените проводку надувной подушки безопасности.
Перейдите на Шаг 3
3
Удостоверьтесь, что ключ зажигания находится в положении off.
Отключите разъем модуля боковой подушки безопасности пассажира.
Отсоединить разъем модуля датчиков и диагностики (sdm).
Проверить сопротивление между выводами верхнего и нижнего уровня модуля боковой подушки безопасности пассажира и массой.
Сопротивление равно ∞?
∞
Перейдите на Шаг 4
Замените проводку надувной подушки безопасности.
4
Замените модуль датчиков и диагностики.
Удостоверьтесь, что ключ зажигания находится в положении on.
Сотрите диагностический код неисправности с помощью диагностического прибора.
Выполните проверку диагностической системы системы надувных подушек безопасности (sir).
Диагностический код неисправности удален?
-
Система в норме.
Замените модуль боковой подушки безопасности пассажира.
Диагностический код неисправности (dtc) 59
Цепь срабатывания боковой подушки безопасности пассажира закорочена на напряжение питания
Описание схемы
При установке ключа зажигания в положение ON модуль датчиков и диагностики (SDM) выполняет начальную проверку для выявления существенных неполадок внутри самого SDM.
После этих проверок модуль измеряет напряжения в цепях зажигания и срабатывания подушек безопасности, проверяя, что они находятся в номинальных диапазонах. SDM контролирует напряжения на проводах нижнего уровня подушек водителя и пассажира, выявляя замыкание цепей срабатывания на массу или напряжение питания.
Модуль датчиков и диагностики (SDM) проверяет проводку к модулю боковой подушки безопасности пассажира, пропуская ничтожно малый ток через внутреннюю цепь и проверяя ее сопротивление.
Диагностический код неисправности dtc 59 записывается, когда
Провод верхнего уровня проводки боковой подушки безопасности пассажира закорочен на провод аккумулятора.
Провод нижнего уровня проводки боковой подушки безопасности пассажира закорочен на провод аккумулятора.
dtc 59 Цепь срабатывания боковой подушки безопасности пассажира закорочена на напряжение питания
Внимание! Модуль датчиков и диагностики (SDM) может сохранять достаточное напряжение для приведения в действие подушек безопасности и натяжителей в течение 1 минуты после выключения зажигания и удаления предохранителя. Если подушки безопасности и натяжители не отсоединены, не начинайте обслуживание, пока не пройдет одна минута после отключения питания от SDM. Несоблюдение этого требования может привести к травмам.
Внимание! В процессе обслуживания обращайтесь с модулем датчиков и диагностики (SDM) очень осторожно. Не ударяйте и не встряхивайте SDM. Никогда не подключайте питание к системе надувных подушек безопасности (SIR), если SDM не соединен жестко с автомобилем. Чтобы система надувных подушек безопасности (SIR) работала правильно, все болты крепления модуля датчиков и диагностики SDM должны быть тщательно затянуты, а стрелка на SDM должна быть направлена к передней части автомобиля. При недостаточно жестком креплении модуля SDM к автомобилю включенный модуль может сработать, что приведет к неожиданному выпуску подушек безопасности и может повлечь травму.
Шаг
Операция
Значения
Да
Нет
1
Удостоверьтесь, что ключ зажигания находится в положении off.
Подождите минуту, чтобы разрядить заряд блока питания модуля датчиков и диагностики (sdm).
-
Перейти на Шаг 2
-
2
Осмотрите проводку подушки безопасности на предмет повреждений.
Проводка надувной подушки безопасности повреждена?
-
Замените проводку надувной подушки безопасности.
Перейдите на Шаг 3
3
Удостоверьтесь, что ключ зажигания находится в положении off.
Отключите разъем модуля боковой подушки безопасности пассажира.
Отсоединить разъем модуля датчиков и диагностики (sdm).
Проверить сопротивление между выводами верхнего и нижнего уровня модуля боковой подушки безопасности пассажира и аккумулятором.
Сопротивление равно ∞?
∞
Перейдите на Шаг 4
Замените проводку надувной подушки безопасности.
4
Замените модуль датчиков и диагностики.
Удостоверьтесь, что ключ зажигания находится в положении on.
Сотрите диагностический код неисправности с помощью диагностического прибора.
Выполните проверку диагностической системы системы надувных подушек безопасности (sir).
Диагностический код неисправности удален?
-
Система в норме.
Замените модуль боковой подушки безопасности пассажира.
Диагностический код неисправности (dtc) 80
Цепь датчика боковой подушки безопасности водителя закорочена на напряжение питания
Описание схемы
При установке ключа зажигания в положение ON модуль датчиков и диагностики (SDM) выполняет начальную проверку для выявления существенных неполадок внутри самого SDM.
После этих проверок модуль измеряет напряжения в цепях зажигания и срабатывания подушек безопасности, проверяя, что они находятся в номинальных диапазонах. SDM контролирует напряжения на проводах нижнего уровня подушек водителя и пассажира, выявляя замыкание цепей срабатывания на массу или напряжение питания.
Диагностический код неисправности dtc 80 записывается, когда
Провод верхнего уровня проводки датчика боковой подушки безопасности водителя закорочен на провод аккумулятора.
Провод нижнего уровня проводки датчика боковой подушки безопасности водителя закорочен на провод аккумулятора.
dtc 80 Цепь датчика боковой подушки безопасности водителя закорочена на напряжение питания
Внимание! Модуль датчиков и диагностики (SDM) может сохранять достаточное напряжение для приведения в действие подушек безопасности и натяжителей в течение 1 минуты после выключения зажигания и удаления предохранителя. Если подушки безопасности и натяжители не отсоединены, не начинайте обслуживание, пока не пройдет одна минута после отключения питания от SDM. Несоблюдение этого требования может привести к травмам.
Внимание! В процессе обслуживания обращайтесь с модулем датчиков и диагностики (SDM) очень осторожно. Не ударяйте и не встряхивайте SDM. Никогда не подключайте питание к системе надувных подушек безопасности (SIR), если SDM не соединен жестко с автомобилем. Чтобы система надувных подушек безопасности (SIR) работала правильно, все болты крепления модуля датчиков и диагностики SDM должны быть тщательно затянуты, а стрелка на SDM должна быть направлена к передней части автомобиля. При недостаточно жестком креплении модуля SDM к автомобилю включенный модуль может сработать, что приведет к неожиданному выпуску подушек безопасности и может повлечь травму.
Шаг
Операция
Значения
Да
Нет
1
Удостоверьтесь, что ключ зажигания находится в положении off.
Подождите минуту, чтобы разрядить заряд блока питания модуля датчиков и диагностики (sdm).
-
Перейдите на Шаг 2
-
2
Осмотрите проводку и разъем датчика боковой подушки безопасности пассажира на предмет повреждений.
Проводка повреждена или разъем отключен?
-
Перейдите на Шаг 3
Перейдите на Шаг 4
3
Подключить разъем или заменить проводку.
Проверьте систему еще раз.
-
-
-
4
Удостоверьтесь, что ключ зажигания находится в положении off.
Отсоединить разъем датчика боковой подушки безопасности водителя.
Отключите разъем проводки модуля датчиков и диагностики (sdm).
Проверить сопротивление между выводами 45, 20 модуля sdm и выводами 1, 2 датчика боковой подушки безопасности водителя.
Сопротивление близко к 0 (нулю)?
≈ 0 Ом
Перейдите на Шаг 5
Замените проводку надувной подушки безопасности.
5
Проверить сопротивление между выводами верхнего и нижнего уровня датчика боковой подушки безопасности водителя и аккумулятором.
Сопротивление равно ∞?
∞
Перейдите на Шаг 6
Замените проводку надувной подушки безопасности.
6
Замените датчик боковой подушки безопасности водителя.
Удостоверьтесь, что ключ зажигания находится в положении on.
Сотрите диагностический код неисправности с помощью диагностического прибора.
Выполните проверку диагностической системы системы надувных подушек безопасности (sir).
Диагностический код неисправности удален?
-
Система в норме.
Замените модуль датчиков и диагностики.
Диагностический код неисправности (dtc) 81
Цепь датчика боковой подушки безопасности водителя закорочена на массу
Описание схемы
При установке ключа зажигания в положение ON модуль датчиков и диагностики (SDM) выполняет начальную проверку для выявления существенных неполадок внутри самого SDM.
После этих проверок модуль измеряет напряжения в цепях зажигания и срабатывания подушек безопасности, проверяя, что они находятся в номинальных диапазонах. SDM контролирует напряжения на проводах нижнего уровня подушек водителя и пассажира, выявляя замыкание цепей срабатывания на массу или напряжение питания.
Диагностический код неисправности dtc 81 записывается, когда
Провод верхнего уровня проводки датчика боковой подушки безопасности водителя закорочен на массу.
Провод нижнего уровня проводки датчика боковой подушки безопасности водителя закорочен на массу.
dtc 81 Цепь датчика боковой подушки безопасности водителя закорочена на массу
Внимание! Модуль датчиков и диагностики (SDM) может сохранять достаточное напряжение для приведения в действие подушек безопасности и натяжителей в течение 1 минуты после выключения зажигания и удаления предохранителя. Если подушки безопасности и натяжители не отсоединены, не начинайте обслуживание, пока не пройдет одна минута после отключения питания от SDM. Несоблюдение этого требования может привести к травмам.
Внимание! В процессе обслуживания обращайтесь с модулем датчиков и диагностики (SDM) очень осторожно. Не ударяйте и не встряхивайте SDM. Никогда не подключайте питание к системе надувных подушек безопасности (SIR), если SDM не соединен жестко с автомобилем. Чтобы система надувных подушек безопасности (SIR) работала правильно, все болты крепления модуля датчиков и диагностики SDM должны быть тщательно затянуты, а стрелка на SDM должна быть направлена к передней части автомобиля. При недостаточно жестком креплении модуля SDM к автомобилю включенный модуль может сработать, что приведет к неожиданному выпуску подушек безопасности и может повлечь травму.
Шаг
Операция
Значения
Да
Нет
1
Удостоверьтесь, что ключ зажигания находится в положении off.
Подождите минуту, чтобы разрядить заряд блока питания модуля датчиков и диагностики (sdm).
-
Перейдите на Шаг 2
-
2
Осмотрите проводку и разъем датчика боковой подушки безопасности пассажира на предмет повреждений.
Проводка или разъем повреждены?
-
Замените проводку надувной подушки безопасности.
Перейдите на Шаг 3
3
Удостоверьтесь, что ключ зажигания находится в положении off.
Отсоединить разъем датчика боковой подушки безопасности водителя.
Отключите разъем проводки модуля датчиков и диагностики (sdm).
Проверить сопротивление между выводами 1, 2 датчика боковой подушки безопасности водителя.
Сопротивление равно ∞?
∞
Перейдите на Шаг 4
Замените проводку надувной подушки безопасности.
4
Проверить сопротивление между выводами верхнего и нижнего уровня датчика боковой подушки безопасности водителя и массой.
Сопротивление равно ∞?
∞
Перейдите на Шаг 5
Замените проводку надувной подушки безопасности.
5
Замените датчик боковой подушки безопасности водителя.
Удостоверьтесь, что ключ зажигания находится в положении on.
Сотрите диагностический код неисправности с помощью диагностического прибора.
Выполните проверку диагностической системы системы надувных подушек безопасности (sir).
Диагностический код неисправности удален?
-
Система в норме.
Замените модуль датчиков и диагностики.
Диагностический код неисправности (dtc) 82
Ошибка передачи данных датчика боковой подушки безопасности водителя
Описание схемы
При установке ключа зажигания в положение ON модуль датчиков и диагностики (SDM) выполняет начальную проверку для выявления существенных неполадок внутри самого SDM.
После этих проверок модуль измеряет напряжения в цепях зажигания и срабатывания подушек безопасности, проверяя, что они находятся в номинальных диапазонах. SDM контролирует напряжения на проводах нижнего уровня подушек водителя и пассажира, выявляя замыкание цепей срабатывания на массу или напряжение питания.
Диагностический код неисправности dtc 82 записывается, когда
Произошла ошибка передачи данных между модулем датчиков и диагностики (sdm) и датчиком боковой подушки безопасности водителя.
dtc 82 Ошибка передачи данных датчика боковой подушки безопасности водителя
Внимание! Модуль датчиков и диагностики (SDM) может сохранять достаточное напряжение для приведения в действие подушек безопасности и натяжителей в течение 1 минуты после выключения зажигания и удаления предохранителя. Если подушки безопасности и натяжители не отсоединены, не начинайте обслуживание, пока не пройдет одна минута после отключения питания от SDM. Несоблюдение этого требования может привести к травмам.
Внимание! В процессе обслуживания обращайтесь с модулем датчиков и диагностики (SDM) очень осторожно. Не ударяйте и не встряхивайте SDM. Никогда не подключайте питание к системе надувных подушек безопасности (SIR), если SDM не соединен жестко с автомобилем. Чтобы система надувных подушек безопасности (SIR) работала правильно, все болты крепления модуля датчиков и диагностики SDM должны быть тщательно затянуты, а стрелка на SDM должна быть направлена к передней части автомобиля. При недостаточно жестком креплении модуля SDM к автомобилю включенный модуль может сработать, что приведет к неожиданному выпуску подушек безопасности и может повлечь травму.
Шаг
Операция
Значения
Да
Нет
1
Удостоверьтесь, что ключ зажигания находится в положении off.
Подождите минуту, чтобы разрядить заряд блока питания модуля датчиков и диагностики (sdm).
Осмотрите проводку и разъем датчика боковой подушки безопасности пассажира на предмет повреждений.
Проводка подушки безопасности и разъем в порядке?
-
Перейдите на Шаг 3
Перейдите на Шаг 2
2
Замените проводку подушки безопасности и подключите разъем.
-
-
-
3
Замените датчик боковой подушки безопасности водителя.
Удостоверьтесь, что ключ зажигания находится в положении on.
Сотрите диагностический код неисправности с помощью диагностического прибора.
Проверьте цепь.
Диагностический код неисправности (dtc) остался?
-
Перейдите на Шаг 4
Система в норме.
4
Замените модуль датчиков и диагностики.
-
-
-
Диагностический код неисправности (dtc) 83
Неисправность датчика боковой подушки безопасности водителя
Описание схемы
При установке ключа зажигания в положение ON модуль датчиков и диагностики (SDM) выполняет начальную проверку для выявления существенных неполадок внутри самого SDM.
После этих проверок модуль измеряет напряжения в цепях зажигания и срабатывания подушек безопасности, проверяя, что они находятся в номинальных диапазонах. SDM контролирует напряжения на проводах нижнего уровня подушек водителя и пассажира, выявляя замыкание цепей срабатывания на массу или напряжение питания.
Диагностический код неисправности dtc 83 записывается, когда
Датчик боковой подушки безопасности водителя неисправен.
dtc 83 Неисправность датчика боковой подушки безопасности водителя
Внимание! Модуль датчиков и диагностики (SDM) может сохранять достаточное напряжение для приведения в действие подушек безопасности и натяжителей в течение 1 минуты после выключения зажигания и удаления предохранителя. Если подушки безопасности и натяжители не отсоединены, не начинайте обслуживание, пока не пройдет одна минута после отключения питания от SDM. Несоблюдение этого требования может привести к травмам.
Внимание! В процессе обслуживания обращайтесь с модулем датчиков и диагностики (SDM) очень осторожно. Не ударяйте и не встряхивайте SDM. Никогда не подключайте питание к системе надувных подушек безопасности (SIR), если SDM не соединен жестко с автомобилем. Чтобы система надувных подушек безопасности (SIR) работала правильно, все болты крепления модуля датчиков и диагностики SDM должны быть тщательно затянуты, а стрелка на SDM должна быть направлена к передней части автомобиля. При недостаточно жестком креплении модуля SDM к автомобилю включенный модуль может сработать, что приведет к неожиданному выпуску подушек безопасности и может повлечь травму.
Шаг
Операция
Значения
Да
Нет
1
Удостоверьтесь, что ключ зажигания находится в положении off.
Подождите минуту, чтобы разрядить заряд блока питания модуля датчиков и диагностики (sdm).
Осмотрите проводку и разъем датчика боковой подушки безопасности пассажира на предмет повреждений.
Есть повреждения проводки подушки безопасности или разъема?
-
Перейдите на Шаг 2
Перейдите на Шаг 3
2
Замените проводку датчика подушки безопасности.
-
-
-
3
Замените датчик боковой подушки безопасности водителя.
-
-
-
Диагностический код неисправности (dtc) 84
Цепь датчика боковой подушки безопасности пассажира закорочена на напряжение питания
Описание схемы
При установке ключа зажигания в положение ON модуль датчиков и диагностики (SDM) выполняет начальную проверку для выявления существенных неполадок внутри самого SDM.
После этих проверок модуль измеряет напряжения в цепях зажигания и срабатывания подушек безопасности, проверяя, что они находятся в номинальных диапазонах. SDM контролирует напряжения на проводах нижнего уровня подушек водителя и пассажира, выявляя замыкание цепей срабатывания на массу или напряжение питания.
Диагностический код неисправности dtc 84 записывается, когда
Провод верхнего уровня проводки датчика боковой подушки безопасности пассажира закорочен на провод аккумулятора.
Провод нижнего уровня проводки датчика боковой подушки безопасности пассажира закорочен на провод аккумулятора.
dtc 84 Цепь датчика боковой подушки безопасности пассажира закорочена на напряжение питания
Внимание! Модуль датчиков и диагностики (SDM) может сохранять достаточное напряжение для приведения в действие подушек безопасности и натяжителей в течение 1 минуты после выключения зажигания и удаления предохранителя. Если подушки безопасности и натяжители не отсоединены, не начинайте обслуживание, пока не пройдет одна минута после отключения питания от SDM. Несоблюдение этого требования может привести к травмам.
Внимание! В процессе обслуживания обращайтесь с модулем датчиков и диагностики (SDM) очень осторожно. Не ударяйте и не встряхивайте SDM. Никогда не подключайте питание к системе надувных подушек безопасности (SIR), если SDM не соединен жестко с автомобилем. Чтобы система надувных подушек безопасности (SIR) работала правильно, все болты крепления модуля датчиков и диагностики SDM должны быть тщательно затянуты, а стрелка на SDM должна быть направлена к передней части автомобиля. При недостаточно жестком креплении модуля SDM к автомобилю включенный модуль может сработать, что приведет к неожиданному выпуску подушек безопасности и может повлечь травму.
Шаг
Операция
Значения
Да
Нет
1
Удостоверьтесь, что ключ зажигания находится в положении off.
Подождите минуту, чтобы разрядить заряд блока питания модуля датчиков и диагностики (sdm).
-
Перейдите на Шаг 2
-
2
Осмотрите проводку и разъем датчика боковой подушки безопасности пассажира на предмет повреждений.
Проводка повреждена или разъем отключен?
-
Перейдите на Шаг 3
Перейдите на Шаг 4
3
Подключить разъем или заменить проводку.
Проверьте систему еще раз.
-
-
-
4
Удостоверьтесь, что ключ зажигания находится в положении off.
Отсоединить разъем датчика боковой подушки безопасности пассажира.
Отключите разъем проводки модуля датчиков и диагностики (sdm).
Проверить сопротивление между выводами 46, 21 модуля sdm и выводами 1, 2 датчика боковой подушки безопасности пассажира.
Сопротивление близко к 0 (нулю)?
≈ 0 Ом
Перейдите на Шаг 5
Замените проводку надувной подушки безопасности.
5
Проверить сопротивление между выводами верхнего и нижнего уровня датчика боковой подушки безопасности пассажира и аккумулятором.
Сопротивление равно ∞?
∞
Перейдите на Шаг 6
Замените проводку надувной подушки безопасности.
6
Замените датчик боковой подушки безопасности пассажира.
Удостоверьтесь, что ключ зажигания находится в положении on.
Сотрите диагностический код неисправности с помощью диагностического прибора.
Выполните проверку диагностической системы системы надувных подушек безопасности (sir).
Диагностический код неисправности удален?
-
Система в норме.
Замените модуль датчиков и диагностики.
Диагностический код неисправности (dtc) 85
Цепь датчика боковой подушки безопасности пассажира закорочена на массу
Описание схемы
При установке ключа зажигания в положение ON модуль датчиков и диагностики (SDM) выполняет начальную проверку для выявления существенных неполадок внутри самого SDM.
После этих проверок модуль измеряет напряжения в цепях зажигания и срабатывания подушек безопасности, проверяя, что они находятся в номинальных диапазонах. SDM контролирует напряжения на проводах нижнего уровня подушек водителя и пассажира, выявляя замыкание цепей срабатывания на массу или напряжение питания.
Диагностический код неисправности dtc 84 записывается, когда
Провод верхнего уровня проводки датчика боковой подушки безопасности пассажира закорочен на массу.
Провод нижнего уровня проводки датчика боковой подушки безопасности пассажира закорочен на массу.
dtc 85 Цепь датчика боковой подушки безопасности пассажира закорочена на массу
Внимание! Модуль датчиков и диагностики (SDM) может сохранять достаточное напряжение для приведения в действие подушек безопасности и натяжителей в течение 1 минуты после выключения зажигания и удаления предохранителя. Если подушки безопасности и натяжители не отсоединены, не начинайте обслуживание, пока не пройдет одна минута после отключения питания от SDM. Несоблюдение этого требования может привести к травмам.
Внимание! В процессе обслуживания обращайтесь с модулем датчиков и диагностики (SDM) очень осторожно. Не ударяйте и не встряхивайте SDM. Никогда не подключайте питание к системе надувных подушек безопасности (SIR), если SDM не соединен жестко с автомобилем. Чтобы система надувных подушек безопасности (SIR) работала правильно, все болты крепления модуля датчиков и диагностики SDM должны быть тщательно затянуты, а стрелка на SDM должна быть направлена к передней части автомобиля. При недостаточно жестком креплении модуля SDM к автомобилю включенный модуль может сработать, что приведет к неожиданному выпуску подушек безопасности и может повлечь травму.
Шаг
Операция
Значения
Да
Нет
1
Удостоверьтесь, что ключ зажигания находится в положении off.
Подождите минуту, чтобы разрядить заряд блока питания модуля датчиков и диагностики (sdm).
-
Перейдите на Шаг 2
-
2
Осмотрите проводку и разъем датчика боковой подушки безопасности пассажира на предмет повреждений.
Проводка или разъем повреждены?
-
Замените проводку надувной подушки безопасности.
Перейдите на Шаг 3
3
Удостоверьтесь, что ключ зажигания находится в положении off.
Отсоединить разъем датчика боковой подушки безопасности пассажира.
Отключите разъем проводки модуля датчиков и диагностики (sdm).
Проверить сопротивление между выводами 1, 2 датчика боковой подушки безопасности пассажира.
Сопротивление равно ∞?
∞
Перейдите на Шаг 4
Замените проводку надувной подушки безопасности.
4
Проверить сопротивление между выводами верхнего и нижнего уровня датчика боковой подушки безопасности пассажира и массой.
Сопротивление равно ∞?
∞
Перейдите на Шаг 5
Замените проводку надувной подушки безопасности.
5
Замените датчик боковой подушки безопасности пассажира.
Удостоверьтесь, что ключ зажигания находится в положении on.
Сотрите диагностический код неисправности с помощью диагностического прибора.
Выполните проверку диагностической системы системы надувных подушек безопасности (sir).
Диагностический код неисправности удален?
-
Система в норме.
Замените модуль датчиков и диагностики.
Диагностический код неисправности (dtc) 86
Ошибка передачи данных датчика боковой подушки безопасности пассажира
Описание схемы
При установке ключа зажигания в положение ON модуль датчиков и диагностики (SDM) выполняет начальную проверку для выявления существенных неполадок внутри самого SDM.
После этих проверок модуль измеряет напряжения в цепях зажигания и срабатывания подушек безопасности, проверяя, что они находятся в номинальных диапазонах. SDM контролирует напряжения на проводах нижнего уровня подушек водителя и пассажира, выявляя замыкание цепей срабатывания на массу или напряжение питания.
Диагностический код неисправности dtc 86 записывается, когда
Произошла ошибка передачи данных между модулем датчиков и диагностики (sdm) и датчиком боковой подушки безопасности пассажира.
dtc 86 Ошибка передачи данных датчика боковой подушки безопасности пассажира
Внимание! Модуль датчиков и диагностики (SDM) может сохранять достаточное напряжение для приведения в действие подушек безопасности и натяжителей в течение 1 минуты после выключения зажигания и удаления предохранителя. Если подушки безопасности и натяжители не отсоединены, не начинайте обслуживание, пока не пройдет одна минута после отключения питания от SDM. Несоблюдение этого требования может привести к травмам.
Внимание! В процессе обслуживания обращайтесь с модулем датчиков и диагностики (SDM) очень осторожно. Не ударяйте и не встряхивайте SDM. Никогда не подключайте питание к системе надувных подушек безопасности (SIR), если SDM не соединен жестко с автомобилем. Чтобы система надувных подушек безопасности (SIR) работала правильно, все болты крепления модуля датчиков и диагностики SDM должны быть тщательно затянуты, а стрелка на SDM должна быть направлена к передней части автомобиля. При недостаточно жестком креплении модуля SDM к автомобилю включенный модуль может сработать, что приведет к неожиданному выпуску подушек безопасности и может повлечь травму.
Шаг
Операция
Значения
Да
Нет
1
Удостоверьтесь, что ключ зажигания находится в положении off.
Подождите минуту, чтобы разрядить заряд блока питания модуля датчиков и диагностики (sdm).
Осмотрите проводку и разъем датчика боковой подушки безопасности пассажира на предмет повреждений.
Проводка подушки безопасности и разъем в порядке?
-
Перейдите на Шаг 3
Перейдите на Шаг 2
2
Замените проводку подушки безопасности и подключите разъем.
-
-
-
3
Замените датчик боковой подушки безопасности пассажира.
Удостоверьтесь, что ключ зажигания находится в положении on.
Сотрите диагностический код неисправности с помощью диагностического прибора.
Проверьте цепь.
Диагностический код неисправности (dtc) остался?
-
Перейдите на Шаг 4
Система в норме.
4
Замените модуль датчиков и диагностики.
-
-
-
Диагностический код неисправности (dtc) 87
Неисправность датчика боковой подушки безопасности пассажира
Описание схемы
При установке ключа зажигания в положение ON модуль датчиков и диагностики (SDM) выполняет начальную проверку для выявления существенных неполадок внутри самого SDM.
После этих проверок модуль измеряет напряжения в цепях зажигания и срабатывания подушек безопасности, проверяя, что они находятся в номинальных диапазонах. SDM контролирует напряжения на проводах нижнего уровня подушек водителя и пассажира, выявляя замыкание цепей срабатывания на массу или напряжение питания.
Диагностический код неисправности dtc 87 записывается, когда
Датчик боковой подушки безопасности пассажира неисправен.
dtc 87 Неисправность датчика боковой подушки безопасности пассажира
Внимание! Модуль датчиков и диагностики (SDM) может сохранять достаточное напряжение для приведения в действие подушек безопасности и натяжителей в течение 1 минуты после выключения зажигания и удаления предохранителя. Если подушки безопасности и натяжители не отсоединены, не начинайте обслуживание, пока не пройдет одна минута после отключения питания от SDM. Несоблюдение этого требования может привести к травмам.
Внимание! В процессе обслуживания обращайтесь с модулем датчиков и диагностики (SDM) очень осторожно. Не ударяйте и не встряхивайте SDM. Никогда не подключайте питание к системе надувных подушек безопасности (SIR), если SDM не соединен жестко с автомобилем. Чтобы система надувных подушек безопасности (SIR) работала правильно, все болты крепления модуля датчиков и диагностики SDM должны быть тщательно затянуты, а стрелка на SDM должна быть направлена к передней части автомобиля. При недостаточно жестком креплении модуля SDM к автомобилю включенный модуль может сработать, что приведет к неожиданному выпуску подушек безопасности и может повлечь травму.
Шаг
Операция
Значения
Да
Нет
1
Удостоверьтесь, что ключ зажигания находится в положении off.
Подождите минуту, чтобы разрядить заряд блока питания модуля датчиков и диагностики (sdm).
Осмотрите проводку и разъем датчика боковой подушки безопасности пассажира на предмет повреждений.
Есть повреждения проводки подушки безопасности или разъема?
-
Перейдите на Шаг 2
Перейдите на Шаг 3
2
Замените проводку надувной подушки безопасности.
-
-
-
3
Замените датчик боковой подушки безопасности пассажира.
-
-
-
https://vnx.su/ 🛠 Руководства по ремонту и эксплуатации для автомобилей