К началу документа
Evanda
На предыдущую страницуНа следующую страницу
Главная страница GMDEЗагрузить нединамическое оглавлениеЗагрузить динамическое оглавлениеПомощь

РАЗДЕЛ 9P

КУЗОВ И ДОПОЛНИТЕЛЬНОЕ ОБОРУДОВАНИЕ (ДВЕРИ)

G139P01B
Показать иллюстрациюПеревод текста в иллюстрациях


ДВЕРИ - ПЕРЕДНЯЯ ДВЕРЬ И ЗАМОК (961A)

ОПИСАНИЕ ОПЕРАЦИИ
КОД ОПЕРАЦИИ
МОДЕЛЬ
s
n
l
1
. ДВЕРЬ В СБОРЕ, ПЕРЕДНЯЯ - ЗАМЕНА
.
.
.
.
Правый
9610100
1.5
1.7
1.8
Левый
9610200
1.5
1.7
1.8
. ДВЕРЬ В СБОРЕ, ПЕРЕДНЯЯ - РЕГУЛИРОВКА ПОЛОЖЕНИЯ
.
.
.
.
Правый
9610400
0.3
0.3
0.3
Левый
9610500
0.3
0.3
0.3
2
. ПЕТЛЯ, ПЕРЕДНЯЯ ДВЕРЬ (БОЛТОВОЕ КРЕПЛЕНИЕ) - ЗАМЕНА
.
.
.
.
Правый верхний
9610700
0,9
0,9
0,9
Левый верхний
9610800
0,9
0,9
0,9
Правый нижний
9610900
0,9
0,9
0,9
Левый нижний
9611100
0,9
0,9
0,9
Обе правые
9611200
1.0
1.0
1.0
Обе левые
9611300
1.0
1.0
1.0
3
. РЫЧАГ ИЛИ ПРУЖИНА, ФИКСАЦИЯ ОТКРЫТОЙ ПЕРЕДНЕЙ ДВЕРИ - ЗАМЕНА
.
.
.
.
Правый
9611500
0.5
0.5
0.5
Левый
9611600
0.5
0.5
0.5
4
. РУЧКА, НАРУЖНАЯ ПЕРЕДНЕЙ ДВЕРИ - ЗАМЕНА
.
.
.
.
Правый
9612100
0.5
0.5
0.6
Левый
9612200
0.5
0.5
0.6
Оба
9612300
0,9
0,9
1.0
5
. ФИКСАТОР, ЗАМОК ПЕРЕДНЕЙ ДВЕРИ - ЗАМЕНА
.
.
.
.
Правый
9612500
0.2
0.2
0.2
Левый
9612600
0.2
0.2
0.2
6
. ЗАЩЕЛКА, ПЕРЕДНЯЯ ДВЕРЬ - ЗАМЕНА И ПЕРЕУСТАНОВКА ИЛИ ЗАМЕНА
.
.
.
.
Правый
9612800
0.5
0.6
0.8
Левый
9612900
0.5
0.6
0.8
Оба
9613000
0,9
1.1
1.5
7
. СТЕРЖЕНЬ, ВНУТРЕННИЙ ЗАПОРНЫЙ ПЕРЕДНЕЙ ДВЕРИ - ЗАМЕНА
.
.
.
.
Правый
9613100
0.5
0.6
0.6
Левый
9613200
0.5
0.6
0.6
s : aveo/kalos/barina, n : nubira/lacetti/forenza/optra/viva, l : evanda/epica

G139P01B
Показать иллюстрациюПеревод текста в иллюстрациях


ДВЕРИ - ПЕРЕДНЯЯ ДВЕРЬ И ЗАМОК (961A)

ОПИСАНИЕ ОПЕРАЦИИ
КОД ОПЕРАЦИИ
МОДЕЛЬ
s
n
l
8
. ПЕРЕКЛЮЧАТЕЛЬ, КОНТАКТ ДВЕРИ - ЗАМЕНА
.
.
.
.
Правый передний
9613400
0.2
0.2
-
Левый передний
9613500
0.2
0.2
-
Оба
9613600
0.3
0.3
-
s : aveo/kalos/barina, n : nubira/lacetti/forenza/optra/viva, l : evanda/epica

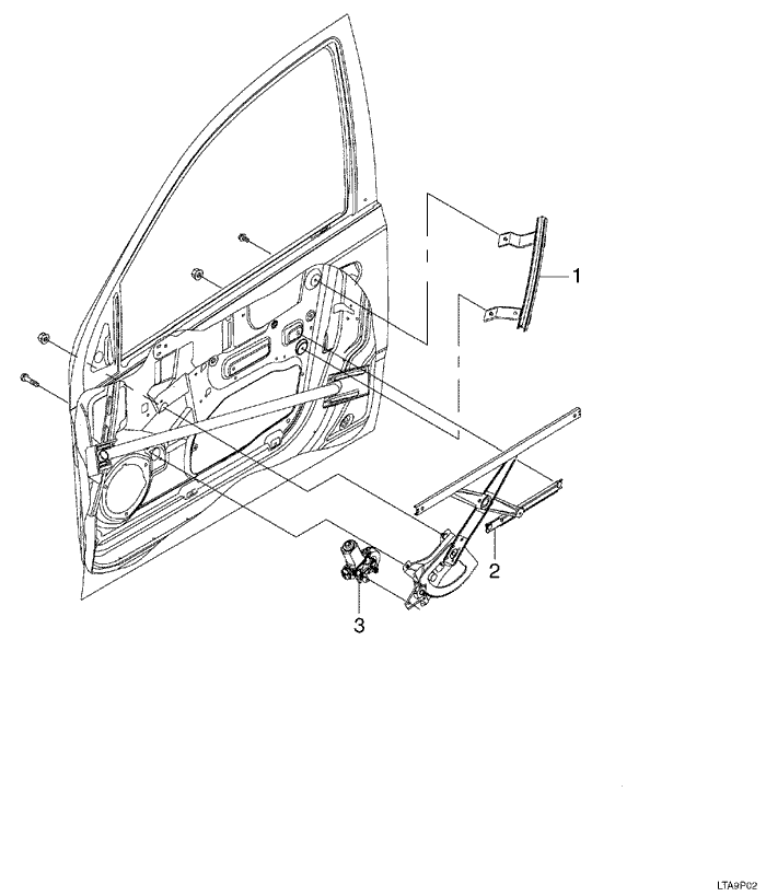
LTA9P02
Показать иллюстрациюПеревод текста в иллюстрациях


ДВЕРИ - ПЕРЕДНИЙ СТЕКЛОПОДЪЕМНИК (961B)

ОПИСАНИЕ ОПЕРАЦИИ
КОД ОПЕРАЦИИ
МОДЕЛЬ
s
n
l
1
. НАПРАВЛЯЮЩАЯ, ПЕРЕДНЯЯ ДВЕРЬ - ЗАМЕНА
.
.
.
.
Правый
9615100
0.5
0.5
0.5
Левый
9615200
0.5
0.5
0.5
2
. МЕХАНИЗМ СТЕКЛОПОДЪЕМНИКА, ОКНО ПЕРЕДНЕЙ ДВЕРИ - ЗАМЕНА
.
.
.
.
Правый ручной
9616100
0.6
-
-
Левый ручной
9616200
0.6
-
-
Правый электрический
9616400
0.6
0.7
0.7
Левый электрический
9616500
0.6
0.7
0.7
3
. ЭЛЕКТРОДВИГАТЕЛЬ, ОКНО ПЕРЕДНЕЙ ДВЕРИ - ЗАМЕНА
.
.
.
.
Правый передний
9616700
0.6
0.7
0.7
Левый передний
9616800
0.6
0.7
0.7
s : aveo/kalos/barina, n : nubira/lacetti/forenza/optra/viva, l : evanda/epica

G139P03B
Показать иллюстрациюПеревод текста в иллюстрациях


ДВЕРИ - ПЕРЕДНИЙ УПЛОТНИТЕЛЬ (961C)

ОПИСАНИЕ ОПЕРАЦИИ
КОД ОПЕРАЦИИ
МОДЕЛЬ
s
n
l
1
. УПЛОТНИТЕЛЬ, ПЕРЕДНЯЯ ДВЕРЬ - ЗАМЕНА
.
.
.
.
Правый
9618100
0.2
0.3
0.3
Левый
9618200
0.2
0.3
0.3
2
. ВТОРОЙ УПЛОТНИТЕЛЬ, ПЕРЕДНЯЯ ДВЕРЬ - ЗАМЕНА
.
.
.
.
Правый
9618300
-
0.3
0.3
Левый
9618400
-
0.3
0.3
3
. ОТДЕЛКА, МЕЖДУ ДВЕРЯМИ - ЗАМЕНА
.
.
.
.
Правый
9618500
0.2
0.2
0.2
Левый
9618510
0.2
0.2
0.2
Оба
9618520
0.3
0.3
0.3
4
. МОЛДИНГ, НАРУЖНЫЙ ЖЕЛОБОК, ПЕРЕДНЯЯ ДВЕРЬ - ЗАМЕНА
.
.
.
.
Правый
9618600
0.2
0.3
0.3
Левый
9618700
0.2
0.3
0.3
5
. УПЛОТНИТЕЛЬ, СТЕКЛО ПЕРЕДНЕЙ ДВЕРИ - ЗАМЕНА
.
.
.
.
Правый
9618800
0.8
0.8
0.8
Левый
9618900
0.8
0.8
0.8
6
. НАПРАВЛЯЮЩАЯ СТЕКЛА, ПЕРЕДНЯЯ ДВЕРЬ - ЗАМЕНА
.
.
.
.
Правый
9619100
0.5
0.7
0.7
Левый
9619200
0.5
0.7
0.7
7
. МОЛДИНГ, ПЕРЕДНЯЯ ДВЕРЬ ЗАЩИТНЫЙ - ЗАМЕНА
9619300
-
0.2
0.2
. МОЛДИНГ, ПЕРЕДНЯЯ ДВЕРЬ ЗАЩИТНЫЙ (ХЭТЧБЕК, ФУРГОН) - ЗАМЕНА
9619310
0.2
0.2
-
8
. УПЛОТНЕНИЕ, ПЕРЕДНЯЯ ДВЕРЬ, НИЖНЕЕ - ЗАМЕНА
.
.
.
.
Правый
9619400
-
0.2
0.2
Левый
9619410
-
0.2
0.2
Оба
9619420
-
0.3
0.3
s : aveo/kalos/barina, n : nubira/lacetti/forenza/optra/viva, l : evanda/epica

LTA9P04
Показать иллюстрациюПеревод текста в иллюстрациях


ДВЕРИ - ЗАДНЯЯ ДВЕРЬ И ЗАМОК (963A)

ОПИСАНИЕ ОПЕРАЦИИ
КОД ОПЕРАЦИИ
МОДЕЛЬ
s
n
l
1
. ДВЕРЬ В СБОРЕ, ЗАДНЯЯ - ЗАМЕНА
.
.
.
.
Правый
9630100
2.3
1.7
1.9
Левый
9630200
2.3
1.7
1.9
. ДВЕРЬ В СБОРЕ, ЗАДНЯЯ - РЕГУЛИРОВКА ПОЛОЖЕНИЯ
.
.
.
.
Правый
9630400
0.3
0.3
0.3
Левый
9630500
0.3
0.3
0.3
2
. ПЕТЛЯ, ЗАДНЯЯ ДВЕРЬ (БОЛТОВОЕ КРЕПЛЕНИЕ) - ЗАМЕНА
.
.
.
.
Правый верхний
9630700
0.8
0.5
0.5
Левый верхний
9630800
0.8
0.5
0.5
Правый нижний
9630900
0.8
0.5
0.5
Левый нижний
9631100
0.8
0.5
0.5
Обе правые
9631200
0,9
0,9
0,9
Обе левые
9631300
0,9
0,9
0,9
3
. РЫЧАГ ИЛИ ПРУЖИНА, ФИКСАЦИЯ ОТКРЫТОЙ ЗАДНЕЙ ДВЕРИ - ЗАМЕНА
.
.
.
.
Правый
9631500
0.5
0.5
0.5
Левый
9631600
0.5
0.5
0.5
4
. РУЧКА, НАРУЖНАЯ ЗАДНЕЙ ДВЕРИ - ЗАМЕНА
.
.
.
.
Правый
9631800
0.6
0.6
0.6
Левый
9631900
0.6
0.6
0.6
Оба
9632000
1.1
1.1
1.1
5
. ФИКСАТОР, ЗАМОК ЗАДНЕЙ ДВЕРИ - ЗАМЕНА
.
.
.
.
Правый
9632100
0.2
0.2
0.2
Левый
9632200
0.2
0.2
0.2
6
. ЗАЩЕЛКА, ЗАДНЯЯ ДВЕРЬ - ЗАМЕНА И ПЕРЕУСТАНОВКА ИЛИ ЗАМЕНА
.
.
.
.
Правый
9632400
0.5
0.5
0.7
Левый
9632500
0.5
0.5
0.7
Оба
9632600
0,9
0,9
1,2
7
. СТЕРЖЕНЬ, ВНУТРЕННИЙ ЗАПОРНЫЙ ЗАДНЕЙ ДВЕРИ - ЗАМЕНА
.
.
.
.
Правый
9632700
0.5
0.5
0.5
Левый
9632800
0.5
0.5
0.5
s : aveo/kalos/barina, n : nubira/lacetti/forenza/optra/viva, l : evanda/epica

LTA9P04
Показать иллюстрациюПеревод текста в иллюстрациях


ДВЕРИ - ЗАДНЯЯ ДВЕРЬ И ЗАМОК (963A)

ОПИСАНИЕ ОПЕРАЦИИ
КОД ОПЕРАЦИИ
МОДЕЛЬ
s
n
l
8
. ПЕРЕКЛЮЧАТЕЛЬ, КОНТАКТ ДВЕРИ - ЗАМЕНА
.
.
.
.
Правый задний
9633100
0.2
0.2
-
Левый задний
9633200
0.2
0.2
-
Оба
9633300
0.3
0.3
-
s : aveo/kalos/barina, n : nubira/lacetti/forenza/optra/viva, l : evanda/epica

G139P05B
Показать иллюстрациюПеревод текста в иллюстрациях


ДВЕРИ - ЗАДНИЙ СТЕКЛОПОДЪЕМНИК (963B)

ОПИСАНИЕ ОПЕРАЦИИ
КОД ОПЕРАЦИИ
МОДЕЛЬ
s
n
l
1
. НАПРАВЛЯЮЩАЯ, ЗАДНЯЯ ДВЕРЬ - ЗАМЕНА
.
.
.
.
Правый
9635100
0.5
0.6
0.6
Левый
9635200
0.5
0.6
0.6
2
. МЕХАНИЗМ СТЕКЛОПОДЪЕМНИКА, ОКНО ЗАДНЕЙ ДВЕРИ - ЗАМЕНА
.
.
.
.
Правый ручной
9636100
0.6
0.7
0.7
Левый ручной
9636200
0.6
0.7
0.7
Правый электрический
9636300
0.6
0.7
0.7
Левый электрический
9636400
0.6
0.7
0.7
3
. ЭЛЕКТРОДВИГАТЕЛЬ, ОКНО ЗАДНЕЙ ДВЕРИ - ЗАМЕНА
.
.
.
.
Правый задний
9636600
0.6
0.7
0.7
Левый задний
9636700
0.6
0.7
0.7
s : aveo/kalos/barina, n : nubira/lacetti/forenza/optra/viva, l : evanda/epica

G139P06B
Показать иллюстрациюПеревод текста в иллюстрациях


ДВЕРИ - ЗАДНИЙ УПЛОТНИТЕЛЬ (963C)

ОПИСАНИЕ ОПЕРАЦИИ
КОД ОПЕРАЦИИ
МОДЕЛЬ
s
n
l
1
. УПЛОТНИТЕЛЬ, ЗАДНЯЯ ДВЕРЬ - ЗАМЕНА
.
.
.
.
Правый
9638100
0.3
0.3
0.3
Левый
9638200
0.3
0.3
0.3
2
. ВТОРОЙ УПЛОТНИТЕЛЬ, ЗАДНЯЯ ДВЕРЬ - ЗАМЕНА
.
.
.
.
Правый
9638300
-
0.3
0.3
Левый
9638400
-
0.3
0.3
3
. ОТДЕЛКА, ЗАДНЯЯ ДВЕРЬ - ЗАМЕНА
.
.
.
.
Правый
9638500
0.2
0.3
0.3
Левый
9638510
0.2
0.3
0.3
Оба
9638520
0.3
0.5
0.5
4
. МОЛДИНГ, НАРУЖНЫЙ ЗАДНЕЙ ДВЕРИ - ЗАМЕНА
.
.
.
.
Правый
9638600
0.2
0.3
0.3
Левый
9638700
0.2
0.3
0.3
5
. УПЛОТНИТЕЛЬ, СТЕКЛО ЗАДНЕЙ ДВЕРИ - ЗАМЕНА
.
.
.
.
Правый
9638800
0.8
0.8
0.8
Левый
9638900
0.8
0.8
0.8
6
. НАПРАВЛЯЮЩАЯ СТЕКЛА, ЗАДНЯЯ ДВЕРЬ - ЗАМЕНА
.
.
.
.
Правый
9639100
0.5
0.7
0.7
Левый
9639200
0.5
0.7
0.7
7
. МОЛДИНГ, ЗАЩИТНЫЙ ЗАДНЕЙ ДВЕРИ - ЗАМЕНА
9639300
-
-
0.2
8
. УПЛОТНИТЕЛЬ, ЗАДНЯЯ ДВЕРЬ, НИЖНИЙ - ЗАМЕНА
.
.
.
.
Правый
9639400
-
0.2
0.2
Левый
9639410
-
0.2
0.2
Оба
9639420
-
0.3
0.3
9
. МОЛДИНГ, ЗАЩИТНЫЙ БОКОВОЙ НАРУЖНЫЙ - ЗАМЕНА
.
.
.
.
Правый
9639500
0.2
-
-
Левый
9639600
0.2
-
-
s : aveo/kalos/barina, n : nubira/lacetti/forenza/optra/viva, l : evanda/epica

LTA9P07
Показать иллюстрациюПеревод текста в иллюстрациях


ДВЕРИ - ЭЛЕКТРИЧЕСКИЙ ДВЕРНОЙ ЗАМОК (965)

ОПИСАНИЕ ОПЕРАЦИИ
КОД ОПЕРАЦИИ
МОДЕЛЬ
s
n
l
1
. ПРИВОД И (ИЛИ) ПЕРЕКЛЮЧАТЕЛЬ, ЗАМОК ДВЕРИ - ЗАМЕНА
.
.
.
.
Правый передний
9650100
0.6
0.6
0.6
Левый передний
9650200
0.6
0.6
0.6
Правый задний
9650300
0.6
0.6
0.6
Левый задний
9650400
0.6
0.6
0.6
2
. БЛОК, ЦЕНТРАЛЬНЫЙ ЗАМОК ДВЕРЕЙ - ЗАМЕНА
9650700
0.3
0.3
0.3
s : aveo/kalos/barina, n : nubira/lacetti/forenza/optra/viva, l : evanda/epica

G149P08
Показать иллюстрациюПеревод текста в иллюстрациях


ДВЕРИ - ЗАМОК НАЛИВНОЙ ГОРЛОВИНЫ ТОПЛИВНОГО БАКА И ЗАМОК ФОРТОЧКИ (966)

ОПИСАНИЕ ОПЕРАЦИИ
КОД ОПЕРАЦИИ
МОДЕЛЬ
s
n
l
1
. КРЫШКА ЛЮКА, НАЛИВНАЯ ГОРЛОВИНА ТОПЛИВНОГО БАКА - ЗАМЕНА
9660100
0.2
0.2
0.2
2
. ПРОБКА, ТОПЛИВНЫЙ БАК - ЗАМЕНА
9660300
0.2
0.2
0.2
3
. ТРОС, КРЫШКА ЛЮКА НАЛИВНОЙ ГОРЛОВИНЫ - ЗАМЕНА
9660500
1.0
1.0
1.0
4
. ЗАМОК, КРЫШКА ЛЮКА НАЛИВНОЙ ГОРЛОВИНЫ - ЗАМЕНА
9660700
0.3
0.3
0.3
5
. ЗАМОК, ОТКИДНОЕ ОКНО (ХЭТЧБЕК) - ЗАМЕНА
.
.
.
.
Правый
9661500
0.3
-
-
Левый
9661600
0.3
-
-
Оба
9661700
0.5
-
-
s : aveo/kalos/barina, n : nubira/lacetti/forenza/optra/viva, l : evanda/epica

G139P09B
Показать иллюстрациюПеревод текста в иллюстрациях


ДВЕРИ - ЗАМОК КРЫШКИ БАГАЖНИКА И ЗАМОК ДВЕРИ ЗАДКА (967)

ОПИСАНИЕ ОПЕРАЦИИ
КОД ОПЕРАЦИИ
МОДЕЛЬ
s
n
l
1
. ТРОС, ДИСТАНЦИОННОЕ ОТКРЫВАНИЕ БАГАЖНИКА - ЗАМЕНА
9670100
1.0
-
-
2
. ФИКСАТОР, ЗАМОК КРЫШКИ ЗАДНЕГО ОТСЕКА - ЗАМЕНА
9670300
0.2
0.2
0.2
3
. ЗАМОК, КРЫШКА ЗАДНЕГО ОТСЕКА - ЗАМЕНА
9670500
0.2
0.3
0.3
4
. ТЯГА, ЗАЩЕЛКА - ЗАМЕНА
9670700
0.2
0.2
0.2
5
. РЫЧАГ, КРЫШКА БАГАЖНИКА И КРЫШКА ЛЮКА НАЛИВНОЙ ГОРЛОВИНЫ - ЗАМЕНА
9670900
0.6
0.6
0.6
6
. ИСПОЛНИТЕЛЬНЫЙ МЕХАНИЗМ, ДВЕРЬ ЗАДКА - ЗАМЕНА
9671100
-
-
-
7
. СТЕРЖЕНЬ, ИСПОЛНИТЕЛЬНЫЙ МЕХАНИЗМ ДВЕРИ ЗАДКА - ЗАМЕНА
9671300
-
-
-
8
. СТЕРЖЕНЬ, ЗАМОК ДВЕРИ ЗАДКА - ЗАМЕНА
9671500
-
-
-
s : aveo/kalos/barina, n : nubira/lacetti/forenza/optra/viva, l : evanda/epica

LTA9P10
Показать иллюстрациюПеревод текста в иллюстрациях


ДВЕРИ - АВТОМОБИЛЬНЫЙ ЗАМОК (968)

ОПИСАНИЕ ОПЕРАЦИИ
КОД ОПЕРАЦИИ
МОДЕЛЬ
s
n
l
1
. ЦИЛИНДР, ЗАМОК ПЕРЕДНЕЙ ДВЕРИ - ЗАМЕНА И ПЕРЕУСТАНОВКА ИЛИ ЗАМЕНА
.
.
.
.
Правый
9680100
0.4
0.5
0.6
Левый
9680200
0.4
0.5
0.6
Оба
9680300
0.7
0,9
1.1
2
. ЦИЛИНДР, ЗАМОК КРЫШКИ ЗАДНЕГО ОТСЕКА - ЗАМЕНА
9680400
0.2
0.2
0.3
3
. ЦИЛИНДР, ЗАМОК ЗАЖИГАНИЯ - ЗАМЕНА
9680600
0.5
0.5
0.5
4
. КОМПЛЕКТ АВТОМОБИЛЬНЫХ ЗАМКОВ - ЗАМЕНА
9680700
1,2
1,2
1,2
5
. КЛЮЧ (ЗАГОТОВКА) - ИЗГОТОВЛЕНИЕ КЛЮЧА
9681100
0.2
0.2
0.2
a - ключ иммобилизатора: кодирование
968110a
0.1
0.1
0.1
6
. КЛЮЧ МЕХАНИЧЕСКИЙ ИЛИ ЭЛЕКТРОННЫЙ - ЗАМЕНА И КОДИРОВАНИЕ (КАЖДЫЙ)
9681500
0.1
0.1
0.1
s : aveo/kalos/barina, n : nubira/lacetti/forenza/optra/viva, l : evanda/epica
На предыдущую страницуНа следующую страницу


https://vnx.su/ 🛠 Руководства по ремонту и эксплуатации для автомобилей

Поиск по сайту

Остались вопросы или пожелания? Пишите на почту: support@vnx.su

Карта Сайта