К началу документа
Tacuma
На предыдущую страницуНа следующую страницу
Главная страница GMDEЗагрузить нединамическое оглавлениеЗагрузить динамическое оглавлениеПомощь

U5A15A03
Показать иллюстрациюПеревод текста в иллюстрациях


ДИАГНОСТИЧЕСКИЙ КОД НЕИСПРАВНОСТИ Р0562 НИЗКОЕ НАПРЯЖЕНИЕ СИСТЕМЫ

Описание схемы

Контроллер коробки переключения передач представляет собой электронный прибор, контролирующий входы для управления различными функциями коробки передач, включая качество переключения, а также датчики коробки передач, переключатели и рабочие компоненты для использования перечисленного в рамках управляющей программы. Основываясь на поступающей информации контроллер КПП управляет различными функциями и устройствами коробки передач.

Условия записи диагностического кода неисправности

Действия при занесении кода неисправности

Условия удаления индикации mil/ диагностического кода неисправности

dtc p0562 - Низкое напряжение бортовой сети

ШагОперацияЗначенияДаНет
1
Выполнить проверку системы бортовой диагностики.
Проверка произведена?
-
Перейти к Шагу 2
Перейти к "Проверка систему бортовой диагностики"
2
  1. Установить диагностический прибор.
  2. Включить зажигание при выключенном двигателе.
  3. Разогнать двигатель до 1200 мин-1.
  4. Записать стареть коды неисправности.
  5. В диагностическом приборе выбрать напряжение бортовой сети.
  6. Проехать на автомобиле и проверить по диагностическому прибору следующее:
Соответствует ли сопротивление указанным пределам?
9-16 В
Перейти к Шагу 5
Перейти к Шагу 3
3
  1. Отсоединить провод аккумуляторной батареи.
  2. Измерить напряжение аккумулятора.
Соответствует ли сопротивление указанным пределам?
9-16 В
Перейти к Шагу 5
Перейти к Шагу 4
4
Заменить аккумулятор.
Замена завершена?
-
Система в норме
-
5
  1. Включить фары.
  2. Включить кондиционер.
  3. Разогнать двигатель до 1200 мин-1.
  4. Проверить напряжение в бортовой сети с помощью диагностического прибора.
Соответствует ли сопротивление указанным пределам?
9-16 В
Перейти к Шагу 7
Перейти к Шагу 6
6
  1. Повернуть ключ зажигания в положение "LOCK" (блокировки).
  2. При необходимости устранить неисправность цепи генератора.
Действие завершено?
-
Система в норме
-
7
Проверка предохранителя f15, ef6 на обрыв.
Была ли обнаружена причина неисправности?
-
Перейти к Шагу 8
Перейти к Шагу 9
8
Проверка предохранителя f15, ef6 на короткое замыкание. Заменить предохранитель при необходимости.
Замена завершена?
-
Система в норме
-
9
  1. Установите зажигание в положение on.
  2. Измерить напряжение на предохранителях f15 и ef6.
Соответствует ли сопротивление указанным пределам?
9-16 В
Перейти к Шагу 11
Перейти к Шагу 10
10
Устранить разрыв в цепи питания, защищенной предохранителем.
Действие завершено?
-
Система в норме
-
11
  1. Повернуть ключ зажигания в положение "LOCK" (блокировки).
  2. Отсоединить соединительный зажим контроллера КПП.
  3. Измерить сопротивление между предохранителем ef6 и контактом b3 электрического разъема контроллера КПП.
Соответствует ли сопротивление указанным пределам?
0Ом
Перейти к Шагу 13
Перейти к Шагу 12
12
Устранить замыкание на массу и разрыв цепи между ef6 и клеммой В3.
Ремонт закончен?
-
Система в норме
-
13
  1. Разъединить разъем c203 и разъем контроллера КПП.
  2. Установите зажигание в положение on.
  3. Измерить напряжение на клемме В3 (разъем электропроводки контроллера КПП).
Соответствует ли сопротивление указанным пределам?
9-16 В
Перейти к Шагу 14
Перейти к Шагу 15
14
Устранить замыкание на аккумуляторную батарею цепи между ef6 и клеммой В3 контроллера КПП.
Ремонт закончен?
-
Система в норме
-
15
  1. Повернуть ключ зажигания в положение "LOCK" (блокировки)
  2. Разъединить разъем c102.
  3. Измерить сопротивление между предохранителем f15 и контактом С16 электрического разъема контроллера КПП.
Соответствует ли сопротивление указанным пределам?
0Ом
Перейти к Шагу 17
Перейдите на Шаг 16
16
Устранить замыкание на массу или разрыв цепи между f15 и контактом c16.
Ремонт закончен?
-
Система в норме
-
17
  1. Установите зажигание в положение on.
  2. Измерить напряжение на клемме С16 (разъем электропроводки контроллера КПП)
Соответствует ли сопротивление указанным пределам?
9-16 В
Перейти к Шагу 18
Перейдите на Шаг 19
18
Устранить замыкание на аккумуляторную батарею цепи (между f15 и контактом c16).
Ремонт закончен?
-
Система в норме
-
19
  1. Проверить плотность соединения жгута проводов соединительного зажима коробки передач.
  2. Осмотреть на наличие возможных перегибов, выхода, деформации и повреждения разъёмов.
  3. Проверить плотность соединений.
Состояние обнаружено?
-
Проверить выполнение ремонта и перейти к Шагу 1
Перейти к Шагу 20
20
Заменить контроллер КПП.
Замена завершена?
-
Перейдите на Шаг 21
-
21
  1. После ремонта следует выполнить функцию "clear info" диагностического прибора и дорожное испытание.
  2. См. ""DTC info"".
Был ли сбой при последнем тесте или на дисплее показывается текущий код неисправности?
-
Начать диагностику заново
Ремонт подтверждён Выйти из таблицы неисправностей



U5A15A03
Показать иллюстрациюПеревод текста в иллюстрациях


ДИАГНОСТИЧЕСКИЙ КОД НЕИСПРАВНОСТИ Р0563 ВЫСОКОЕ НАПРЯЖЕНИЕ СИСТЕМЫ

Описание схемы

Контроллер коробки переключения передач представляет собой электронный прибор, контролирующий входы для управления различными функциями коробки передач, включая качество переключения, а также датчики коробки передач, переключатели и рабочие компоненты для использования перечисленного в рамках управляющей программы. Основываясь на поступающей информации контроллер КПП управляет различными функциями и устройствами коробки передач.

Условия записи диагностического кода неисправности

Действия при занесении кода неисправности

Условия удаления индикации mil/ диагностического кода неисправности

dtc p0563 - Высокое напряжение бортовой сети

ШагОперацияЗначенияДаНет
1
Выполнить проверку системы бортовой диагностики.
Проверка произведена?
-
Перейти к Шагу 2
Перейти к "Проверка систему бортовой диагностики"
2
  1. Установить диагностический прибор.
  2. Включить зажигание при выключенном двигателе.
  3. Разогнать двигатель до 1200 мин-1.
  4. Записать стареть коды неисправности.
  5. В диагностическом приборе выбрать напряжение бортовой сети.
  6. Проехать на автомобиле и проверить по диагностическому прибору следующее:
Соответствует ли сопротивление указанным пределам?
9-16 В
Перейти к Шагу 5
Перейти к Шагу 3
3
  1. Отсоединить провод аккумуляторной батареи.
  2. Измерить напряжение аккумулятора.
Соответствует ли сопротивление указанным пределам?
9-16 В
Перейти к Шагу 5
Перейти к Шагу 4
4
Заменить аккумулятор.
Замена завершена?
-
Система в норме
-
5
  1. Включить фары.
  2. Включить кондиционер.
  3. Разогнать двигатель до 1200 мин-1.
  4. Проверить напряжение в бортовой сети с помощью диагностического прибора.
Соответствует ли сопротивление указанным пределам?
9-16 В
Перейти к Шагу 7
Перейти к Шагу 6
6
  1. Повернуть ключ зажигания в положение "LOCK" (блокировки).
  2. При необходимости устранить неисправность цепи генератора.
Ремонт закончен?
-
Система в норме
-
7
Проверка предохранителя f15, ef6 на обрыв.
Была ли обнаружена причина неисправности?
-
Перейти к Шагу 8
Перейти к Шагу 9
8
Проверка предохранителя f15, ef6 на короткое замыкание. Заменить предохранитель при необходимости.
Замена завершена?
-
Система в норме
-
9
  1. Установите зажигание в положение on.
  2. Измерить напряжение на предохранителях f15 и ef6.
Соответствует ли сопротивление указанным пределам?
9-16 В
Перейти к Шагу 11
Перейти к Шагу 10
10
Устранить разрыв в цепи питания, защищенной предохранителем.
Ремонт закончен?
-
Система в норме
-
11
  1. Повернуть ключ зажигания в положение "LOCK" (блокировки).
  2. Отсоединить соединительный зажим контроллера КПП.
  3. Измерить сопротивление между предохранителем ef6 и контактом b3 электрического разъема контроллера КПП.
Соответствует ли сопротивление указанным пределам?
0Ом
Перейти к Шагу 13
Перейти к Шагу 12
12
Устранить замыкание на массу и разрыв цепи между ef6 и клеммой В3.
Ремонт закончен?
-
Система в норме
-
13
  1. Разъединить разъем c203 и разъем контроллера КПП.
  2. Установите зажигание в положение on.
  3. Измерить напряжение на клемме В3 (разъем электропроводки контроллера КПП).
Соответствует ли сопротивление указанным пределам?
9-16 В
Перейти к Шагу 14
Перейти к Шагу 15
14
Устранить замыкание на аккумуляторную батарею цепи (между Еf6 и контактом В3).
Ремонт закончен?
-
Система в норме
-
15
  1. Повернуть ключ зажигания в положение "LOCK" (блокировки)
  2. Разъединить разъем c102.
  3. Измерить сопротивление между предохранителем f15 и контактом С16 электрического разъема контроллера КПП.
Соответствует ли сопротивление указанным пределам?
0Ом
Перейти к Шагу 17
Перейдите на Шаг 16
16
Устранить замыкание на массу или разрыв цепи между f15 и контактом c16.
Ремонт закончен?
-
Система в норме
-
17
  1. Установите зажигание в положение on.
  2. Измерить напряжение на клемме С16 (разъем электропроводки контроллера КПП).
Соответствует ли сопротивление указанным пределам?
11-14В
Перейти к Шагу 18
Перейдите на Шаг 19
18
Устранить замыкание на аккумуляторную батарею цепи (между f15 и контактом c16).
Ремонт закончен?
-
Система в норме
-
19
  1. Проверить плотность соединения жгута проводов соединительного зажима коробки передач.
  2. Осмотреть на наличие возможных перегибов, выхода, деформации и повреждения разъёмов.
  3. Проверить плотность соединений.
Состояние обнаружено?
-
Проверить выполнение ремонта и перейти к Шагу 1
Перейти к Шагу 20
20
Заменить контроллер КПП.
Замена завершена?
-
Перейдите на Шаг 21
-
21
  1. После ремонта следует выполнить функцию "clear info" диагностического прибора и дорожное испытание.
  2. См. ""DTC info"".
Был ли сбой при последнем тесте или на дисплее показывается текущий код неисправности?
-
Начать диагностику заново
Ремонт подтверждён Выйти из таблицы неисправностей



U5A15A03
Показать иллюстрациюПеревод текста в иллюстрациях


ДИАГНОСТИЧЕСКИЙ КОД НЕИСПРАВНОСТИ p0601 ОШИБКА КОНТРОЛЬНОЙ СУММЫ ПАМЯТИ ВНУТРЕННЕГО КОНТРОЛЛЕРА

Описание схемы

Программирование обычной работы блока управления коробки передач заключается в выполнении внутренней проверки, подтверждающей целостность распределения памяти ОЗУ.
Код DTC Р0601 возникает, когда оперативное запоминающее устройство (ОЗУ) работает со сбоями, согласно проверке при инициализации. Область памяти ОЗУ не проходит тест записи-чтения.

Условия записи диагностического кода неисправности

Действия при занесении кода неисправности

Условия удаления индикации mil/ диагностического кода неисправности

Рекомендации по диагностике

dtc p0601 - Внутренняя ошибка контрольной суммы памяти контроллера

ШагОперацияЗначенияДаНет
1
Выполнить проверку системы бортовой диагностики.
Проверка произведена?
-
Перейти к Шагу 2
Перейти к "Проверка систему бортовой диагностики"
2
  1. Установить диагностический прибор.
  2. Включить зажигание при выключенном двигателе.
Появляется ли на дисплее Р0601?
-
Перейти к Шагу 3
Перейти к "Рекомендации по диагностике"
3
  1. Повернуть ключ зажигания в положение "LOCK" (блокировки).
  2. Заменить контроллер КПП.
Действие завершено?
-
Перейти к Шагу 4
-
4
  1. С помощью диагностического прибора удалить код неисправности.
  2. Провести дорожные испытания автомобиля с условиями для появления данного кода неисправности, как описано в тексте.
Появляется ли на дисплее диагностического прибора сообщение о том, что проверка была выполнена и завершена?
-
Перейти к Шагу 5
Перейти к Шагу 2
5
  1. Проверить наличие кодов неисправности.
  2. Выявлены ли коды неисправностей, которые ещё не диагностировались?
-
Перейти к Соответствующая таблица dtc"
Система в норме

U5A15A03
Показать иллюстрациюПеревод текста в иллюстрациях


ДИАГНОСТИЧЕСКИЙ КОД НЕИСПРАВНОСТИ p0603 ОШИБКА ЭНЕРГОНЕЗАВИСИМОЙ ПАМЯТИ (КАМ) ВНУТРЕННЕГО КОНТРОЛЛЕРА

Описание схемы

Программирование обычной работы блока управления коробки передач заключается в выполнении внутренней проверки, подтверждающей целостность распределения энергонезависимой памяти.
Код DTC Р0603 возникает, когда энергонезависимая память работает со сбоями, согласно проверке при инициализации.
Область энергонезависимая память не проходит тест записи-чтения.

Условия записи диагностического кода неисправности

Действия при занесении кода неисправности

Условия удаления индикации mil/ диагностического кода неисправности

Рекомендации по диагностике

dtc p0603 - Внутренняя ошибка энергонезависимой памяти (kam) контроллера

ШагОперацияЗначенияДаНет
1
Выполнить проверку системы бортовой диагностики.
Проверка произведена?
-
Перейти к Шагу 2
Перейти к "Проверка систему бортовой диагностики"
2
  1. Установить диагностический прибор.
  2. Включить зажигание при выключенном двигателе.
Появляется ли на дисплее Р0603?
-
Перейти к Шагу 3
Перейти к "Рекомендации по диагностике"
3
  1. Повернуть ключ зажигания в положение "LOCK" (блокировки).
  2. Заменить контроллер КПП.
Замена завершена?
-
Перейти к Шагу 4
-
4
  1. С помощью диагностического прибора удалить код неисправности.
  2. Провести дорожные испытания автомобиля с условиями для появления данного кода неисправности, как описано в тексте.
Появляется ли на дисплее диагностического прибора сообщение о том, что проверка была выполнена и завершена?
-
Перейти к Шагу 5
Перейти к Шагу 2
5
  1. Проверить наличие кодов неисправности.
  2. Выявлены ли коды неисправностей, которые ещё не диагностировались?
-
Перейти к Соответствующая таблица dtc"
Система в норме

U5A15A03
Показать иллюстрациюПеревод текста в иллюстрациях


ДИАГНОСТИЧЕСКИЙ КОД НЕИСПРАВНОСТИ p0604 ОШИБКА ОПЕРАТИВНОЙ ПАМЯТИ (ram) ВНУТРЕННЕГО КОНТРОЛЛЕРА

Описание схемы

Программирование обычной работы блока управления коробки передач заключается в выполнении внутренней проверки, подтверждающей целостность распределения памяти ОЗУ.
Код DTC Р0604 возникает, когда оперативное запоминающее устройство (ОЗУ) работает со сбоями, согласно проверке при инициализации. Область памяти ОЗУ не проходит тест записи-чтения.

Условия записи диагностического кода неисправности

Действия при занесении кода неисправности

Загорается индикатор неисправности (MIL).

Условия удаления индикации mil/ диагностического кода неисправности

Рекомендации по диагностике

dtc p0604 - Внутренняя ошибка оперативной памяти (ОЗУ) контроллера

ШагОперацияЗначенияДаНет
1
Выполнить проверку системы бортовой диагностики.
Проверка произведена?
-
Перейти к Шагу 2
Перейти к "Проверка систему бортовой диагностики"
2
  1. Установить диагностический прибор.
  2. Включить зажигание при выключенном двигателе.
Появляется ли на дисплее Р0604?
-
Перейти к Шагу 3
Перейти к "Рекомендации по диагностике"
3
  1. Повернуть ключ зажигания в положение "LOCK" (блокировки).
  2. Заменить контроллер КПП.
Действие завершено?
-
Перейти к Шагу 4
-
4
  1. С помощью диагностического прибора удалить код неисправности.
  2. Провести дорожные испытания автомобиля с условиями для появления данного кода неисправности, как описано в тексте.
Появляется ли на дисплее диагностического прибора сообщение о том, что проверка была выполнена и завершена?
-
Перейти к Шагу 5
Перейти к Шагу 2
5
  1. Проверить наличие кодов неисправности.
  2. Выявлены ли коды неисправностей, которые ещё не диагностировались?
-
Перейти к Соответствующая таблица dtc"
Система в норме

U5A15A03
Показать иллюстрациюПеревод текста в иллюстрациях


ДИАГНОСТИЧЕСКИЙ КОД НЕИСПРАВНОСТИ p1604 ПРОВЕРКА ДАННЫХ ВНУТРЕННЕГО & РАСШИРЕННОГО ОЗУ НЕ ВЫПОЛНЕНА

Описание схемы

Программирование обычной работы блока управления коробки передач заключается в выполнении внутренней проверки, подтверждающей целостность распределения памяти ОЗУ.
Код DTC Р1604 возникает, когда оперативное запоминающее устройство (ОЗУ) работает со сбоями, согласно проверке при инициализации. Область памяти ОЗУ не проходит тест записи-чтения.

Условия записи диагностического кода неисправности

Действия при занесении кода неисправности

Загорается индикатор неисправности (MIL).

Условия удаления индикации mil/ диагностического кода неисправности

Индикатор MIL гаснет, если неисправность не появляется после трёхкратного включения зажигания.
Записи в журнале кодов неисправностей удаляются без возникновения ошибки после 40 запусков и прогрева двигателя.
Журнал кодов неисправностей также можно очистить с помощью диагностического прибора.

Рекомендации по диагностике

dtc p1604 - Проверка данных внутреннего и расширенного ОЗУ не выполнена

ШагОперацияЗначенияДаНет
1
Выполнить проверку системы бортовой диагностики.
Проверка произведена?
-
Перейти к Шагу 2
Перейти к "Проверка систему бортовой диагностики"
2
  1. Установить диагностический прибор.
  2. Включить зажигание при выключенном двигателе.
Появляется ли на дисплее Р1604?
-
Перейти к Шагу 3
Перейти к "Рекомендации по диагностике"
3
  1. Повернуть ключ зажигания в положение "LOCK" (блокировки).
  2. Заменить контроллер КПП.
Действие завершено?
-
Перейти к Шагу 4
-
4
  1. С помощью диагностического прибора удалить код неисправности.
  2. Провести дорожные испытания автомобиля с условиями для появления данного кода неисправности, как описано в тексте.
Появляется ли на дисплее диагностического прибора сообщение о том, что проверка была выполнена и завершена?
-
Перейти к Шагу 5
Перейти к Шагу 2
5
  1. Проверить наличие кодов неисправности.
  2. Выявлены ли коды неисправностей, которые ещё не диагностировались?
-
Перейти к Соответствующая таблица dtc"
Система в норме

U5A15A03
Показать иллюстрациюПеревод текста в иллюстрациях


ДИАГНОСТИЧЕСКИЙ КОД НЕИСПРАВНОСТИ p0606 НЕИСПРАВНОСТЬ ПРОЦЕССОРА КОНТРОЛЛЕРА КОРОБКИ ПЕРЕДАЧ С ГЛАВНОЙ ПЕРЕДАЧЕЙ В СБОРЕ

Описание схемы

В случае перезагрузки контролера КПП, выполненной программным обеспечением (выключение при высокой температуре), а не ключом зажигания, контроллер КПП увеличивает значение счётчика перезапуска программного обеспечения. При превышении пределов счётчика для программного счёта подаётся сигнал о появлении ошибки.

Условия записи диагностического кода неисправности

Действия при занесении кода неисправности

Условия удаления индикации mil/ диагностического кода неисправности

dtc p0606 - Неисправность процессора контроллера коробки передач с главной передачей в сборе

ШагОперацияЗначенияДаНет
1
Выполнить проверку системы бортовой диагностики.
Проверка произведена?
-
Перейти к Шагу 2
Перейти к "Проверка систему бортовой диагностики"
2
  1. Установить диагностический прибор.
  2. Включить зажигание при выключенном двигателе.
Появляется ли на дисплее Р0606?
-
Перейти к Шагу 3
Перейти к "Рекомендации по диагностике"
3
Заменить контроллер КПП.
Действие завершено?
-
Перейти к Шагу 4
-
4
  1. С помощью диагностического прибора удалить код неисправности.
  2. Провести дорожные испытания автомобиля с условиями для появления данного кода неисправности, как описано в тексте.
Появляется ли на дисплее диагностического прибора сообщение о том, что проверка была выполнена и завершена?
-
Перейти к Шагу 5
Перейти к Шагу 2
5
  1. Проверить наличие кодов неисправности.
  2. Выявлены ли коды неисправностей, которые ещё не диагностировались?
-
Перейти к Соответствующая таблица dtc"
Система в норме

U5A15A03
Показать иллюстрациюПеревод текста в иллюстрациях


ДИАГНОСТИЧЕСКИЙ КОД НЕИСПРАВНОСТИ Р1606 НЕИСПРАВНОСТЬ ВНЕШНЕГО СТОРОЖЕВОГО ТАЙМЕРА

Описание схемы

Переключается внешний сторожевой таймер. Если внешний сторожевой таймер не выключился через 30 мс, появляется сообщение о неисправности.

Условия записи диагностического кода неисправности

Действия при занесении кода неисправности

Условия удаления индикации mil/ диагностического кода неисправности

Рекомендации по диагностике

dtc p1606 - Неисправность внешнего сторожевого таймера

ШагОперацияЗначенияДаНет
1
Выполнить проверку системы бортовой диагностики.
Проверка произведена?
-
Перейти к Шагу 2
Перейти к "Проверка систему бортовой диагностики"
2
  1. Установить диагностический прибор.
  2. Включить зажигание при выключенном двигателе.
Появляется ли на дисплее Р1606?
-
Перейти к Шагу 3
Перейти к "Рекомендации по диагностике"
3
Заменить контроллер КПП.
Замена завершена?
-
Перейти к Шагу 4
-
4
  1. С помощью диагностического прибора удалить код неисправности.
  2. Провести дорожные испытания автомобиля с условиями для появления данного кода неисправности, как описано в тексте.
Появляется ли на дисплее диагностического прибора сообщение о том, что проверка была выполнена и завершена?
-
Перейти к Шагу 5
Перейти к Шагу 2
5
  1. Проверить наличие кодов неисправности.
  2. Выявлены ли коды неисправностей, которые ещё не диагностировались?
-
Перейти к Соответствующая таблица dtc"
Система в норме

U4A15A06
Показать иллюстрациюПеревод текста в иллюстрациях


ДИАГНОСТИЧЕСКИЙ КОД НЕИСПРАВНОСТИ p1671 НАРУШЕНИЕ ПЕРЕДАЧИ СООБЩЕНИЯ ПО ШИНЕ can (2,0 Л dohc delphi 32 БИТА)

Описание схемы

Контроллер коробки переключения передач представляет собой электронный прибор, контролирующий входы для управления различными функциями коробки передач, включая качество переключения, а также датчики коробки передач, переключатели и рабочие компоненты для использования перечисленного в рамках управляющей программы. Основываясь на поступающей информации контроллер КПП управляет различными функциями и устройствами коробки передач.
Информация передаётся между контроллером КПП и блоком управления двигателя с помощью шины CAN. Информация заключает в себе следующее:

Условия записи диагностического кода неисправности

Действия при занесении кода неисправности

Условия удаления индикации mil/ диагностического кода неисправности

dtС p1671 - Нарушение передачи сообщения по шине can (2,0 Л dohc delphi 32 БИТА)

ШагОперацияЗначенияДаНет
1
Выполнить проверку системы бортовой диагностики.
Проверка произведена?
-
Перейти к Шагу 2
Перейти к "Проверка систему бортовой диагностики"
2
  1. Выключить зажигание.
  2. Отсоединить соединительный зажим контроллера КПП. и разъем контроллера ЭСУД.
  3. Измерить сопротивление между разъёмами А8 соединительного зажима контроллера КПП и разъёмом К14 соединительного зажима блок управления двигателем.
  4. Измерить сопротивление между разъёмами А16 соединительного зажима контроллера КПП и разъёмом К15 соединительного зажима блок управления двигателем.
Соответствует ли сопротивление указанным пределам?
0Ом
Перейти к Шагу 4
Перейти к Шагу 3
3
При необходимости отремонтировать неисправные разъёмы.
Действие завершено?
-
Система в норме
-
4
  1. Установите зажигание в положение on.
  2. Измерить напряжение разъёма А8.
  3. Измерить напряжение разъёма А16.
Соответствует ли сопротивление указанным пределам?
11-14В
Перейти к Шагу 5
Перейти к Шагу 6
5
При необходимости отремонтировать неисправные разъёмы.
Действие завершено?
-
Система в норме
-
6
  1. Заменить контроллер КПП.
  2. Выключить зажигание.
  3. Установите зажигание в положение on.
  4. Проверить, появляется ли код неисправности Р1671.
  5. Появляется код неисправности?
-
Перейти к Шагу 7
Перейти к Шагу 8
7
  1. Заменить блок управления двигателя.
  2. Действие завершено?
-
Перейти к Шагу 8
-
8
  1. После ремонта следует выполнить функцию "clear info" диагностического прибора и дорожное испытание.
  2. См. ""DTC info"".
  3. Был ли сбой при последнем тесте или на дисплее показывается текущий код неисправности?
-
Начать диагностику заново
Ремонт подтверждён Выйти из таблицы неисправностей

U4A15A06
Показать иллюстрациюПеревод текста в иллюстрациях


ДИАГНОСТИЧЕСКИЙ КОД НЕИСПРАВНОСТИ p1672 НЕИСПРАВНОСТЬ ОТКЛЮЧЕНИЯ ШИНЫ can (2,0 л dohc delphi 32 БИТА)

Описание схемы

Контроллер коробки переключения передач представляет собой электронный прибор, контролирующий входы для управления различными функциями коробки передач, включая качество переключения, а также датчики коробки передач, переключатели и рабочие компоненты для использования перечисленного в рамках управляющей программы. Основываясь на поступающей информации контроллер КПП управляет различными функциями и устройствами коробки передач.
Информация передаётся между контроллером КПП и блоком управления двигателя с помощью шины CAN. Информация заключает в себе следующее:

Условия записи диагностического кода неисправности

Действия при занесении кода неисправности

Условия удаления индикации mil/ диагностического кода неисправности

dtc p1672 - Неисправность отключения шины can (2,0 л dohc delphi 32 БИТА)

ШагОперацияЗначенияДаНет
1
Выполнить проверку системы бортовой диагностики.
Проверка произведена?
-
Перейти к Шагу 2
Перейти к "Проверка систему бортовой диагностики"
2
  1. Выключить зажигание.
  2. Отсоединить соединительный зажим контроллера КПП. и разъем контроллера ЭСУД.
  3. Измерить сопротивление между разъёмами А8 соединительного зажима контроллера КПП и разъёмом К14 соединительного зажима блок управления двигателем.
  4. Измерить сопротивление между разъёмами А16 соединительного зажима контроллера КПП и разъёмом К15 соединительного зажима блок управления двигателем.
Соответствует ли сопротивление указанным пределам?
0Ом
Перейти к Шагу 4
Перейти к Шагу 3
3
При необходимости отремонтировать неисправные разъёмы.
Действие завершено?
-
Система в норме
-
4
  1. Установите зажигание в положение on.
  2. Измерить напряжение разъёма А8.
  3. Измерить напряжение разъёма А16.
Соответствует ли сопротивление указанным пределам?
11-14В
Перейти к Шагу 5
Перейти к Шагу 6
5
При необходимости отремонтировать неисправные разъёмы.
Действие завершено?
-
Система в норме
-
6
  1. Заменить контроллер КПП.
  2. Выключить зажигание.
  3. Установите зажигание в положение on.
  4. Проверить, появляется ли код неисправности Р1672.
  5. Появляется код неисправности?
-
Перейти к Шагу 7
Перейти к Шагу 8
7
  1. Заменить блок управления двигателя.
  2. Действие завершено?
-
Перейти к Шагу 8
-
8
  1. После ремонта следует выполнить функцию "clear info" диагностического прибора и дорожное испытание.
  2. См. ""DTC info"".
  3. Был ли сбой при последнем тесте или на дисплее показывается текущий код неисправности?
-
Начать диагностику заново
Ремонт подтверждён Выйти из таблицы неисправностей

U4A15A06
Показать иллюстрациюПеревод текста в иллюстрациях


ДИАГНОСТИЧЕСКИЙ КОД НЕИСПРАВНОСТИ p1673 НАРУШЕНИЕ ПРИЕМА СООБЩЕНИЯ ПО ШИНЕ can (2,0 л dohc delphi 32 БИТА)

Описание схемы

Контроллер коробки переключения передач представляет собой электронный прибор, контролирующий входы для управления различными функциями коробки передач, включая качество переключения, а также датчики коробки передач, переключатели и рабочие компоненты для использования перечисленного в рамках управляющей программы. Основываясь на поступающей информации контроллер КПП управляет различными функциями и устройствами коробки передач.
Информация передаётся между контроллером КПП и блоком управления двигателя с помощью шины CAN. Информация заключает в себе следующее:

Условия записи диагностического кода неисправности

Действия при занесении кода неисправности

Условия удаления индикации mil/ диагностического кода неисправности

dtc p1673 - Нарушение приема сообщения по шине can (2,0 л dohc delphi 32 БИТА)

ШагОперацияЗначенияДаНет
1
Выполнить проверку системы бортовой диагностики.
Проверка произведена?
-
Перейти к Шагу 2
Перейти к "Проверка систему бортовой диагностики"
2
  1. Выключить зажигание.
  2. Отсоединить соединительный зажим контроллера КПП. и разъем контроллера ЭСУД.
  3. Измерить сопротивление между разъёмами А8 соединительного зажима контроллера КПП и разъёмом К14 соединительного зажима блок управления двигателем.
  4. Измерить сопротивление между разъёмами А16 соединительного зажима контроллера КПП и разъёмом К15 соединительного зажима блок управления двигателем.
Соответствует ли сопротивление указанным пределам?
0Ом
Перейти к Шагу 4
Перейти к Шагу 3
3
При необходимости отремонтировать неисправные разъёмы.
Действие завершено?
-
Система в норме
-
4
  1. Установите зажигание в положение on.
  2. Измерить напряжение разъёма А8.
  3. Измерить напряжение разъёма А16.
Соответствует ли сопротивление указанным пределам?
11-14В
Перейти к Шагу 5
Перейти к Шагу 6
5
При необходимости отремонтировать неисправные разъёмы.
Действие завершено?
-
Система в норме
-
6
  1. Заменить контроллер КПП.
  2. Выключить зажигание.
  3. Установите зажигание в положение on.
  4. Проверить, появляется ли код неисправности Р1673.
  5. Появляется код неисправности?
-
Перейти к Шагу 7
Перейти к Шагу 8
7
  1. Заменить блок управления двигателя.
  2. Действие завершено?
-
Перейти к Шагу 8
-
8
  1. После ремонта следует выполнить функцию "clear info" диагностического прибора и дорожное испытание.
  2. См. ""DTC info"".
  3. Был ли сбой при последнем тесте или на дисплее показывается текущий код неисправности?
-
Начать диагностику заново
Ремонт подтверждён Выйти из таблицы неисправностей

U4A15A07
Показать иллюстрациюПеревод текста в иллюстрациях


ДИАГНОСТИЧЕСКИЙ КОД НЕИСПРАВНОСТИ p0703 НЕИСПРАВНОСТЬ ЦЕПИ ВЫКЛЮЧАТЕЛЯ ТОРМОЗА

Описание схемы

Тормозной переключатель используется для сообщения контроллеру КПП состояния педали тормоза. В нормальном состоянии переключатель разомкнут. При нажатии педаль тормоза приближается к переключателю, благодаря чему на контроллер КПП подаётся напряжение. При отпускании педали подача напряжения прерывается.
Эта ошибка выдается с постоянным флажком статуса на фазе инициализации системы. Затем, если сигнал выключателя стоп-сигнала активен в режиме работы контроллера КПП, то статус неисправности устанавливается неустойчивым. В этом случае неисправность не стирается, но подавляется ключевыми словами.

Условия записи диагностического кода неисправности

Действия при занесении кода неисправности

Условия удаления индикации mil/ диагностического кода неисправности

dtc p0703 - Неисправность цепи выключателя тормоза

ШагОперацияЗначенияДаНет
1
Выполнить проверку системы бортовой диагностики.
Проверка произведена?
-
Перейти к Шагу 2
Перейти к "Проверка систему бортовой диагностики"
2
  1. Установить диагностический прибор.
  2. Включить зажигание при выключенном двигателе.
  3. Записать, затем стареть коды неисправности.
  4. Выбрать выключатель тормоза на диагностическом приборе.
  5. Отсоединить соединитель тормозного переключателя.
  6. Статус выключателя тормоза изменился с "закрытого" на "открытый"?
-
Перейти к Шагу 3
Перейти к Шагу 4
3
  1. Заменить тормозной переключатель.
  2. См. Замена выключателя тормоза.
  3. Действие завершено?
-
Система в норме
-
4
Проверить цепь от выключателя тормоза к контроллеру КПП на короткое замыкание или обрыв.
Была ли обнаружена причина неисправности?
-
Перейти к Шагу 5
Перейти к Шагу 6
5
При необходимости отремонтировать неисправные разъёмы.
Действие завершено?
-
Система в норме
-
6
Заменить контроллер КПП.
Действие завершено?
-
Перейти к Шагу 7
-
7
  1. После ремонта следует выполнить функцию "clear info" диагностического прибора и дорожное испытание.
  2. См. ""DTC info"".
Был ли сбой при последнем тесте или на дисплее показывается текущий код неисправности?
-
Начать диагностику заново
Ремонт подтверждён Выйти из таблицы неисправностей

U5A15A04
Показать иллюстрациюПеревод текста в иллюстрациях


ДИАГНОСТИЧЕСКИЙ КОД НЕИСПРАВНОСТИ p0705 НЕИСПРАВНОСТЬ ЦЕПИ ПЕРЕКЛЮЧАТЕЛЯ ПАРКОВКА/НЕЙТРАЛЬ

Описание схемы

Датчик нейтрали расположен на валу рычага и сообщает контроллеру КПП, в каком положении находится рычаг: P–R–N–D–3–2–1.
Положение рычага переключения передач передаётся контроллеру КПП в кодированной форме по четырём каналам. Подаваемая по соединительному проводу кодировка распознаётся аналогично кодировке неисправностей.
Датчик нейтрали расположен на валу рычага, который соединен с рычагом переключения передач через тяговый трос. Кроме этого, датчик нейтрали контролирует блокировку стартера, индикатор фонаря заднего хода и переключателя передач на панели инструментов.

Условия записи диагностического кода неисправности

Действия при занесении кода неисправности

Условия удаления индикации mil/ диагностического кода неисправности

Рекомендации по диагностике

Схема передач и сигналов диапазона коробки передач.

.
l1
l2
l3
l4
p
0
0
12
0
r
0
0
0
12
n
0
12
0
0
d
12
12
12
0
3
12
12
0
12
2
12
0
12
12
1
0
12
12
12

Код p0705 Неисправность цепи переключателя положения парковка/нейтраль

ШагОперацияЗначенияДаНет
1
Выполнить проверку системы бортовой диагностики.
Проверка произведена?
-
Перейти к Шагу 2
Перейти к "Проверка систему бортовой диагностики"
2
  1. Установить диагностический прибор.
  2. Установите зажигание в положение on.
  3. Записать стареть коды неисправности.
  4. Включить тормоз и включить поочерёдно каждую из передач (p, r,n,d,3,2,1), наблюдая за показаниями диагностического прибора.
См. схему передач и сигналов диапазона коробки передач.
Соответствуют ли показания диагностического прибора, положения каждой передачи и схемы сигналов диапазона коробки передач?
-
Перейти к Шагу 2
Перейти к "Рекомендации по диагностике"
3
Есть замыкание на массу f15?
Была ли обнаружена причина неисправности?
-
Перейти к Шагу 4
Перейти к Шагу 5
4
При необходимости заменить предохранитель.
Действие завершено?
-
Система в норме
-
5
Осмотреть датчик нейтрали. См. Рекомендации по диагностике".
Была ли обнаружена причина неисправности?
-
Перейти к Шагу 6
Перейти к Шагу 7
6
Заменить датчик нейтрали.
Действие завершено?
-
Система в норме
-
7
  1. Отсоединить разъем датчика нейтрали и разъем контроллера КПП.
  2. Измерить сопротивление между клеммой 3 датчика нейтрали и клеммой С1 контроллера КПП.
  3. Измерить сопротивление между клеммой 2 датчика нейтрали и клеммой В15 контроллера КПП.
  4. Измерить сопротивление между клеммой 4 датчика нейтрали и клеммой В6 контроллера КПП.
  5. Измерить сопротивление между клеммой 5 датчика нейтрали и клеммой В11 контроллера КПП.
Соответствует ли сопротивление указанным пределам?
0Ом
Перейти к Шагу 9
Перейти к Шагу 8
8
При необходимости отремонтировать неисправные разъёмы.
Действие завершено?
-
Система в норме
-
9
  1. Установите зажигание в положение on.
  2. Измерить напряжение разъёма 3.
  3. Измерить напряжение разъёма 2.
  4. Измерить напряжение разъёма 4.
  5. Измерить напряжение разъёма 5.
Соответствует ли сопротивление указанным пределам?
11-14В
Перейти к Шагу 10
Перейти к Шагу 11
10
При необходимости отремонтировать неисправные разъёмы.
Действие завершено?
-
Система в норме
-
11
Заменить контроллер КПП.
Действие завершено?
-
Перейти к Шагу 12
-
12
  1. После ремонта следует выполнить функцию "clear info" диагностического прибора и дорожное испытание.
  2. См. ""DTC info"".
Был ли сбой при последнем тесте или на дисплее показывается текущий код неисправности?
-
Начать диагностику заново
Ремонт подтверждён Выйти из таблицы неисправностей



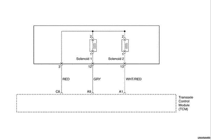
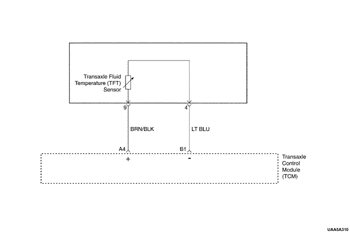
UAA5A310
Показать иллюстрациюПеревод текста в иллюстрациях


ДИАГНОСТИЧЕСКИЙ КОД НЕИСПРАВНОСТИ p0710 НЕИСПРАВНОСТЬ ЦЕПИ ДАТЧИКА ТЕМПЕРАТУРЫ ТРАНСМИССИОННОГО МАСЛА

Описание схемы

Датчик TFT является терморезистором с положительным температурным коэффициентом сопротивления (термочувствительный резистор), обеспечивающим контроллер КПП информацией о температуре жидкости в коробке передач. Датчик температуры расположен в клапанном механизме. Вычисляемая температура является коэффициентом, используемым для определения времени переключения и времени задержки переключения.
Внутреннее электрическое сопротивление датчика варьируется в зависимости от рабочей температуры жидкости коробки передач.
Контроллер КПП посылает датчику температуры импульс напряжением 5 Вольт и измеряет повышение напряжения в электрической цепи. Чем выше температура жидкости, тем выше сопротивление датчика и ниже напряжение его сигнала.
Контроллер КПП измеряет эта напряжение как входной сигнал, помогающий управлять давлением в трубопроводе, моментами переключения и включения блокировочной муфты гидротрансформатора. Когда жидкость коробки передач достигает температуры 120°С (248°F) контроллер КПП переключается в "режим перегрева". Выше этой температуры контроллер КПП изменяет точки переключения передач и переключения блокировочной муфты таким образом, чтобы уменьшить температуру жидкости, сокращая тепловыделение коробки передач.

Условия записи диагностического кода неисправности

Действия при занесении кода неисправности

Условия удаления индикации mil/ диагностического кода неисправности

Рекомендации по диагностике

dtc p0710 - Неисправность цепи датчика температуры трансмиссионной жидкости

ШагОперацияЗначенияДаНет
1
Выполнить проверку системы бортовой диагностики.
Проверка произведена?
-
Перейти к Шагу 2
Перейти к "Проверка систему бортовой диагностики"
2
  1. Установить диагностический прибор.
  2. Включить зажигание при выключенном двигателе.
  3. Записать стареть коды неисправности.
  4. В диагностическом приборе tft.
  5. Проехать на автомобиле и проверить по диагностическому прибору следующее:
  6. Температура tft не меняется более чем на 1,5°(2,7°f) в течение 80 секунд после начала езды.
  7. Температура tft изменяется больше чем на 20°С (36°f) за 0,200 секунд 14 раз в течение 7 секунд (нереальное изменение).
Имеет ли место какое-либо из описанных выше условий?
-
Перейти к Шагу 3
Перейти к "Рекомендации по диагностике"
3
  1. Повернуть ключ зажигания в положение "LOCK" (блокировки).
  2. Отсоединить соединительный зажим коробки передач.
  3. Измерить сопротивление между разъёмами 5 и 11 соединительного зажима коробки передач.
Соответствует ли сопротивление указанным пределам?
tft 25°c 990Ом
Перейти к Шагу 7
Перейти к Шагу 4
4
  1. Снять масляный поддон.
  2. Отсоединить соединительный зажим датчика температуры коробки передач.
  3. Проверить жгут проводов автоматической коробки передач на наличие прерывистого замыкания или разрыва.
Была ли обнаружена причина неисправности?
-
Перейти к Шагу 5
Перейти к Шагу 6
5
Заменить жгут проводов автоматической коробки передач.
Замена завершена?
-
Система в норме
-
6
Заменить датчик tft.
Замена завершена?
-
Система в норме
-
7
  1. Отсоединить соединительный зажим автоматической коробки передач и соединительный зажим контроллера КПП.
  2. Измерить сопротивление между разъёмом 4 соединительного зажима коробки передач и разъёмом В1 соединительного зажима контроллера КПП.
  3. Измерить сопротивление между разъёмом 9 соединительного зажима коробки передач и разъёмом А4 соединительного зажима контроллера КПП.
Соответствует ли сопротивление указанным пределам?
0Ом
Перейти к Шагу 9
Перейти к Шагу 8
8
  1. Проверить жгут проводов автоматической коробки передач на наличие прерывистого заземления или разрыва.
  2. Проверить жгут проводов датчика tft на наличие прерывистого заземления или разрыва.
  3. При необходимости исправить состояние электрической цепи.
Ремонт закончен?
-
Система в норме
-
9
  1. Установите зажигание в положение on.
  2. Измерить напряжение разъёма А4 соединительного зажима коробки передач.
  3. Измерить напряжение разъёма В1 соединительного зажима коробки передач.
Соответствует ли сопротивление указанным пределам?
9-16 В
Перейти к Шагу 10
Перейти к Шагу 11
10
  1. Проверить жгут проводов автоматической коробки передач на наличие прерывистого замыкания на питание.
  2. Проверить жгут проводов датчика tft на наличие прерывистого замыкания на питание.
  3. При необходимости исправить состояние электрической цепи.
Ремонт закончен?
-
Система в норме
-
11
Заменить контроллер КПП.
Замена завершена?
-
-
Перейти к Шагу 12
12
  1. После ремонта следует выполнить функцию "clear info" диагностического прибора и дорожное испытание.
  2. См. ""DTC info"".
Был ли сбой при последнем тесте или на дисплее показывается текущий код неисправности?
-
Начать диагностику заново
Ремонт подтверждён Выйти из таблицы неисправностей



U5A15A05
Показать иллюстрациюПеревод текста в иллюстрациях


ДИАГНОСТИЧЕСКИЙ КОД НЕИСПРАВНОСТИ p0715 НЕИСПРАВНОСТЬ ЦЕПИ ДАТЧИКА ВХОДНОЙ ЧАСТОТЫ ВРАЩЕНИЯ (iss)

Описание схемы

Информация о входной частоте вращения коробки передач поступает к контроллеру КПП. Контроллер использует получаемую информацию для управления давлением в трубопроводе, включения и включения блокирующей муфты гидротрансформатора, а также схемы переключения передач. Данная информация также используется для вычисления соответствующего передаточного отношения и проскальзывания блокирующей муфты гидротрансформатора.
Датчик скорости первичного вала крепится на поршне В, расположенном внутри клапанного механизма.
Зазор величиной 1,8~2,2 мм (0,07~0,086 дюйма) сохраняется между датчиком и поршнем В.
Датчик состоит из постоянного магнита, окруженного проволочной катушкой. Движение поршня B, приводимого от вала турбины, генерирует в датчике скорости первичного вала КПП сигнал переменного тока. Высокая частота вращения способствует измерению датчиком высокой частоты и напряжения.
Сопротивление датчика должно быть в пределах 825~835 ом при температуре 20 °С (68°F). Измерения датчика могут быть между 1000~8000 Гц.

Условия записи диагностического кода неисправности

Действия при занесении кода неисправности

Условия удаления индикации mil/ диагностического кода неисправности

Рекомендации по диагностике

dtc p0715 - Неисправность цепи датчика входной частоты вращения (iss)

ШагОперацияЗначенияДаНет
1
Выполнить проверку системы бортовой диагностики.
Проверка произведена?
-
Перейти к Шагу 2
Перейти к "Проверка систему бортовой диагностики"
2
  1. Установить диагностический прибор.
  2. Включить зажигание (при 3100 мин-1).
  3. Просмотреть скорость турбины на диагностическом приборе.
Соответствует ли частота вращения указанным пределам?
Ускорение частоты вращения коленчатого вала 0-7000 мин-1: менее 25000 мин-1/сек
Перейти к "Рекомендации по диагностике"
Перейти к Шагу 3
3
  1. Повернуть ключ зажигания в положение "LOCK" (блокировки).
  2. Отсоединить соединительный зажим коробки передач.
  3. Измерить сопротивление между разъёмами 15 и 16 соединительного зажима коробки передач.
Соответствует ли сопротивление указанным пределам?
830±5Ом
Перейти к Шагу 9
Перейти к Шагу 4
4
  1. Снять масляный поддон.
  2. Отсоединить соединительный зажим датчика входной частоты вращения.
  3. Измерить сопротивление между разъёмом 1 соединительного зажима датчика входной частоты вращения и разъёмом 15 соединительного зажима контроллера КПП.
  4. Измерить сопротивление между разъёмом 2 соединительного зажима датчика входной частоты вращения и разъёмом 16 соединительного зажима контроллера КПП.
Соответствует ли сопротивление указанным пределам?
0Ом
Перейти к Шагу 6
Перейти к Шагу 5
5
При необходимости отремонтировать неисправные разъёмы.
Действие завершено?
-
Система в норме
-
6
  1. Установите зажигание в положение on.
  2. Измерить напряжение разъёма 1.
  3. Измерить напряжение разъёма 2.
Соответствует ли сопротивление указанным пределам?
11-14В
Перейти к Шагу 7
Перейти к Шагу 8
7
При необходимости отремонтировать неисправные разъёмы.
Действие завершено?
-
Система в норме
-
8
Заменить датчик входной частоты вращения.
Действие завершено?
-
Система в норме
-
9
  1. Отсоединить соединительный зажим коробки переключения передачи соединитель контроллера КПП.
  2. Измерить сопротивление между разъёмом 15 соединительного зажима коробки передач и разъёмом В4 соединительного зажима контроллера КПП.
  3. Измерить сопротивление между разъёмом 16 соединительного зажима коробки передач и разъёмом В7 соединительного зажима контроллера КПП.
Соответствует ли сопротивление указанным пределам?
0Ом
Перейти к Шагу 11
Перейти к Шагу 10
10
При необходимости отремонтировать неисправные разъёмы.
Действие завершено?
-
Система в норме
-
11
  1. Установите зажигание в положение on.
  2. Измерить напряжение разъёма 15.
  3. Измерить напряжение разъёма 16.
Соответствует ли сопротивление указанным пределам?
11-14В
Перейти к Шагу 12
Перейти к Шагу 13
12
При необходимости отремонтировать неисправные разъёмы.
Действие завершено?
-
Система в норме
-
13
Заменить контроллер КПП.
Действие завершено?
-
Перейти к Шагу 14
-
14
  1. После ремонта следует выполнить функцию "clear info" диагностического прибора и дорожное испытание.
  2. См. ""DTC info"".
Был ли сбой при последнем тесте или на дисплее показывается текущий код неисправности?
-
Начать диагностику заново
Ремонт подтверждён Выйти из таблицы неисправностей



U5A15A05
Показать иллюстрациюПеревод текста в иллюстрациях


ДИАГНОСТИЧЕСКИЙ КОД НЕИСПРАВНОСТИ p0716 ЦЕПЬ ДАТЧИКА ВХОДНОЙ ЧАСТОТЫ ВРАЩЕНИЯ (iss), ВЫХОД ЗА ПРЕДЕЛЫ ДИАПАЗОНА/РАБОЧИХ ХАРАКТЕРИСТИК

Описание схемы

Информация о входной частоте вращения коробки передач поступает к контроллеру КПП. Контроллер использует получаемую информацию для управления давлением в трубопроводе, включения и включения блокирующей муфты гидротрансформатора, а также схемы переключения передач. Данная информация также используется для вычисления соответствующего передаточного отношения и проскальзывания блокирующей муфты гидротрансформатора.
Датчик скорости первичного вала крепится на поршне В, расположенном внутри клапанного механизма.
Зазор величиной 1,8~2,2 мм (0,07~0,086 дюйма) сохраняется между датчиком и поршнем В.
Датчик состоит из постоянного магнита, окруженного проволочной катушкой. Движение поршня B, приводимого от вала турбины, генерирует в датчике скорости первичного вала КПП сигнал переменного тока. Высокая частота вращения способствует измерению датчиком высокой частоты и напряжения.
Сопротивление датчика должно быть в пределах 825~835 ом при температуре 20 °С (68°F). Измерения датчика могут быть между 1000~8000 Гц.

Условия записи диагностического кода неисправности

Действия при занесении кода неисправности

Условия удаления индикации mil/ диагностического кода неисправности

Рекомендации по диагностике

dtc p0716 - Цепь датчика входной частоты вращения (iss), выход за пределы диапазона/рабочих характеристик

ШагОперацияЗначенияДаНет
1
Выполнить проверку системы бортовой диагностики.
Проверка произведена?
-
Перейти к Шагу 2
Перейти к "Проверка систему бортовой диагностики"
2
  1. Установить диагностический прибор.
  2. Включить зажигание (при 3100 мин-1).
  3. Просмотреть скорость турбины на диагностическом приборе.
Соответствует ли частота вращения указанным пределам?
Ускорение частоты вращения коленчатого вала 0-7000 мин-1: менее 25000 мин-1/сек
Перейти к "Рекомендации по диагностике"
Перейти к Шагу 3
3
  1. Повернуть ключ зажигания в положение "LOCK" (блокировки).
  2. Отсоединить соединительный зажим коробки передач.
  3. Измерить сопротивление между разъёмами 15 и 16 соединительного зажима коробки передач.
Соответствует ли сопротивление указанным пределам?
830±5Ом
Перейти к Шагу 9
Перейти к Шагу 4
4
  1. Снять масляный поддон.
  2. Отсоединить соединительный зажим датчика входной частоты вращения.
  3. Измерить сопротивление между разъёмом 1 соединительного зажима датчика входной частоты вращения и разъёмом 15 соединительного зажима контроллера КПП.
  4. Измерить сопротивление между разъёмом 2 соединительного зажима датчика входной частоты вращения и разъёмом 16 соединительного зажима контроллера КПП.
Соответствует ли сопротивление указанным пределам?
0Ом
Перейти к Шагу 6
Перейти к Шагу 5
5
При необходимости отремонтировать неисправные разъёмы.
Действие завершено?
-
Система в норме
-
6
  1. Установите зажигание в положение on.
  2. Измерить напряжение разъёма 1.
  3. Измерить напряжение разъёма 2.
Соответствует ли сопротивление указанным пределам?
11-14В
Перейти к Шагу 7
Перейти к Шагу 8
7
При необходимости отремонтировать неисправные разъёмы.
Действие завершено?
-
Система в норме
-
8
Заменить датчик входной частоты вращения.
Действие завершено?
-
Система в норме
-
9
  1. Отсоединить соединительный зажим коробки переключения передачи соединитель контроллера КПП.
  2. Измерить сопротивление между разъёмом 15 соединительного зажима коробки передач и разъёмом В4 соединительного зажима контроллера КПП.
  3. Измерить сопротивление между разъёмом 16 соединительного зажима коробки передач и разъёмом В7 соединительного зажима контроллера КПП.
Соответствует ли сопротивление указанным пределам?
0Ом
Перейти к Шагу 11
Перейти к Шагу 10
10
При необходимости отремонтировать неисправные разъёмы.
Действие завершено?
-
Система в норме
-
11
  1. Установите зажигание в положение on.
  2. Измерить напряжение разъёма 15.
  3. Измерить напряжение разъёма 16.
Соответствует ли сопротивление указанным пределам?
11-14В
Перейти к Шагу 12
Перейти к Шагу 13
12
При необходимости отремонтировать неисправные разъёмы.
Действие завершено?
-
Система в норме
-
13
Заменить контроллер КПП.
Действие завершено?
-
Перейти к Шагу 14
-
14
  1. После ремонта следует выполнить функцию "clear info" диагностического прибора и дорожное испытание.
  2. См. ""DTC info"".
Был ли сбой при последнем тесте или на дисплее показывается текущий код неисправности?
-
Начать диагностику заново
Ремонт подтверждён Выйти из таблицы неисправностей



U5A15A05
Показать иллюстрациюПеревод текста в иллюстрациях


ДИАГНОСТИЧЕСКИЙ КОД НЕИСПРАВНОСТИ p0717 ОТСУТСТВУЕТ СИГНАЛ В ЦЕПИ ДАТЧИКА ВХОДНОЙ ЧАСТОТЫ ВРАЩЕНИЯ (iss)

Описание схемы

Информация о входной частоте вращения коробки передач поступает к контроллеру КПП. Контроллер использует получаемую информацию для управления давлением в трубопроводе, включения и включения блокирующей муфты гидротрансформатора, а также схемы переключения передач. Данная информация также используется для вычисления соответствующего передаточного отношения и проскальзывания блокирующей муфты гидротрансформатора.
Датчик скорости первичного вала крепится на поршне В, расположенном внутри клапанного механизма.
Зазор величиной 1,8~2,2 мм (0,07~0,086 дюйма) сохраняется между датчиком и поршнем В.
Датчик состоит из постоянного магнита, окруженного проволочной катушкой. Движение поршня B, приводимого от вала турбины, генерирует в датчике скорости первичного вала КПП сигнал переменного тока. Высокая частота вращения способствует измерению датчиком высокой частоты и напряжения.
Сопротивление датчика должно быть в пределах 825~835 ом при температуре 20 °С (68°F). Измерения датчика могут быть между 1000~8000 Гц.

Условия записи диагностического кода неисправности

Действия при занесении кода неисправности

Условия удаления индикации mil/ диагностического кода неисправности

Рекомендации по диагностике

tc p0717 - Отсутствует сигнал цепи датчика входной частоты вращения (iss)

ШагОперацияЗначенияДаНет
1
Выполнить проверку системы бортовой диагностики.
Проверка произведена?
-
Перейти к Шагу 2
Перейти к "Проверка систему бортовой диагностики"
2
  1. Установить диагностический прибор.
  2. Включить зажигание (при 3100 мин-1).
  3. Просмотреть скорость турбины на диагностическом приборе.
Соответствует ли частота вращения указанным пределам?
Ускорение частоты вращения коленчатого вала 0-7000 мин-1: менее 25000 мин-1/сек
Перейти к "Рекомендации по диагностике"
Перейти к Шагу 3
3
  1. Повернуть ключ зажигания в положение "LOCK" (блокировки).
  2. Отсоединить соединительный зажим коробки передач.
  3. Измерить сопротивление между разъёмами 15 и 16 соединительного зажима коробки передач.
Соответствует ли сопротивление указанным пределам?
830±5Ом
Перейти к Шагу 9
Перейти к Шагу 4
4
  1. Снять масляный поддон.
  2. Отсоединить соединительный зажим датчика входной частоты вращения.
  3. Измерить сопротивление между разъёмом 1 соединительного зажима датчика входной частоты вращения и разъёмом 15 соединительного зажима контроллера КПП.
  4. Измерить сопротивление между разъёмом 2 соединительного зажима датчика входной частоты вращения и разъёмом 16 соединительного зажима контроллера КПП.
Соответствует ли сопротивление указанным пределам?
0Ом
Перейти к Шагу 6
Перейти к Шагу 5
5
При необходимости отремонтировать неисправные разъёмы.
Действие завершено?
-
Система в норме
-
6
  1. Установите зажигание в положение on.
  2. Измерить напряжение разъёма 1.
  3. Измерить напряжение разъёма 2.
Соответствует ли сопротивление указанным пределам?
11-14В
Перейти к Шагу 7
Перейти к Шагу 8
7
При необходимости отремонтировать неисправные разъёмы.
Действие завершено?
-
Система в норме
-
8
Заменить датчик входной частоты вращения.
Действие завершено?
-
Система в норме
-
9
  1. Отсоединить соединительный зажим коробки переключения передачи соединитель контроллера КПП.
  2. Измерить сопротивление между разъёмом 15 соединительного зажима коробки передач и разъёмом В4 соединительного зажима контроллера КПП.
  3. Измерить сопротивление между разъёмом 16 соединительного зажима коробки передач и разъёмом В7 соединительного зажима контроллера КПП.
Соответствует ли сопротивление указанным пределам?
0Ом
Перейти к Шагу 11
Перейти к Шагу 10
10
При необходимости отремонтировать неисправные разъёмы.
Действие завершено?
-
Система в норме
-
11
  1. Установите зажигание в положение on.
  2. Измерить напряжение разъёма 15.
  3. Измерить напряжение разъёма 16.
Соответствует ли сопротивление указанным пределам?
11-14В
Перейти к Шагу 12
Перейти к Шагу 13
12
При необходимости отремонтировать неисправные разъёмы.
Действие завершено?
-
Система в норме
-
13
Заменить контроллер КПП.
Действие завершено?
-
Перейти к Шагу 14
-
14
  1. После ремонта следует выполнить функцию "clear info" диагностического прибора и дорожное испытание.
  2. См. ""DTC info"".
Был ли сбой при последнем тесте или на дисплее показывается текущий код неисправности?
-
Начать диагностику заново
Ремонт подтверждён Выйти из таблицы неисправностей



U4A15A10
Показать иллюстрациюПеревод текста в иллюстрациях


ДИАГНОСТИЧЕСКИЙ КОД НЕИСПРАВНОСТИ p0720 НЕИСПРАВНОСТЬ ДАТЧИКА ВЫХОДНОЙ ЧАСТОТЫ ВРАЩЕНИЯ (Оss)

Описание схемы

Датчик выходной частоты вращения на автомобилях с автоматической коробкой передач представляет собой магнитно-индукционный чувствительный элемент, подающий контроллеру КПП информацию о частоте вращения коленчатого вала.
Контроллер использует полученные данные для своевременного переключения передач, изменения давления в линиях гидропривода и включения/выключения блокировочной муфты.
Выходной датчик частоты вращения коленчатого вала монтируется на корпусе ведущего колеса датчика частоты вращения, надетого на прямозубое цилиндрическое зубчатое колесо. Между датчиком и зубьями прямозубого цилиндрического зубчатого колеса сохраняется зазор величиной 0,1~1,3 мм (0,004~0,05 дюйма). Датчик состоит из постоянного магнита, окруженного проволочной катушкой. При вращении дифференциала импульс переменного тока инициирует процесс измерения датчиком частоты и напряжения. Сопротивление датчика должно быть в пределах ∞ом при температуре 20 °С (68°F). Измерения датчика могут быть между 20~8000 Гц.

Условия записи диагностического кода неисправности

Действия при занесении кода неисправности

Условия удаления индикации mil/ диагностического кода неисправности

Рекомендации по диагностике

dtc p0720 - Неисправность цепи датчика выходной частоты вращения (oss)

ШагОперацияЗначенияДаНет
1
Выполнить проверку системы бортовой диагностики.
Проверка произведена?
-
Перейти к Шагу 2
Перейти к "Проверка систему бортовой диагностики"
2
  1. Установить диагностический прибор.
  2. Включить зажигание (при 3100 мин-1).
  3. Просмотреть скорость турбины на диагностическом приборе.
Соответствует ли частота вращения указанным пределам?
Ускорение частоты вращения коленчатого вала 190-9762 мин-1: менее 10000 мин-1/сек
Перейти к "Рекомендации по диагностике"
Перейти к Шагу 3
3
  1. Повернуть ключ зажигания в положение "LOCK" (блокировки).
  2. Отсоединить соединительный зажим коробки передач.
  3. Измерить сопротивление между разъёмами 1 и 2 соединительного зажима коробки передач.
Соответствует ли сопротивление указанным пределам?
Перейти к Шагу 9
Перейти к Шагу 4
4
  1. Снять масляный поддон.
  2. Отсоединить соединительный зажим датчика выходной частоты вращения.
  3. Измерить сопротивление между разъёмом 1 соединительного зажима датчика выходной частоты вращения и разъёмом 1 соединительного зажима контроллера КПП.
  4. Измерить сопротивление между разъёмом 2 соединительного зажима датчика входной частоты вращения и разъёмом 2 соединительного зажима контроллера КПП.
Соответствует ли сопротивление указанным пределам?
0Ом
Перейти к Шагу 6
Перейти к Шагу 5
5
При необходимости отремонтировать неисправные разъёмы.
Действие завершено?
-
Система в норме
-
6
  1. Установите зажигание в положение on.
  2. Измерить напряжение разъёма 1.
  3. Измерить напряжение разъёма 2.
Соответствует ли сопротивление указанным пределам?
11-14В
Перейти к Шагу 7
Перейти к Шагу 8
7
При необходимости отремонтировать неисправные разъёмы.
Действие завершено?
-
Система в норме
-
8
Заменить датчик входной частоты вращения.
Действие завершено?
-
Система в норме
-
9
  1. Отсоединить соединительный зажим коробки переключения передачи соединитель контроллера КПП.
  2. Измерить сопротивление между разъёмом 1 соединительного зажима коробки передач и разъёмом В10 соединительного зажима контроллера КПП.
  3. Измерить сопротивление между разъёмом 2 соединительного зажима коробки передач и разъёмом В5 соединительного зажима контроллера КПП.
Соответствует ли сопротивление указанным пределам?
0Ом
Перейти к Шагу 11
Перейти к Шагу 10
10
При необходимости отремонтировать неисправные разъёмы.
Действие завершено?
-
Система в норме
-
11
  1. Установите зажигание в положение on.
  2. Измерить напряжение разъёма 1.
  3. Измерить напряжение разъёма 2.
Соответствует ли сопротивление указанным пределам?
11-14В
Перейти к Шагу 12
Перейти к Шагу 13
12
При необходимости отремонтировать неисправные разъёмы.
Действие завершено?
-
Система в норме
-
13
Заменить контроллер КПП.
Действие завершено?
-
Перейти к Шагу 14
-
14
  1. После ремонта следует выполнить функцию "clear info" диагностического прибора и дорожное испытание.
  2. См. ""DTC info"".
Был ли сбой при последнем тесте или на дисплее показывается текущий код неисправности?
-
Начать диагностику заново
Ремонт подтверждён Выйти из таблицы неисправностей



U4A15A10
Показать иллюстрациюПеревод текста в иллюстрациях


ДИАГНОСТИЧЕСКИЙ КОД НЕИСПРАВНОСТИ p0721 ЦЕПЬ ДАТЧИКА ВЫХОДНОЙ ЧАСТОТЫ ВРАЩЕНИЯ (Оss), ВЫХОД ЗА ПРЕДЕЛЫ ДИАПАЗОНА/РАБОЧИХ ХАРАКТЕРИСТИК

Описание схемы

Датчик выходной частоты вращения на автомобилях с автоматической коробкой передач представляет собой магнитно-индукционный чувствительный элемент, подающий контроллеру КПП информацию о частоте вращения коленчатого вала.
Контроллер использует полученные данные для своевременного переключения передач, изменения давления в линиях гидропривода и включения/выключения блокировочной муфты.
Выходной датчик частоты вращения коленчатого вала монтируется на корпусе ведущего колеса датчика частоты вращения, надетого на прямозубое цилиндрическое зубчатое колесо. Между датчиком и зубьями прямозубого цилиндрического зубчатого колеса сохраняется зазор величиной 0,1~1,3 мм (0,004~0,05 дюйма). Датчик состоит из постоянного магнита, окруженного проволочной катушкой. При вращении дифференциала импульс переменного тока инициирует процесс измерения датчиком частоты и напряжения. Сопротивление датчика должно быть в пределах ∞ом при температуре 20 °С (68°F). Измерения датчика могут быть между 20~8000 Гц.

Условия записи диагностического кода неисправности

Действия при занесении кода неисправности

Условия удаления индикации mil/ диагностического кода неисправности

Рекомендации по диагностике

dtc p0721 - Цепь датчика выходной частоты вращения (oss), выход за пределы диапазона/рабочих характеристик

ШагОперацияЗначенияДаНет
1
Выполнить проверку системы бортовой диагностики.
Проверка произведена?
-
Перейти к Шагу 2
Перейти к "Проверка систему бортовой диагностики"
2
  1. Установить диагностический прибор.
  2. Включить зажигание (при 3100 мин-1).
  3. Просмотреть скорость турбины на диагностическом приборе.
Соответствует ли частота вращения указанным пределам?
Ускорение частоты вращения коленчатого вала 190-9762 мин-1: менее 45000 мин-1/сек
Перейти к "Рекомендации по диагностике"
Перейти к Шагу 3
3
  1. Повернуть ключ зажигания в положение "LOCK" (блокировки).
  2. Отсоединить соединительный зажим коробки передач.
  3. Измерить сопротивление между разъёмами 1 и 2 соединительного зажима коробки передач.
Соответствует ли сопротивление указанным пределам?
Перейти к Шагу 9
Перейти к Шагу 4
4
  1. Снять масляный поддон.
  2. Отсоединить соединительный зажим датчика выходной частоты вращения.
  3. Измерить сопротивление между разъёмом 1 соединительного зажима датчика выходной частоты вращения и разъёмом 1 соединительного зажима контроллера КПП.
  4. Измерить сопротивление между разъёмом 2 соединительного зажима датчика входной частоты вращения и разъёмом 2 соединительного зажима контроллера КПП.
Соответствует ли сопротивление указанным пределам?
0Ом
Перейти к Шагу 6
Перейти к Шагу 5
5
При необходимости отремонтировать неисправные разъёмы.
Действие завершено?
-
Система в норме
-
6
  1. Установите зажигание в положение on.
  2. Измерить напряжение разъёма 1.
  3. Измерить напряжение разъёма 2.
Соответствует ли сопротивление указанным пределам?
11-14В
Перейти к Шагу 7
Перейти к Шагу 8
7
При необходимости отремонтировать неисправные разъёмы.
Действие завершено?
-
Система в норме
-
8
Заменить датчик входной частоты вращения.
Действие завершено?
-
Система в норме
-
9
  1. Отсоединить соединительный зажим коробки переключения передачи соединитель контроллера КПП.
  2. Измерить сопротивление между разъёмом 1 соединительного зажима коробки передач и разъёмом В10 соединительного зажима контроллера КПП.
  3. Измерить сопротивление между разъёмом 2 соединительного зажима коробки передач и разъёмом В5 соединительного зажима контроллера КПП.
Соответствует ли сопротивление указанным пределам?
0Ом
Перейти к Шагу 11
Перейти к Шагу 10
10
При необходимости отремонтировать неисправные разъёмы.
Действие завершено?
-
Система в норме
-
11
  1. Установите зажигание в положение on.
  2. Измерить напряжение разъёма 1.
  3. Измерить напряжение разъёма 2.
Соответствует ли сопротивление указанным пределам?
11-14В
Перейти к Шагу 12
Перейти к Шагу 13
12
При необходимости отремонтировать неисправные разъёмы.
Действие завершено?
-
Система в норме
-
13
Заменить контроллер КПП.
Действие завершено?
-
Перейти к Шагу 14
-
14
  1. После ремонта следует выполнить функцию "clear info" диагностического прибора и дорожное испытание.
  2. См. ""DTC info"".
Был ли сбой при последнем тесте или на дисплее показывается текущий код неисправности?
-
Начать диагностику заново
Ремонт подтверждён Выйти из таблицы неисправностей



U4A15A10
Показать иллюстрациюПеревод текста в иллюстрациях


ДИАГНОСТИЧЕСКИЙ КОД НЕИСПРАВНОСТИ p0722 ОТСУТСТВУЕТ СИГНАЛ В ЦЕПИ ДАТЧИКА ВЫХОДНОЙ ЧАСТОТЫ ВРАЩЕНИЯ (Оss)

Описание схемы

Датчик выходной частоты вращения на автомобилях с автоматической коробкой передач представляет собой магнитно-индукционный чувствительный элемент, подающий контроллеру КПП информацию о частоте вращения коленчатого вала.
Контроллер использует полученные данные для своевременного переключения передач, изменения давления в линиях гидропривода и включения/выключения блокировочной муфты.
Выходной датчик частоты вращения коленчатого вала монтируется на корпусе ведущего колеса датчика частоты вращения, надетого на прямозубое цилиндрическое зубчатое колесо. Между датчиком и зубьями прямозубого цилиндрического зубчатого колеса сохраняется зазор величиной 0,1~1,3 мм (0,004~0,05 дюйма). Датчик состоит из постоянного магнита, окруженного проволочной катушкой. При вращении дифференциала импульс переменного тока инициирует процесс измерения датчиком частоты и напряжения. Сопротивление датчика должно быть в пределах ? при температуре 20 °С (68°F). Измерения датчика могут быть между 20~8000 Гц.

Условия записи диагностического кода неисправности

Действия при занесении кода неисправности

Условия удаления индикации mil/ диагностического кода неисправности

Рекомендации по диагностике

dtc p0722 - Отсутствует сигнал цепи датчика выходной частоты вращения (oss)

ШагОперацияЗначенияДаНет
1
Выполнить проверку системы бортовой диагностики.
Проверка произведена?
-
Перейти к Шагу 2
Перейти к "Проверка систему бортовой диагностики"
2
  1. Установить диагностический прибор.
  2. Включить зажигание (при 3100 мин-1).
  3. Просмотреть скорость турбины на диагностическом приборе.
Соответствует ли частота вращения указанным пределам?
Ускорение частоты вращения коленчатого вала 190-8160 мин-1: менее 10000 мин-1/сек
Перейти к "Рекомендации по диагностике"
Перейти к Шагу 3
3
  1. Повернуть ключ зажигания в положение "LOCK" (блокировки).
  2. Отсоединить соединительный зажим коробки передач.
  3. Измерить сопротивление между разъёмами 1 и 2 соединительного зажима коробки передач.
Соответствует ли сопротивление указанным пределам?
Перейти к Шагу 9
Перейти к Шагу 4
4
  1. Снять масляный поддон.
  2. Отсоединить соединительный зажим датчика выходной частоты вращения.
  3. Измерить сопротивление между разъёмом 1 соединительного зажима датчика выходной частоты вращения и разъёмом 1 соединительного зажима контроллера КПП.
  4. Измерить сопротивление между разъёмом 2 соединительного зажима датчика входной частоты вращения и разъёмом 2 соединительного зажима контроллера КПП.
Соответствует ли сопротивление указанным пределам?
0Ом
Перейти к Шагу 6
Перейти к Шагу 5
5
При необходимости отремонтировать неисправные разъёмы.
Действие завершено?
-
Система в норме
-
6
  1. Установите зажигание в положение on.
  2. Измерить напряжение разъёма 1.
  3. Измерить напряжение разъёма 2.
Соответствует ли сопротивление указанным пределам?
11-14В
Перейти к Шагу 7
Перейти к Шагу 8
7
При необходимости отремонтировать неисправные разъёмы.
Действие завершено?
-
Система в норме
-
8
Заменить датчик входной частоты вращения.
Действие завершено?
-
Система в норме
-
9
  1. Отсоединить соединительный зажим коробки переключения передачи соединитель контроллера КПП.
  2. Измерить сопротивление между разъёмом 1 соединительного зажима коробки передач и разъёмом В10 соединительного зажима контроллера КПП.
  3. Измерить сопротивление между разъёмом 2 соединительного зажима коробки передач и разъёмом В5 соединительного зажима контроллера КПП.
Соответствует ли сопротивление указанным пределам?
0Ом
Перейти к Шагу 11
Перейти к Шагу 10
10
При необходимости отремонтировать неисправные разъёмы.
Действие завершено?
-
Система в норме
-
11
  1. Установите зажигание в положение on.
  2. Измерить напряжение разъёма 1.
  3. Измерить напряжение разъёма 2.
Соответствует ли сопротивление указанным пределам?
11-14В
Перейти к Шагу 12
Перейти к Шагу 13
12
При необходимости отремонтировать неисправные разъёмы.
Действие завершено?
-
Система в норме
-
13
Заменить контроллер КПП.
Действие завершено?
-
Перейти к Шагу 14
-
14
  1. После ремонта следует выполнить функцию "clear info" диагностического прибора и дорожное испытание.
  2. См. ""DTC info"".
Был ли сбой при последнем тесте или на дисплее показывается текущий код неисправности?
-
Начать диагностику заново
Ремонт подтверждён Выйти из таблицы неисправностей



U4A15A06
Показать иллюстрациюПеревод текста в иллюстрациях


ДИАГНОСТИЧЕСКИЙ КОД НЕИСПРАВНОСТИ p0725 НЕИСПРАВНОСТЬ ВХОДНОЙ ЦЕПИ ЧАСТОТЫ ВРАЩЕНИЯ (ТИП can) (2,0 л dohc delphi 32 БИТА)

Описание схемы

Контроллер коробки переключения передач представляет собой электронный прибор, контролирующий входы для управления различными функциями коробки передач, включая качество переключения, а также датчики коробки передач, переключатели и рабочие компоненты для использования перечисленного в рамках управляющей программы. Основываясь на поступающей информации контроллер КПП управляет различными функциями и устройствами коробки передач.
DTC P0726 и P0727 являются аналогичными диагностическими кодами неисправности. Таким образом, при появлении этих DTC, считать их одним. А при обнаружении Р0725 контрольная лампа индикации неисправности гореть не будет.
Информация передаётся между контроллером КПП и блоком управления двигателя с помощью шины CAN. Информация заключает в себе следующее:

Условия записи диагностического кода неисправности

Действия при занесении кода неисправности

Условия удаления индикации mil/ диагностического кода неисправности

Рекомендации по диагностике

dtc p0725 - Неисправность входной цепи частоты вращения (ТИП can) (2,0 л dohc delphi 32 БИТА)

ШагОперацияЗначенияДаНет
1
Выполнить проверку системы бортовой диагностики.
Проверка произведена?
-
Перейти к Шагу 2
Перейти к "Проверка систему бортовой диагностики"
2
  1. Установить диагностический прибор.
  2. Включить зажигание, записать, а затем удалить код(ы) неисправности (~ей) и выключить зажигание.
  3. Проверить выходную частоту вращения на диагностическом приборе.
Соответствует ли частота вращения указанным пределам?
Частота вращения коленчатого вала 0-7000 мин-1
Перейти к "Рекомендации по диагностике"
Перейти к Шагу 3
3
  1. Выключить зажигание.
  2. Отсоединить соединительный зажим контроллера КПП и соединительного зажима блока управления двигателем.
  3. Измерить сопротивление между разъёмами А8 соединительного зажима контроллера КПП и разъёмом К14 соединительного зажима блок управления двигателем.
  4. Измерить сопротивление между разъёмами А16 соединительного зажима контроллера КПП и разъёмом К15 соединительного зажима блок управления двигателем.
Соответствует ли сопротивление указанным пределам?
0Ом
Перейти к Шагу 5
Перейти к Шагу 4
4
При необходимости отремонтировать неисправные разъёмы.
Действие завершено?
-
Система в норме
-
5
  1. Установите зажигание в положение on.
  2. Измерить напряжение разъёма А8.
  3. Измерить напряжение разъёма А16.
Соответствует ли сопротивление указанным пределам?
11-14В
Перейти к Шагу 6
Перейти к Шагу 7
6
Устранить замыкание на питание.
Действие завершено?
-
Система в норме
-
7
Проверить "Частоту вращения коленчатого вала". См. Диагностическая информация о двигателе и процедуры.
Была ли обнаружена причина неисправности?
-
См. Раздел 1F, "Диагностическая информация о двигателе и процедуры.".
Перейти к Шагу 8
8
  1. Заменить контроллер КПП.
  2. Выключить зажигание.
  3. Установите зажигание в положение on.
  4. Проверить, появляется ли код неисправности Р0725.
  5. Появляется код неисправности?
-
Перейти к Шагу 9
Перейти к Шагу 10
9
Заменить блок управления двигателя.
Действие завершено?
-
Перейти к Шагу 10
-
10
  1. После ремонта следует выполнить функцию "clear info" диагностического прибора и дорожное испытание.
  2. См. ""DTC info"".
Был ли сбой при последнем тесте или на дисплее показывается текущий код неисправности?
-
Начать диагностику заново
Ремонт подтверждён Выйти из таблицы неисправностей

U4A15A06
Показать иллюстрациюПеревод текста в иллюстрациях


ДИАГНОСТИЧЕСКИЙ КОД НЕИСПРАВНОСТИ p0726 ЦЕПЬ ДАТЧИКА ВХОДНОЙ ЧАСТОТЫ ВРАЩЕНИЯ (iss), ВЫХОД ЗА ПРЕДЕЛЫ ДИАПАЗОНА/РАБОЧИХ ХАРАКТЕРИСТИК (ТИП can) (2,0 л dohc delphi 32 БИТА)

Описание схемы

Контроллер коробки переключения передач представляет собой электронный прибор, контролирующий входы для управления различными функциями коробки передач, включая качество переключения, а также датчики коробки передач, переключатели и рабочие компоненты для использования перечисленного в рамках управляющей программы. Основываясь на поступающей информации контроллер КПП управляет различными функциями и устройствами коробки передач.
DTC P0727 и P0725 являются аналогичными диагностическими кодами неисправности. Таким образом, при появлении этих DTC, считать их одним. А при обнаружении Р0725 контрольная лампа индикации неисправности гореть не будет.
Информация передаётся между контроллером КПП и блоком управления двигателя с помощью шины CAN. Информация заключает в себе следующее:

Условия записи диагностического кода неисправности

Действия при занесении кода неисправности

Условия удаления индикации mil/ диагностического кода неисправности

dtc p0726 - Входная цепь частоты вращения коленчатого вала, выход за пределы диапазона/рабочих характеристик (ТИП can) (2,0 л dohc delphi 32 БИТА)

ШагОперацияЗначенияДаНет
1
Выполнить проверку системы бортовой диагностики.
Проверка произведена?
-
Перейти к Шагу 2
Перейти к "Проверка систему бортовой диагностики"
2
  1. Установить диагностический прибор.
  2. Включить зажигание (при 3100 мин-1).
  3. Проверить выходную частоту вращения на диагностическом приборе.
Соответствует ли частота вращения указанным пределам?
Ускорение частоты вращения коленчатого вала 0-7500 мин-1: менее 25000 мин-1/сек
Перейти к "Рекомендации по диагностике"
Перейти к Шагу 3
3
  1. Повернуть ключ зажигания в положение "LOCK" (блокировки).
  2. Отсоединить соединительный зажим контроллера КПП. и разъем контроллера ЭСУД.
  3. Измерить сопротивление между разъёмами А8 соединительного зажима контроллера КПП и разъёмом К14 соединительного зажима блок управления двигателем.
  4. Измерить сопротивление между разъёмами А16 соединительного зажима контроллера КПП и разъёмом К15 соединительного зажима блок управления двигателем.
Соответствует ли сопротивление указанным пределам?
0Ом
Перейти к Шагу 5
Перейти к Шагу 4
4
При необходимости отремонтировать неисправные разъёмы.
Действие завершено?
-
Система в норме
-
5
  1. Установите зажигание в положение on.
  2. Измерить напряжение разъёма А8.
  3. Измерить напряжение разъёма А16.
Соответствует ли сопротивление указанным пределам?
11-14В
Перейти к Шагу 6
Перейти к Шагу 7
6
При необходимости отремонтировать неисправные разъёмы.
Действие завершено?
-
Система в норме
-
7
Проверить "Частоту вращения коленчатого вала". См. раздел 1F. "Диагностическая информация о двигателе и процедуры".
Была ли обнаружена причина неисправности?
-
См. Раздел 1F, "Диагностическая информация о двигателе и процедуры".
Перейти к Шагу 8
8
  1. Заменить контроллер КПП.
  2. Повернуть ключ зажигания в положение "LOCK" (блокировки).
  3. Установите зажигание в положение on.
  4. Проверить, появляется ли код неисправности Р0726.
  5. Появляется код неисправности?
-
Перейти к Шагу 9
Перейти к Шагу 10
9
Заменить блок управления двигателя.
Действие завершено?
-
Перейти к Шагу 10
-
10
  1. После ремонта следует выполнить функцию "clear info" диагностического прибора и дорожное испытание.
  2. См. ""DTC info"".
Был ли сбой при последнем тесте или на дисплее показывается текущий код неисправности?
-
Начать диагностику заново
Ремонт подтверждён Выйти из таблицы неисправностей

U4A15A06
Показать иллюстрациюПеревод текста в иллюстрациях


ДИАГНОСТИЧЕСКИЙ КОД НЕИСПРАВНОСТИ p0727 ОТСУТСТВУЕТ СИГНАЛ ВХОДНОЙ ЦЕПИ ЧАСТОТЫ ВРАЩЕНИЯ КОЛЕНЧАТОГО ВАЛА (ТИП can) (2,0 л dohc delphi 32 БИТА)

Описание схемы

Контроллер коробки переключения передач представляет собой электронный прибор, контролирующий входы для управления различными функциями коробки передач, включая качество переключения, а также датчики коробки передач, переключатели и рабочие компоненты для использования перечисленного в рамках управляющей программы. Основываясь на поступающей информации контроллер КПП управляет различными функциями и устройствами коробки передач.
DTC P0725 и P0726 являются аналогичными диагностическими кодами неисправности. Таким образом, при появлении этих DTC, считать их одним. А при обнаружении Р0725 контрольная лампа индикации неисправности гореть не будет.
Информация передаётся между контроллером КПП и блоком управления двигателя с помощью шины CAN. Информация заключает в себе следующее:

Условия записи диагностического кода неисправности

Действия при занесении кода неисправности

Условия удаления индикации mil/ диагностического кода неисправности

dtc p0727 - Отсутствует сигнал входной цепи частоты вращения коленчатого вала (ТИП can) (2,0 л dohc delphi 32 БИТА)

ШагОперацияЗначенияДаНет
1
Выполнить проверку системы бортовой диагностики.
Проверка произведена?
-
Перейти к Шагу 2
Перейти к "Проверка систему бортовой диагностики"
2
  1. Установить диагностический прибор.
  2. Включить зажигание, записать, а затем удалить код(ы) неисправности (~ей) и выключить зажигание.
  3. Проверить выходную частоту вращения на диагностическом приборе.
Соответствует ли частота вращения указанным пределам?
Частота вращения коленчатого вала 0-7000 мин-1
Перейти к "Рекомендации по диагностике"
Перейти к Шагу 3
3
  1. Выключить зажигание.
  2. Отсоединить соединительный зажим контроллера КПП и соединительного зажима блока управления двигателем.
  3. Измерить сопротивление между разъёмами А8 соединительного зажима контроллера КПП и разъёмом К14 соединительного зажима блок управления двигателем.
  4. Измерить сопротивление между разъёмами А16 соединительного зажима контроллера КПП и разъёмом К15 соединительного зажима блок управления двигателем.
Соответствует ли сопротивление указанным пределам?
0Ом
Перейти к Шагу 5
Перейти к Шагу 4
4
При необходимости отремонтировать неисправные разъёмы.
Действие завершено?
-
Система в норме
-
5
  1. Установите зажигание в положение on.
  2. Измерить напряжение разъёма А8.
  3. Измерить напряжение разъёма А16.
Соответствует ли сопротивление указанным пределам?
11-14В
Перейти к Шагу 6
Перейти к Шагу 7
6
Устранить замыкание на питание.
Действие завершено?
-
Система в норме
-
7
Проверить "Частоту вращения коленчатого вала". См. раздел 1F, "Диагностическая информация о двигателе и процедуры".
Была ли обнаружена причина неисправности?
-
См. Раздел 1F, "Диагностическая информация о двигателе и процедуры.".
Перейти к Шагу 8
8
  1. Заменить контроллер КПП.
  2. Выключить зажигание.
  3. Установите зажигание в положение on.
  4. Проверить, появляется ли код неисправности Р0727.
  5. Появляется код неисправности?
-
Перейти к Шагу 9
Перейти к Шагу 10
9
Заменить блок управления двигателя.
Действие завершено?
-
Перейти к Шагу 10
-
10
  1. После ремонта следует выполнить функцию "clear info" диагностического прибора и дорожное испытание.
  2. См. ""DTC info"".
Был ли сбой при последнем тесте или на дисплее показывается текущий код неисправности?
-
Начать диагностику заново
Ремонт подтверждён Выйти из таблицы неисправностей
Диапазон
Парковка/ нейтраль
Задняя
d
3
2
1
Передача
n
r
1-я
2-я
3-я
4-я
1-я
2-я
3-я
1-я
2-я
1-я
. Электромагнитный клапан 1
ВКЛ.
вкл/выкл
вкл/выкл
вкл/выкл
вкл/выкл
вкл/выкл
вкл/выкл
вкл/выкл
вкл/выкл
вкл/выкл
вкл/выкл
вкл/выкл
. Электромагнитный клапан 2
ВКЛ.
ВКЛ.
ВКЛ.
ВЫКЛ.
ВЫКЛ.
ВЫКЛ.
ВКЛ.
ВЫКЛ.
ВЫКЛ.
ВКЛ.
ВЫКЛ.
ВКЛ.
. Электромагнитный клапан 3 контроля давления в трубопроводе (eds 3)
ВЫКЛ.
ВЫКЛ.
ВЫКЛ.
ВКЛ.
вкл/выкл
вкл/выкл
ВЫКЛ.
ВКЛ.
вкл/выкл
ВЫКЛ.
ВКЛ.
вкл/выкл
. Электромагнитный клапан 4 контроля давления в трубопроводе (eds 4)
ВКЛ.
ВЫКЛ.
ВКЛ.
ВКЛ.
ВКЛ.
ВЫКЛ.
ВКЛ.
ВКЛ.
ВКЛ.
ВКЛ.
ВКЛ.
ВКЛ.
. Электромагнитный клапан 5 контроля давления в трубопроводе (eds 5)
ВЫКЛ.
ВЫКЛ.
ВКЛ.
ВКЛ.
ВЫКЛ.
ВЫКЛ.
ВКЛ.
ВКЛ.
ВЫКЛ.
ВКЛ.
ВКЛ.
ВКЛ.
. Электромагнитный клапан 6 контроля давления в трубопроводе (eds 6)
ВКЛ.
ВЫКЛ.
ВКЛ.
ВКЛ.
ВЫКЛ.
ВЫКЛ.
ВКЛ.
ВКЛ.
ВКЛ.
ВКЛ.
ВКЛ.
ВКЛ.
. Тормоз В
a
a
a
.
a
.
a
.
a
a
.
a
. Тормоз С
.
.
.
.
.
.
Н
.
.
.
.
.
. Тормоз d
.
Н
.
.
.
.
.
.
.
.
.
.
. Муфта Е
.
.
.
a
a
a
.
a
a
.
a
.
. Тормоз f
.
.
Н
Н
.
.
Н
Н
.
Н
Н
Н
. Блокирующая муфта
.
.
.
.
.
a
.
.
.
.
.
.
А = включено
Н = выключено
Вкл. = электромагнитный клапан под напряжением.
Выкл. = электромагнитный клапан обесточен.
** = Ручное переключение со второй передачи на третью возможно только на скорости более примерно 100 км/ч (62 миль/ч).
*** = Ручное переключение с первой передачи на вторую возможно только на скорости более примерно 100 км/ч (62 миль/ч).
ПРИМЕЧАНИЕ: Для безопасности также возможно переключение с первой передачи на третью на высокой скорости.

ДИАГНОСТИЧЕСКИЙ КОД НЕИСПРАВНОСТИ p0731 ПЕРЕДАЧА 1; НЕПРАВИЛЬНОЕ ПЕРЕДАТОЧНОЕ ОТНОШЕНИЕ

Описание схемы

Контроллер КПП использует информацию о частоте вращения КПП, а также информацию от датчика выходной частоты вращения для управления давлением в трубопроводе, включения и выключения блокирующей муфты гидротрансформатора, а также переключением передач. Данная информация также используется для вычисления соответствующего передаточного отношения и проскальзывания блокирующей муфты гидротрансформатора. Условия записи диагностического кода неисправности

Условия записи диагностического кода неисправности

Действия при занесении кода неисправности

Условия удаления индикации mil/ диагностического кода неисправности

Рекомендации по диагностике

dtc p0731 - Неправильное передаточное число 1-й передачи

ШагОперацияЗначенияДаНет
1
Выполнить проверку системы бортовой диагностики.
Проверка произведена?
-
Перейти к Шагу 2
Перейти к "Проверка систему бортовой диагностики"
2
Осмотреть систему охлаждения коробки передач на наличие утечки.
Неисправность найдена и устранена?
-
Перейти к Шагу 7
Перейти к Шагу 3
3
Процедура проверки жидкости коробки передач выполнена?
-
Перейти к Шагу 4
Перейти к процедуре проверки жидкости коробки передач
4
  1. С помощью диагностического прибора записать каждый диапазон передач
  2. Выполнить пробную езду в положениях 1, 2, 3 и d с дроссельной заслонкой, открытой больше чем на 15%, и на скорости более 16 км/ч (10 миль/ч) в течение пяти секунд.
  3. Сравнить текущую передачу с нормальной передачей меню списка данных в диагностическом приборе.
Текущая передача близка к положению нормальной передачи из списка?
(Правильными являются значения передаточного отношения каждого положения передачи)
1-я = 2,719
2-я = 1,487
3-я = 1,000
4-я = 0,717
См. "Рекомендации по диагностике".
Перейти к Шагу 5
5
Выполнить проверку давления в трубопроводе.
Неисправность найдена и устранена?
-
Перейти к Шагу 7
Перейти к Шагу 6
6
Проверить возможное проскальзывание муфты сцепления.
Неисправность найдена и устранена?
-
Перейти к Шагу 7
-
7
  1. После ремонта следует выполнить функцию "clear info" диагностического прибора и дорожное испытание.
  2. См. ""DTC info"".
Был ли сбой при последнем тесте или на дисплее показывается текущий код неисправности?
-
Заменить коробку передач в сборе
Ремонт подтверждён Выйти из таблицы неисправностей
Диапазон
Парковка/ нейтраль
Задняя
d
3
2
1
Передача
n
r
1-я
2-я
3-я
4-я
1-я
2-я
3-я
1-я
2-я
1-я
. Электромагнитный клапан 1
ВКЛ.
вкл/выкл
вкл/выкл
вкл/выкл
вкл/выкл
вкл/выкл
вкл/выкл
вкл/выкл
вкл/выкл
вкл/выкл
вкл/выкл
вкл/выкл
. Электромагнитный клапан 2
ВКЛ.
ВКЛ.
ВКЛ.
ВЫКЛ.
ВЫКЛ.
ВЫКЛ.
ВКЛ.
ВЫКЛ.
ВЫКЛ.
ВКЛ.
ВЫКЛ.
ВКЛ.
. Электромагнитный клапан 3 контроля давления в трубопроводе (eds 3)
ВЫКЛ.
ВЫКЛ.
ВЫКЛ.
ВКЛ.
вкл/выкл
вкл/выкл
ВЫКЛ.
ВКЛ.
вкл/выкл
ВЫКЛ.
ВКЛ.
вкл/выкл
. Электромагнитный клапан 4 контроля давления в трубопроводе (eds 4)
ВКЛ.
ВЫКЛ.
ВКЛ.
ВКЛ.
ВКЛ.
ВЫКЛ.
ВКЛ.
ВКЛ.
ВКЛ.
ВКЛ.
ВКЛ.
ВКЛ.
. Электромагнитный клапан 5 контроля давления в трубопроводе (eds 5)
ВЫКЛ.
ВЫКЛ.
ВКЛ.
ВКЛ.
ВЫКЛ.
ВЫКЛ.
ВКЛ.
ВКЛ.
ВЫКЛ.
ВКЛ.
ВКЛ.
ВКЛ.
. Электромагнитный клапан 6 контроля давления в трубопроводе (eds 6)
ВКЛ.
ВЫКЛ.
ВКЛ.
ВКЛ.
ВКЛ.
ВЫКЛ.
ВКЛ.
ВКЛ.
ВКЛ.
ВКЛ.
ВКЛ.
ВКЛ.
. Тормоз В
a
a
a
.
a
.
a
.
a
a
.
a
. Тормоз С
.
.
.
.
.
.
Н
.
.
.
.
.
. Тормоз d
.
Н
.
.
.
.
.
.
.
.
.
.
. Муфта Е
.
.
.
a
a
a
.
a
a
.
a
.
. Тормоз f
.
.
Н
Н
.
.
Н
Н
.
Н
Н
Н
. Блокирующая муфта
.
.
.
.
.
a
.
.
.
.
.
.
А = включено
Н = выключено
Вкл. = электромагнитный клапан под напряжением.
Выкл. = электромагнитный клапан обесточен.
** = Ручное переключение со второй передачи на третью возможно только на скорости более примерно 100 км/ч (62 миль/ч).
*** = Ручное переключение с первой передачи на вторую возможно только на скорости более примерно 100 км/ч (62 миль/ч).
ПРИМЕЧАНИЕ: Для безопасности также возможно переключение с первой передачи на третью на высокой скорости.

ДИАГНОСТИЧЕСКИЙ КОД НЕИСПРАВНОСТИ p0732 ПЕРЕДАЧА 2; НЕПРАВИЛЬНОЕ ПЕРЕДАТОЧНОЕ ОТНОШЕНИЕ

Описание схемы

Контроллер КПП использует информацию о частоте вращения КПП, а также информацию от датчика выходной частоты вращения для управления давлением в трубопроводе, включения и выключения блокирующей муфты гидротрансформатора, а также переключением передач. Данная информация также используется для вычисления соответствующего передаточного отношения и проскальзывания блокирующей муфты гидротрансформатора. Условия записи диагностического кода неисправности

Условия записи диагностического кода неисправности

Действия при занесении кода неисправности

Условия удаления индикации mil/ диагностического кода неисправности

Рекомендации по диагностике

dtc p0732 - Неправильное передаточное число 2-й передачи

ШагОперацияЗначенияДаНет
1
Выполнить проверку системы бортовой диагностики.
Проверка произведена?
-
Перейти к Шагу 2
Перейти к "Проверка систему бортовой диагностики"
2
Осмотреть систему охлаждения коробки передач на наличие утечки.
Неисправность найдена и устранена?
-
Перейти к Шагу 7
Перейти к Шагу 3
3
Процедура проверки жидкости коробки передач выполнена?
-
Перейти к Шагу 4
Перейти к процедуре проверки жидкости коробки передач
4
  1. С помощью диагностического прибора записать каждый диапазон передач
  2. Выполнить пробную езду в положениях 1, 2, 3 и d с дроссельной заслонкой, открытой больше чем на 15%, и на скорости более 16 км/ч (10 миль/ч) в течение пяти секунд.
  3. Сравнить текущую передачу с нормальной передачей меню списка данных в диагностическом приборе.
Текущая передача близка к положению нормальной передачи из списка?
(Правильными являются значения передаточного отношения каждого положения передачи)
1-я = 2,719
2-я = 1,487
3-я = 1,000
4-я = 0,717
См. "Рекомендации по диагностике".
Перейти к Шагу 5
5
Выполнить проверку давления в трубопроводе.
Неисправность найдена и устранена?
-
Перейти к Шагу 7
Перейти к Шагу 6
6
Проверить возможное проскальзывание муфты сцепления.
Неисправность найдена и устранена?
-
Перейти к Шагу 7
-
7
  1. После ремонта следует выполнить функцию "clear info" диагностического прибора и дорожное испытание.
  2. См. ""DTC info"".
Был ли сбой при последнем тесте или на дисплее показывается текущий код неисправности?
-
Заменить коробку передач в сборе
Ремонт подтверждён Выйти из таблицы неисправностей
Диапазон
Парковка/ нейтраль
Задняя
d
3
2
1
Передача
n
r
1-я
2-я
3-я
4-я
1-я
2-я
3-я
1-я
2-я
1-я
. Электромагнитный клапан 1
ВКЛ.
вкл/выкл
вкл/выкл
вкл/выкл
вкл/выкл
вкл/выкл
вкл/выкл
вкл/выкл
вкл/выкл
вкл/выкл
вкл/выкл
вкл/выкл
. Электромагнитный клапан 2
ВКЛ.
ВКЛ.
ВКЛ.
ВЫКЛ.
ВЫКЛ.
ВЫКЛ.
ВКЛ.
ВЫКЛ.
ВЫКЛ.
ВКЛ.
ВЫКЛ.
ВКЛ.
. Электромагнитный клапан 3 контроля давления в трубопроводе (eds 3)
ВЫКЛ.
ВЫКЛ.
ВЫКЛ.
ВКЛ.
вкл/выкл
вкл/выкл
ВЫКЛ.
ВКЛ.
вкл/выкл
ВЫКЛ.
ВКЛ.
вкл/выкл
. Электромагнитный клапан 4 контроля давления в трубопроводе (eds 4)
ВКЛ.
ВЫКЛ.
ВКЛ.
ВКЛ.
ВКЛ.
ВЫКЛ.
ВКЛ.
ВКЛ.
ВКЛ.
ВКЛ.
ВКЛ.
ВКЛ.
. Электромагнитный клапан 5 контроля давления в трубопроводе (eds 5)
ВЫКЛ.
ВЫКЛ.
ВКЛ.
ВКЛ.
ВЫКЛ.
ВЫКЛ.
ВКЛ.
ВКЛ.
ВЫКЛ.
ВКЛ.
ВКЛ.
ВКЛ.
. Электромагнитный клапан 6 контроля давления в трубопроводе (eds 6)
ВКЛ.
ВЫКЛ.
ВКЛ.
ВКЛ.
ВКЛ.
ВЫКЛ.
ВКЛ.
ВКЛ.
ВКЛ.
ВКЛ.
ВКЛ.
ВКЛ.
. Тормоз В
a
a
a
.
a
.
a
.
a
a
.
a
. Тормоз С
.
.
.
.
.
.
Н
.
.
.
.
.
. Тормоз d
.
Н
.
.
.
.
.
.
.
.
.
.
. Муфта Е
.
.
.
a
a
a
.
a
a
.
a
.
. Тормоз f
.
.
Н
Н
.
.
Н
Н
.
Н
Н
Н
. Блокирующая муфта
.
.
.
.
.
a
.
.
.
.
.
.
А = включено
Н = выключено
Вкл. = электромагнитный клапан под напряжением.
Выкл. = электромагнитный клапан обесточен.
** = Ручное переключение со второй передачи на третью возможно только на скорости более примерно 100 км/ч (62 миль/ч).
*** = Ручное переключение с первой передачи на вторую возможно только на скорости более примерно 100 км/ч (62 миль/ч).
ПРИМЕЧАНИЕ: Для безопасности также возможно переключение с первой передачи на третью на высокой скорости.

ДИАГНОСТИЧЕСКИЙ КОД НЕИСПРАВНОСТИ p0733 ПЕРЕДАЧА 3; НЕПРАВИЛЬНОЕ ПЕРЕДАТОЧНОЕ ОТНОШЕНИЕ

Описание схемы

Контроллер КПП использует информацию о частоте вращения КПП, а также информацию от датчика выходной частоты вращения для управления давлением в трубопроводе, включения и выключения блокирующей муфты гидротрансформатора, а также переключением передач. Эта информация также используется для вычисления необходимых рабочих передаточных отношений и проскальзывания блокирующей муфты гидротрансформатора. Условия записи диагностического кода неисправности.

Условия записи диагностического кода неисправности

Действия при занесении кода неисправности

Условия удаления индикации mil/ диагностического кода неисправности

Рекомендации по диагностике

dtc p0733 - Неправильное передаточное число 3-й передачи

ШагОперацияЗначенияДаНет
1
Выполнить проверку системы бортовой диагностики.
Проверка произведена?
-
Перейти к Шагу 2
Перейти к "Проверка систему бортовой диагностики"
2
Осмотреть систему охлаждения коробки передач на наличие утечки.
Неисправность найдена и устранена?
-
Перейти к Шагу 7
Перейти к Шагу 3
3
Процедура проверки жидкости коробки передач выполнена?
-
Перейти к Шагу 4
Перейти к процедуре проверки жидкости коробки передач
4
  1. С помощью диагностического прибора записать каждый диапазон передач
  2. Выполнить пробную езду в положениях 1, 2, 3 и d с дроссельной заслонкой, открытой больше чем на 15%, и на скорости более 16 км/ч (10 миль/ч) в течение пяти секунд.
  3. Сравнить текущую передачу с нормальной передачей меню списка данных в диагностическом приборе.
Текущая передача близка к положению нормальной передачи из списка?
(Правильными являются значения передаточного отношения каждого положения передачи)
1-я = 2,719
2-я = 1,487
3-я = 1,000
4-я = 0,717
См. "Рекомендации по диагностике".
Перейти к Шагу 5
5
Выполнить проверку давления в трубопроводе.
Неисправность найдена и устранена?
-
Перейти к Шагу 7
Перейти к Шагу 6
6
Проверить возможное проскальзывание муфты сцепления.
Неисправность найдена и устранена?
-
Перейти к Шагу 7
-
7
  1. После ремонта следует выполнить функцию "clear info" диагностического прибора и дорожное испытание.
  2. См. ""DTC info"".
Был ли сбой при последнем тесте или на дисплее показывается текущий код неисправности?
-
Заменить коробку передач в сборе
Ремонт подтверждён Выйти из таблицы неисправностей
Диапазон
Парковка/ нейтраль
Задняя
d
3
2
1
Передача
n
r
1-я
2-я
3-я
4-я
1-я
2-я
3-я
1-я
2-я
1-я
. Электромагнитный клапан 1
ВКЛ.
вкл/выкл
вкл/выкл
вкл/выкл
вкл/выкл
вкл/выкл
вкл/выкл
вкл/выкл
вкл/выкл
вкл/выкл
вкл/выкл
вкл/выкл
. Электромагнитный клапан 2
ВКЛ.
ВКЛ.
ВКЛ.
ВЫКЛ.
ВЫКЛ.
ВЫКЛ.
ВКЛ.
ВЫКЛ.
ВЫКЛ.
ВКЛ.
ВЫКЛ.
ВКЛ.
. Электромагнитный клапан 3 контроля давления в трубопроводе (eds 3)
ВЫКЛ.
ВЫКЛ.
ВЫКЛ.
ВКЛ.
вкл/выкл
вкл/выкл
ВЫКЛ.
ВКЛ.
вкл/выкл
ВЫКЛ.
ВКЛ.
вкл/выкл
. Электромагнитный клапан 4 контроля давления в трубопроводе (eds 4)
ВКЛ.
ВЫКЛ.
ВКЛ.
ВКЛ.
ВКЛ.
ВЫКЛ.
ВКЛ.
ВКЛ.
ВКЛ.
ВКЛ.
ВКЛ.
ВКЛ.
. Электромагнитный клапан 5 контроля давления в трубопроводе (eds 5)
ВЫКЛ.
ВЫКЛ.
ВКЛ.
ВКЛ.
ВЫКЛ.
ВЫКЛ.
ВКЛ.
ВКЛ.
ВЫКЛ.
ВКЛ.
ВКЛ.
ВКЛ.
. Электромагнитный клапан 6 контроля давления в трубопроводе (eds 6)
ВКЛ.
ВЫКЛ.
ВКЛ.
ВКЛ.
ВКЛ.
ВЫКЛ.
ВКЛ.
ВКЛ.
ВКЛ.
ВКЛ.
ВКЛ.
ВКЛ.
. Тормоз В
a
a
a
.
a
.
a
.
a
a
.
a
. Тормоз С
.
.
.
.
.
.
Н
.
.
.
.
.
. Тормоз d
.
Н
.
.
.
.
.
.
.
.
.
.
. Муфта Е
.
.
.
a
a
a
.
a
a
.
a
.
. Тормоз f
.
.
Н
Н
.
.
Н
Н
.
Н
Н
Н
. Блокирующая муфта
.
.
.
.
.
a
.
.
.
.
.
.
А = включено
Н = выключено
Вкл. = электромагнитный клапан под напряжением.
Выкл. = электромагнитный клапан обесточен.
** = Ручное переключение со второй передачи на третью возможно только на скорости более примерно 100 км/ч (62 миль/ч).
*** = Ручное переключение с первой передачи на вторую возможно только на скорости более примерно 100 км/ч (62 миль/ч).
ПРИМЕЧАНИЕ: Для безопасности также возможно переключение с первой передачи на третью на высокой скорости.

ДИАГНОСТИЧЕСКИЙ КОД НЕИСПРАВНОСТИ p0734 ПЕРЕДАЧА 4; НЕПРАВИЛЬНОЕ ПЕРЕДАТОЧНОЕ ОТНОШЕНИЕ

Описание схемы

Контроллер КПП использует информацию о частоте вращения КПП, а также информацию от датчика выходной частоты вращения для управления давлением в трубопроводе, включения и выключения блокирующей муфты гидротрансформатора, а также переключением передач. Данная информация также используется для вычисления соответствующего передаточного отношения и проскальзывания блокирующей муфты гидротрансформатора. Условия записи диагностического кода неисправности

Условия записи диагностического кода неисправности

Действия при занесении кода неисправности

Условия удаления индикации mil/ диагностического кода неисправности

Рекомендации по диагностике

dtc p0734 - Неправильное передаточное число 4-й передачи

ШагОперацияЗначенияДаНет
1
Выполнить проверку системы бортовой диагностики.
Проверка произведена?
-
Перейти к Шагу 2
Перейти к "Проверка систему бортовой диагностики"
2
Осмотреть систему охлаждения коробки передач на наличие утечки.
Неисправность найдена и устранена?
-
Перейти к Шагу 7
Перейти к Шагу 3
3
Процедура проверки жидкости коробки передач выполнена?
-
Перейти к Шагу 4
Перейти к процедуре проверки жидкости коробки передач
3
  1. С помощью диагностического прибора записать каждый диапазон передач
  2. Выполнить пробную езду в положениях 1, 2, 3 и d с дроссельной заслонкой, открытой больше чем на 15%, и на скорости более 16 км/ч (10 миль/ч) в течение пяти секунд.
  3. Сравнить текущую передачу с нормальной передачей меню списка данных в диагностическом приборе.
Текущая передача близка к положению нормальной передачи из списка?
(Правильными являются значения передаточного отношения каждого положения передачи)
1-я = 2,719
2-я = 1,487
3-я = 1,000
4-я = 0,717
См. "Рекомендации по диагностике".
Перейти к Шагу 5
5
Выполнить проверку давления в трубопроводе.
Неисправность найдена и устранена?
-
Перейти к Шагу 7
Перейти к Шагу 6
6
Проверить возможное проскальзывание муфты сцепления.
Неисправность найдена и устранена?
-
Перейти к Шагу 7
-
7
  1. После ремонта следует выполнить функцию "clear info" диагностического прибора и дорожное испытание.
  2. См. ""DTC info"".
Был ли сбой при последнем тесте или на дисплее показывается текущий код неисправности?
-
Заменить коробку передач в сборе
Ремонт подтверждён Выйти из таблицы неисправностей
Диапазон
Парковка/ нейтраль
Задняя
d
3
2
1
Передача
n
r
1-я
2-я
3-я
4-я
1-я
2-я
3-я
1-я
2-я
1-я
. Электромагнитный клапан 1
ВКЛ.
вкл/выкл
вкл/выкл
вкл/выкл
вкл/выкл
вкл/выкл
вкл/выкл
вкл/выкл
вкл/выкл
вкл/выкл
вкл/выкл
вкл/выкл
. Электромагнитный клапан 2
ВКЛ.
ВКЛ.
ВКЛ.
ВЫКЛ.
ВЫКЛ.
ВЫКЛ.
ВКЛ.
ВЫКЛ.
ВЫКЛ.
ВКЛ.
ВЫКЛ.
ВКЛ.
. Электромагнитный клапан 3 контроля давления в трубопроводе (eds 3)
ВЫКЛ.
ВЫКЛ.
ВЫКЛ.
ВКЛ.
вкл/выкл
вкл/выкл
ВЫКЛ.
ВКЛ.
вкл/выкл
ВЫКЛ.
ВКЛ.
вкл/выкл
. Электромагнитный клапан 4 контроля давления в трубопроводе (eds 4)
ВКЛ.
ВЫКЛ.
ВКЛ.
ВКЛ.
ВКЛ.
ВЫКЛ.
ВКЛ.
ВКЛ.
ВКЛ.
ВКЛ.
ВКЛ.
ВКЛ.
. Электромагнитный клапан 5 контроля давления в трубопроводе (eds 5)
ВЫКЛ.
ВЫКЛ.
ВКЛ.
ВКЛ.
ВЫКЛ.
ВЫКЛ.
ВКЛ.
ВКЛ.
ВЫКЛ.
ВКЛ.
ВКЛ.
ВКЛ.
. Электромагнитный клапан 6 контроля давления в трубопроводе (eds 6)
ВКЛ.
ВЫКЛ.
ВКЛ.
ВКЛ.
ВКЛ.
ВЫКЛ.
ВКЛ.
ВКЛ.
ВКЛ.
ВКЛ.
ВКЛ.
ВКЛ.
. Тормоз В
a
a
a
.
a
.
a
.
a
a
.
a
. Тормоз С
.
.
.
.
.
.
Н
.
.
.
.
.
. Тормоз d
.
Н
.
.
.
.
.
.
.
.
.
.
. Муфта Е
.
.
.
a
a
a
.
a
a
.
a
.
. Тормоз f
.
.
Н
Н
.
.
Н
Н
.
Н
Н
Н
. Блокирующая муфта
.
.
.
.
.
a
.
.
.
.
.
.
А = включено
Н = выключено
Вкл. = электромагнитный клапан под напряжением.
Выкл. = электромагнитный клапан обесточен.
** = Ручное переключение со второй передачи на третью возможно только на скорости более примерно 100 км/ч (62 миль/ч).
*** = Ручное переключение с первой передачи на вторую возможно только на скорости более примерно 100 км/ч (62 миль/ч).
ПРИМЕЧАНИЕ: Для безопасности также возможно переключение с первой передачи на третью на высокой скорости.

ДИАГНОСТИЧЕСКИЙ КОД НЕИСПРАВНОСТИ p0781 НЕИСПРАВНОСТЬ ПЕРЕКЛЮЧЕНИЯ ПЕРЕДАЧ 1-2

Описание схемы

Особенностью автоматической коробки передач 4НР 16 является, то, что она работает без муфты свободного хода. Переключение передач происходит посредством совмещения моментов включения и выключения сцепления.
Преимущество переключения с совмещением моментов включения и выключения сцепления заключается в следующем:
- конструкция коробки передач более компактна и легче из-за отсутствия муфт свободного хода и меньшего количества элементов, участвующих в процессе переключения передач;
- ниже потери на трение, т.е. более высокий КПД.
- низкий максимальный крутящий момент в узлах и карданной передаче.
Однако переключение передач с совмещением моментов включения и выключения сцепления требует высокопроизводительного аппаратного и программного обеспечения, а также точных сигналов от двигателя.

Условия записи диагностического кода неисправности

Действия при занесении кода неисправности

Условия удаления индикации mil/ диагностического кода неисправности

Рекомендации по диагностике

dtc p0781 - Неисправность переключения с 1 передачи на 2

ШагОперацияЗначенияДаНет
1
Выполнить проверку системы бортовой диагностики.
Проверка произведена?
-
Перейти к Шагу 2
Перейти к "Проверка систему бортовой диагностики"
2
  1. Установить диагностический прибор.
  2. Включить зажигание при выключенном двигателе.
  3. Запустить двигатель и разогреть его на холостом ходу.
  4. Просмотреть "скорость вращение двигателя, частота вращения на холостом ходу, TPS и т.д." на диагностическом приборе.
Была ли обнаружена причина неисправности?
-
Перейти к "Информация о диагностике двигателя"
Перейти к Шагу 3
3
Проверить "ЕСU". См. Раздел 1F, "Диагностическая информация о двигателе и процедуры".
Была ли обнаружена причина неисправности?
-
Перейти к "Информация о диагностике двигателя"
Перейти к Шагу 4
4
  1. Повернуть ключ зажигания в положение "LOCK" (блокировки).
  2. Отсоединить соединительный зажим контроллера КПП.
  3. Измерить напряжение между разъёмом В3 и В13 соединительного зажима коробки передач.
  4. Установите зажигание в положение on.
  5. Измерить напряжение между разъёмом С15 и В13 соединительного зажима коробки передач.
  6. Измерить напряжение между разъёмом С16 и В13 соединительного зажима коробки передач.
Соответствует ли сопротивление указанным пределам?
11-14В
Перейти к Шагу 5
Перейти к "Высокое или низкое напряжение бортовой цепи"
5
Заменить контроллер КПП.
Действие завершено?
-
Перейти к Шагу 8
-
6
  1. После ремонта следует выполнить функцию "clear info" диагностического прибора и дорожное испытание.
  2. См. ""DTC info"".
Был ли сбой при последнем тесте или на дисплее показывается текущий код неисправности?
-
Заменить коробку передач в сборе
Ремонт подтверждён Выйти из таблицы неисправностей
Диапазон
Парковка/ нейтраль
Задняя
d
3
2
1
Передача
n
r
1-я
2-я
3-я
4-я
1-я
2-я
3-я
1-я
2-я
1-я
. Электромагнитный клапан 1
ВКЛ.
вкл/выкл
вкл/выкл
вкл/выкл
вкл/выкл
вкл/выкл
вкл/выкл
вкл/выкл
вкл/выкл
вкл/выкл
вкл/выкл
вкл/выкл
. Электромагнитный клапан 2
ВКЛ.
ВКЛ.
ВКЛ.
ВЫКЛ.
ВЫКЛ.
ВЫКЛ.
ВКЛ.
ВЫКЛ.
ВЫКЛ.
ВКЛ.
ВЫКЛ.
ВКЛ.
. Электромагнитный клапан 3 контроля давления в трубопроводе (eds 3)
ВЫКЛ.
ВЫКЛ.
ВЫКЛ.
ВКЛ.
вкл/выкл
вкл/выкл
ВЫКЛ.
ВКЛ.
вкл/выкл
ВЫКЛ.
ВКЛ.
вкл/выкл
. Электромагнитный клапан 4 контроля давления в трубопроводе (eds 4)
ВКЛ.
ВЫКЛ.
ВКЛ.
ВКЛ.
ВКЛ.
ВЫКЛ.
ВКЛ.
ВКЛ.
ВКЛ.
ВКЛ.
ВКЛ.
ВКЛ.
. Электромагнитный клапан 5 контроля давления в трубопроводе (eds 5)
ВЫКЛ.
ВЫКЛ.
ВКЛ.
ВКЛ.
ВЫКЛ.
ВЫКЛ.
ВКЛ.
ВКЛ.
ВЫКЛ.
ВКЛ.
ВКЛ.
ВКЛ.
. Электромагнитный клапан 6 контроля давления в трубопроводе (eds 6)
ВКЛ.
ВЫКЛ.
ВКЛ.
ВКЛ.
ВКЛ.
ВЫКЛ.
ВКЛ.
ВКЛ.
ВКЛ.
ВКЛ.
ВКЛ.
ВКЛ.
. Тормоз В
a
a
a
.
a
.
a
.
a
a
.
a
. Тормоз С
.
.
.
.
.
.
Н
.
.
.
.
.
. Тормоз d
.
Н
.
.
.
.
.
.
.
.
.
.
. Муфта Е
.
.
.
a
a
a
.
a
a
.
a
.
. Тормоз f
.
.
Н
Н
.
.
Н
Н
.
Н
Н
Н
. Блокирующая муфта
.
.
.
.
.
a
.
.
.
.
.
.
А = включено
Н = выключено
Вкл. = электромагнитный клапан под напряжением.
Выкл. = электромагнитный клапан обесточен.
** = Ручное переключение со второй передачи на третью возможно только на скорости более примерно 100 км/ч (62 миль/ч).
*** = Ручное переключение с первой передачи на вторую возможно только на скорости более примерно 100 км/ч (62 миль/ч).
ПРИМЕЧАНИЕ: Для безопасности также возможно переключение с первой передачи на третью на высокой скорости.

ДИАГНОСТИЧЕСКИЙ КОД НЕИСПРАВНОСТИ p0782 НЕИСПРАВНОСТЬ ПЕРЕКЛЮЧЕНИЯ ПЕРЕДАЧ 2-3

Описание схемы

Особенностью автоматической коробки передач 4НР 16 является, то, что она работает без муфты свободного хода. Переключение передач происходит посредством совмещения моментов включения и выключения сцепления.
Преимущество переключения с совмещением моментов включения и выключения сцепления заключается в следующем:
- конструкция коробки передач более компактна и легче из-за отсутствия муфт свободного хода и меньшего количества элементов, участвующих в процессе переключения передач;
- ниже потери на трение, т.е. более высокий КПД.
- низкий максимальный крутящий момент в узлах и карданной передаче.
Однако переключение передач с совмещением моментов включения и выключения сцепления требует высокопроизводительного аппаратного и программного обеспечения, а также точных сигналов от двигателя.

Условия записи диагностического кода неисправности

Действия при занесении кода неисправности

Условия удаления индикации mil/ диагностического кода неисправности

Рекомендации по диагностике

dtc p0782 - Неисправность переключения со 2 передачи на 3

ШагОперацияЗначенияДаНет
1
Выполнить проверку системы бортовой диагностики.
Проверка произведена?
-
Перейти к Шагу 2
Перейти к "Проверка систему бортовой диагностики"
2
  1. Установить диагностический прибор.
  2. Включить зажигание при выключенном двигателе.
  3. Запустить двигатель и разогреть его на холостом ходу.
  4. Просмотреть "скорость вращение двигателя, частота вращения на холостом ходу, TPS и т.д." на диагностическом приборе.
Была ли обнаружена причина неисправности?
-
Перейти к "Информация о диагностике двигателя"
Перейти к Шагу 3
3
Проверить "ЕСU". См. Раздел 1F, "Диагностическая информация о двигателе и процедуры".
Была ли обнаружена причина неисправности?
-
Перейти к "Информация о диагностике двигателя"
Перейти к Шагу 4
4
  1. Повернуть ключ зажигания в положение "LOCK" (блокировки).
  2. Отсоединить соединительный зажим контроллера КПП.
  3. Измерить напряжение между разъёмом В3 и В13 соединительного зажима коробки передач.
  4. Установите зажигание в положение on.
  5. Измерить напряжение между разъёмом С15 и В13 соединительного зажима коробки передач.
  6. Измерить напряжение между разъёмом С16 и В13 соединительного зажима коробки передач.
Соответствует ли сопротивление указанным пределам?
11-14В
Перейти к Шагу 5
Перейти к "Высокое или низкое напряжение бортовой цепи"
5
Заменить контроллер КПП.
Действие завершено?
-
Перейти к Шагу 8
-
6
  1. После ремонта следует выполнить функцию "clear info" диагностического прибора и дорожное испытание.
  2. См. ""DTC info"".
Был ли сбой при последнем тесте или на дисплее показывается текущий код неисправности?
-
Заменить коробку передач в сборе
Ремонт подтверждён Выйти из таблицы неисправностей
Диапазон
Парковка/ нейтраль
Задняя
d
3
2
1
Передача
n
r
1-я
2-я
3-я
4-я
1-я
2-я
3-я
1-я
2-я
1-я
. Электромагнитный клапан 1
ВКЛ.
вкл/выкл
вкл/выкл
вкл/выкл
вкл/выкл
вкл/выкл
вкл/выкл
вкл/выкл
вкл/выкл
вкл/выкл
вкл/выкл
вкл/выкл
. Электромагнитный клапан 2
ВКЛ.
ВКЛ.
ВКЛ.
ВЫКЛ.
ВЫКЛ.
ВЫКЛ.
ВКЛ.
ВЫКЛ.
ВЫКЛ.
ВКЛ.
ВЫКЛ.
ВКЛ.
. Электромагнитный клапан 3 контроля давления в трубопроводе (eds 3)
ВЫКЛ.
ВЫКЛ.
ВЫКЛ.
ВКЛ.
вкл/выкл
вкл/выкл
ВЫКЛ.
ВКЛ.
вкл/выкл
ВЫКЛ.
ВКЛ.
вкл/выкл
. Электромагнитный клапан 4 контроля давления в трубопроводе (eds 4)
ВКЛ.
ВЫКЛ.
ВКЛ.
ВКЛ.
ВКЛ.
ВЫКЛ.
ВКЛ.
ВКЛ.
ВКЛ.
ВКЛ.
ВКЛ.
ВКЛ.
. Электромагнитный клапан 5 контроля давления в трубопроводе (eds 5)
ВЫКЛ.
ВЫКЛ.
ВКЛ.
ВКЛ.
ВЫКЛ.
ВЫКЛ.
ВКЛ.
ВКЛ.
ВЫКЛ.
ВКЛ.
ВКЛ.
ВКЛ.
. Электромагнитный клапан 6 контроля давления в трубопроводе (eds 6)
ВКЛ.
ВЫКЛ.
ВКЛ.
ВКЛ.
ВКЛ.
ВЫКЛ.
ВКЛ.
ВКЛ.
ВКЛ.
ВКЛ.
ВКЛ.
ВКЛ.
. Тормоз В
a
a
a
.
a
.
a
.
a
a
.
a
. Тормоз С
.
.
.
.
.
.
Н
.
.
.
.
.
. Тормоз d
.
Н
.
.
.
.
.
.
.
.
.
.
. Муфта Е
.
.
.
a
a
a
.
a
a
.
a
.
. Тормоз f
.
.
Н
Н
.
.
Н
Н
.
Н
Н
Н
. Блокирующая муфта
.
.
.
.
.
a
.
.
.
.
.
.
А = включено
Н = выключено
Вкл. = электромагнитный клапан под напряжением.
Выкл. = электромагнитный клапан обесточен.
** = Ручное переключение со второй передачи на третью возможно только на скорости более примерно 100 км/ч (62 миль/ч).
*** = Ручное переключение с первой передачи на вторую возможно только на скорости более примерно 100 км/ч (62 миль/ч).
ПРИМЕЧАНИЕ: Для безопасности также возможно переключение с первой передачи на третью на высокой скорости.

ДИАГНОСТИЧЕСКИЙ КОД НЕИСПРАВНОСТИ p0783 НЕИСПРАВНОСТЬ ПЕРЕКЛЮЧЕНИЯ ПЕРЕДАЧ 3-4

Описание схемы

Особенностью автоматической коробки передач 4НР 16 является, то, что она работает без муфты свободного хода. Переключение передач происходит посредством совмещения моментов включения и выключения сцепления.
Преимущество переключения с совмещением моментов включения и выключения сцепления заключается в следующем:
- конструкция коробки передач более компактна и легче из-за отсутствия муфт свободного хода и меньшего количества элементов, участвующих в процессе переключения передач;
- ниже потери на трение, т.е. более высокий КПД.
- низкий максимальный крутящий момент в узлах и карданной передаче.
Однако переключение передач с совмещением моментов включения и выключения сцепления требует высокопроизводительного аппаратного и программного обеспечения, а также точных сигналов от двигателя.

Условия записи диагностического кода неисправности

Действия при занесении кода неисправности

Условия удаления индикации mil/ диагностического кода неисправности

Рекомендации по диагностике

dtc p0783 - Неисправность переключения с 3 передачи на 4

ШагОперацияЗначенияДаНет
1
Выполнить проверку системы бортовой диагностики.
Проверка произведена?
-
Перейти к Шагу 2
Перейти к "Проверка систему бортовой диагностики"
2
  1. Установить диагностический прибор.
  2. Включить зажигание при выключенном двигателе.
  3. Запустить двигатель и разогреть его на холостом ходу.
  4. Просмотреть "скорость вращение двигателя, частота вращения на холостом ходу, TPS и т.д." на диагностическом приборе.
Была ли обнаружена причина неисправности?
-
Перейти к "Информация о диагностике двигателя"
Перейти к Шагу 3
3
Проверить "ЕСU". См. Раздел 1F, "Диагностическая информация о двигателе и процедуры".
Была ли обнаружена причина неисправности?
-
Перейти к "Информация о диагностике двигателя"
Перейти к Шагу 4
4
  1. Повернуть ключ зажигания в положение "LOCK" (блокировки).
  2. Отсоединить соединительный зажим контроллера КПП.
  3. Измерить напряжение между разъёмом В3 и В13 соединительного зажима коробки передач.
  4. Установите зажигание в положение on.
  5. Измерить напряжение между разъёмом С15 и В13 соединительного зажима коробки передач.
  6. Измерить напряжение между разъёмом С16 и В13 соединительного зажима коробки передач.
Соответствует ли сопротивление указанным пределам?
11-14В
Перейти к Шагу 5
Перейти к "Высокое или низкое напряжение бортовой цепи"
5
Заменить контроллер КПП.
Действие завершено?
-
Перейти к Шагу 8
-
6
  1. После ремонта следует выполнить функцию "clear info" диагностического прибора и дорожное испытание.
  2. См. ""DTC info"".
Был ли сбой при последнем тесте или на дисплее показывается текущий код неисправности?
-
Заменить коробку передач в сборе
Ремонт подтверждён Выйти из таблицы неисправностей

U4A15A11
Показать иллюстрациюПеревод текста в иллюстрациях


ДИАГНОСТИЧЕСКИЙ КОД НЕИСПРАВНОСТИ p1839 eds 3 ЗАМЫКАНИЕ ВЫХОДА НА МАССУ

Описание схемы

Клапан давления (клапан EDS 3,4,5,6) представляет собой прецизионный электронный регулятор давления, управляющий работой всех муфт, тормозов, блокировочной муфты.
Клапан уменьшает давление в системе, которое подаётся на электромагнитный клапан нагнетательного потока и электрические клапаны регулировки давления. В результате можно использовать меньшие электромагнитные клапаны. EDS требует постоянного входного давления.

Условия записи диагностического кода неисправности

Действия при занесении кода неисправности

Условия удаления индикации mil/ диагностического кода неисправности

Рекомендации по диагностике

dtc p1839 - eds 3 Замыкание выхода на массу

ШагОперацияЗначенияДаНет
1
Выполнить проверку системы бортовой диагностики.
Проверка произведена?
-
Перейти к Шагу 2
Перейти к "Проверка систему бортовой диагностики"
2
  1. Установить диагностический прибор.
  2. Включить зажигание при выключенном двигателе.
  3. Выбрать "Actuating" на диагностическом приборе.
  4. Активизировать включение/ выключение eds 3.
Меняется ли включение/ выключение eds3?
вкл/выкл
Перейти к "Рекомендации по диагностике"
Перейти к Шагу 3
3
  1. Повернуть ключ зажигания в положение "LOCK" (блокировки).
  2. Отсоединить соединительный зажим коробки передач.
  3. Измерить сопротивление между разъёмами 5 и 6 соединительного зажима коробки передач.
Соответствует ли сопротивление указанным пределам?
tft 25°c 6Ом
Перейти к Шагу 7
Перейти к Шагу 4
4
  1. Снять масляный поддон.
  2. Отсоединить соединительный зажим eds 3.
  3. Измерить сопротивление между разъёмами 2 eds 3 и заземлением.
  4. Измерить сопротивление между разъёмами 1 eds 3 и заземлением.
Соответствует ли сопротивление указанным пределам?
-
Перейти к Шагу 6
Перейти к Шагу 5
5
Устранить замыкание внутренней линии (eds 3) на массу.
Ремонт закончен?
-
Система в норме
-
6
Заменить eds 3.
Замена завершена?
-
Система в норме
-
7
  1. Отсоединить соединительный зажим коробки переключения передачи соединитель контроллера КПП.
  2. Измерить сопротивление между разъёмами 5 соединительного зажима коробки передач и заземлением.
  3. Измерить сопротивление между разъёмами 6 соединительного зажима коробки передач и заземлением.
Соответствует ли сопротивление указанным пределам?
Перейти к Шагу 9
Перейти к Шагу 8
8
Устранить замыкание на массу жгута проводов КПП.
Ремонт закончен?
-
Система в норме
-
9
Заменить контроллер КПП.
Замена завершена?
-
Перейти к Шагу 10
-
10
  1. После ремонта следует выполнить функцию "clear info" диагностического прибора и дорожные испытания.
  2. См. "Информация DTC".
Был ли сбой при последнем тесте или на дисплее показывается текущий код неисправности?
-
Начать диагностику заново
Ремонт подтверждён Выйти из таблицы неисправностей

U4A15A11
Показать иллюстрациюПеревод текста в иллюстрациях


ДИАГНОСТИЧЕСКИЙ КОД НЕИСПРАВНОСТИ p1840 eds 3 ЗАМЫКАНИЕ ВЫХОДА НА АККУМУЛЯТОРНУЮ БАТАРЕЮ

Описание схемы

Клапан давления (клапан EDS 3,4,5,6) представляет собой прецизионный электронный регулятор давления, управляющий работой всех муфт, тормозов, блокировочной муфты.
Клапан уменьшает давление в системе, которое подаётся на электромагнитный клапан нагнетательного потока и электрические клапаны регулировки давления. В результате можно использовать меньшие электромагнитные клапаны. EDS требует постоянного входного давления.

Условия записи диагностического кода неисправности

Действия при занесении кода неисправности

Условия удаления индикации mil/ диагностического кода неисправности

Рекомендации по диагностике

dtc p1840 - eds 3 Замыкание выхода на аккумуляторную батарею

ШагОперацияЗначенияДаНет
1
Выполнить проверку системы бортовой диагностики.
Проверка произведена?
-
Перейти к Шагу 2
Перейти к "Проверка систему бортовой диагностики"
2
  1. Установить диагностический прибор.
  2. Включить зажигание при выключенном двигателе.
  3. Выбрать "Actuating" на диагностическом приборе.
  4. Активизировать включение/ выключение eds 3.
Меняется ли включение/ выключение eds3?
вкл/выкл
Перейти к "Рекомендации по диагностике"
Перейти к Шагу 3
3
  1. Снять масляный поддон.
  2. Отсоединить соединительный зажим eds 3.
  3. Включить зажигание при выключенном двигателе.
  4. Измерить напряжение разъёма 2 соединительного зажима eds3.
Соответствует ли сопротивление указанным пределам?
11-14В
Перейти к Шагу 4
Перейти к Шагу 5
4
Устранить замыкание внутренней линии (eds 3) на массу.
Ремонт закончен?
-
Система в норме
-
5
Заменить eds 3.
Замена завершена?
-
Перейти к Шагу 6
-
6
  1. Проверить наличие кодов неисправности.
  2. Выявлены ли коды неисправностей, которые ещё не диагностировались?
-
Перейти к "Применяемая таблица кодов неисправностей"
Система в норме

U4A15A11
Показать иллюстрациюПеревод текста в иллюстрациях


ДИАГНОСТИЧЕСКИЙ КОД НЕИСПРАВНОСТИ p1841 eds 3 ОБРЫВ ЦЕПИ ВЫХОДА

Описание схемы

Клапан давления (клапан EDS 3,4,5,6) представляет собой прецизионный электронный регулятор давления, управляющий работой всех муфт, тормозов, блокировочной муфты.
Клапан уменьшает давление в системе, которое подаётся на электромагнитный клапан нагнетательного потока и электрические клапаны регулировки давления. В результате можно использовать меньшие электромагнитные клапаны. EDS требует постоянного входного давления.

Условия записи диагностического кода неисправности

Действия при занесении кода неисправности

Условия удаления индикации mil/ диагностического кода неисправности

Рекомендации по диагностике

dtc p1841 - Обрыв выхода eds 3

ШагОперацияЗначенияДаНет
1
Выполнить проверку системы бортовой диагностики.
Проверка произведена?
-
Перейти к Шагу 2
Перейти к "Проверка систему бортовой диагностики"
2
  1. Установить диагностический прибор.
  2. Включить зажигание при выключенном двигателе.
  3. Выбрать "Actuating" на диагностическом приборе.
  4. Активизировать включение/ выключение eds 3.
Меняется ли включение/ выключение eds3?
вкл/выкл
Перейти к "Рекомендации по диагностике"
Перейти к Шагу 3
3
  1. Повернуть ключ зажигания в положение "LOCK" (блокировки).
  2. Отсоединить соединительный зажим коробки передач.
  3. Измерить сопротивление между разъёмами 5 и 6 соединительного зажима коробки передач.
Соответствует ли сопротивление указанным пределам?
tft 25°c 6Ом
Перейти к Шагу 7
Перейти к Шагу 4
4
  1. Снять масляный поддон.
  2. Отсоединить соединительный зажим eds 3.
  3. Измерить сопротивление между разъёмом 2 eds 3 и разъёмом 5 соединительного жгута коробки передач.
  4. Измерить сопротивление между разъёмом 1 eds 3 и разъёмом 6 соединительного жгута коробки передач.
Соответствует ли сопротивление указанным пределам?
0Ом
Перейти к Шагу 6
Перейти к Шагу 5
5
  1. Устранить разрыв цепи (между разъёмом 2 и разъёмом 5).
  2. Устранить разрыв цепи (между разъёмом 1 и разъёмом 6).
Ремонт закончен?
-
Система в норме
-
6
Заменить eds 3.
Замена завершена?
-
Система в норме
-
7
  1. Отсоединить соединительный зажим коробки переключения передачи соединитель контроллера КПП.
  2. Измерить сопротивление между разъёмом 5 соединительного зажима коробки передач и разъёмом С7 соединительного зажима контроллера КПП.
  3. Измерить сопротивление между разъёмом 6 соединительного зажима коробки передач и разъёмом А11 соединительного зажима контроллера КПП.
Соответствует ли сопротивление указанным пределам?
0Ом
Перейти к Шагу 9
Перейти к Шагу 8
8
Устранить разрыв цепи жгута проводов коробки передач.
Ремонт закончен?
-
Система в норме
-
9
Заменить контроллер КПП.
Замена завершена?
-
Перейти к Шагу 10
-
10
  1. После ремонта следует выполнить функцию "clear info" диагностического прибора и дорожное испытание.
  2. См. ""DTC info"".
Был ли сбой при последнем тесте или на дисплее показывается текущий код неисправности?
-
Начать диагностику заново
Ремонт подтверждён Выйти из таблицы неисправностей

UAA5A400
Показать иллюстрациюПеревод текста в иллюстрациях


ДИАГНОСТИЧЕСКИЙ КОД НЕИСПРАВНОСТИ p1850 ЗАМЫКАНИЕ ВЫХОДА СОЛЕНОИДА 1 НА МАССУ

Описание схемы

Переключающие соленоиды - это два идентичных, нормально открытых электронных выпускных клапана, контролирующих включение повышающей и понижающей передачи переднего хода. Эти соленоиды работают совместно в комбинации включение/выключение и изменяют давление в линиях гидропривода механизма переключения (муфты и тормоза).
Соленоид 1 контролирует высокое и низкое давление в трубопроводе (поток к каждому клапану муфты) операцией включения/выключения, т.е. если соленоид 1 включен, давление в трубопроводе низкое (6~8 бар), если соленоид 1 выключен, давление в трубопроводе высокое (16~18 бар). Соленоид 2 управляет потоком масла на клапан муфты E или блокировочной муфты сигналом включения/выключения.
Контроллер КПП отслеживает состояние нескольких входных сигналов и включает или выключает электромагнитные клапаны и выбирает передачи в соответствии с режимом движения автомобиля.

Условия записи диагностического кода неисправности

Действия при занесении кода неисправности

Условия удаления индикации mil/ диагностического кода неисправности

Рекомендации по диагностике

dtc p1850 - Замыкание выхода соленоида 1 на массу

ШагОперацияЗначенияДаНет
1
Выполнить проверку системы бортовой диагностики.
Проверка произведена?
-
Перейти к Шагу 2
Перейти к "Проверка систему бортовой диагностики"
2
  1. Установить диагностический прибор.
  2. Включить зажигание при выключенном двигателе.
  3. Записать стареть коды неисправности.
  4. Выбрать "Actuating" на диагностическом приборе.
  5. Активизировать включение/ выключение соленоида.
Соленоид 1 изменяется на ВКЛ.?
вкл/выкл
Перейти к "Рекомендации по диагностике"
Перейти к Шагу 3
3
  1. Повернуть ключ зажигания в положение "LOCK" (блокировки).
  2. Отсоединить соединительный зажим коробки передач.
  3. Измерить сопротивление между разъёмами 3 и 12 соединительного зажима коробки передач.
Соответствует ли сопротивление указанным пределам?
tft 25°c 26-34.5Ом
Перейти к Шагу 7
Перейти к Шагу 4
4
  1. Снять масляный поддон.
  2. Отсоединить соединительный зажим соленоида 1.
  3. Измерить сопротивление между разъёмом 2 соленоида 1 и заземлением.
  4. Измерить сопротивление между разъёмом 1 соленоида 1 и заземлением.
Соответствует ли сопротивление указанным пределам?
Перейти к Шагу 6
Перейти к Шагу 5
5
Устранить заземление внутренней линии (соленоид 1).
Ремонт закончен?
-
Система в норме
-
6
Заменить соленоид 1.
Замена завершена?
-
Система в норме
-
7
  1. Отсоединить соединительный зажим коробки переключения передачи соединитель контроллера КПП.
  2. Измерить сопротивление между разъёмами 3 соединительного зажима коробки передач и заземлением.
  3. Измерить сопротивление между разъёмами 12 соединительного зажима коробки передач и заземлением.
Соответствует ли сопротивление указанным пределам?
Перейти к Шагу 9
Перейти к Шагу 8
8
Устранить заземление жгута провода коробки передач.
Ремонт закончен?
-
Система в норме
-
9
Заменить контроллер КПП.
Замена завершена?
-
Перейти к Шагу 10
-
10
  1. После ремонта следует выполнить функцию "clear info" диагностического прибора и дорожные испытания.
  2. См. ""DTC info"".
  3. Был ли сбой при последнем тесте или на дисплее показывается текущий код неисправности?
-
Начать диагностику заново
Ремонт подтверждён Выйти из таблицы неисправностей

UAA5A400
Показать иллюстрациюПеревод текста в иллюстрациях


ДИАГНОСТИЧЕСКИЙ КОД НЕИСПРАВНОСТИ p1851 ЗАМЫКАНИЕ ВЫХОДА СОЛЕНОИДА 1 НА АККУМУЛЯТОРНУЮ БАТАРЕЮ

Описание схемы

Переключающие соленоиды - это два идентичных, нормально открытых электронных выпускных клапана, контролирующих включение повышающей и понижающей передачи переднего хода. Эти соленоиды работают совместно в комбинации включение/выключение и изменяют давление в линиях гидропривода механизма переключения (фрикционных муфт и тормозов).
Соленоид 1 контролирует высокое и низкое давление в трубопроводе (поток к каждому клапану муфты) операцией включения/выключения, т.е. если соленоид 1 включен, давление в трубопроводе низкое (6~8 бар), если соленоид 1 выключен, давление в трубопроводе высокое (16~18 бар). Соленоид 2 управляет потоком масла на клапан муфты E или блокировочной муфты сигналом включения/выключения.
Контроллер КПП отслеживает состояние нескольких входных сигналов и включает или выключает электромагнитные клапаны и выбирает передачи в соответствии с режимом движения автомобиля.

Условия записи диагностического кода неисправности

Действия при занесении кода неисправности

Условия удаления индикации mil/ диагностического кода неисправности

Рекомендации по диагностике

dtc p1851 - Замыкание выхода соленоида 1 на аккумуляторную батарею

ШагОперацияЗначенияДаНет
1
Выполнить проверку системы бортовой диагностики.
Проверка произведена?
-
Перейти к Шагу 2
Перейти к "Проверка систему бортовой диагностики"
2
  1. Установить диагностический прибор.
  2. Включить зажигание при выключенном двигателе.
  3. Выбрать "Actuating" на диагностическом приборе.
  4. Активизировать включение/ выключение соленоида 1.
Соленоид 1 изменяется на ВКЛ.?
вкл/выкл
Перейти к "Рекомендации по диагностике"
Перейти к Шагу 3
3
  1. Снять масляный поддон.
  2. Отсоединить соединительный зажим соленоида 1.
  3. Включить зажигание при выключенном двигателе.
  4. Измерить напряжение разъёма 1 соединительного зажима соленоида 1.
Соответствует ли сопротивление указанным пределам?
11-14В
Перейти к Шагу 4
Перейти к Шагу 5
4
Устранить замыкание внутренней линии (соленоид 1) на аккумуляторную батарею.
Ремонт закончен?
-
Система в норме
-
5
Заменить соленоид 1.
Замена завершена?
-
Перейти к Шагу 6
-
6
  1. Проверить наличие кодов неисправности.
  2. Выявлены ли коды неисправностей, которые ещё не диагностировались?
-
Перейти к "Применяемая таблица кодов неисправностей"
Система в норме

UAA5A400
Показать иллюстрациюПеревод текста в иллюстрациях


ДИАГНОСТИЧЕСКИЙ КОД НЕИСПРАВНОСТИ p1852 ОБРЫВ ЦЕПИ ВЫХОДА СОЛЕНОИДА 1

Описание схемы

Переключающие соленоиды - это два идентичных, нормально открытых электронных выпускных клапана, контролирующих включение повышающей и понижающей передачи переднего хода. Эти соленоиды работают совместно в комбинации включение/выключение и изменяют давление в линиях гидропривода механизма переключения (фрикционных муфт и тормозов).
Соленоид 1 контролирует высокое и низкое давление в трубопроводе (поток к каждому клапану муфты) операцией включения/выключения, т.е. если соленоид 1 включен, давление в трубопроводе низкое (6~8 бар), если соленоид 1 выключен, давление в трубопроводе высокое (16~18 бар). Соленоид 2 управляет потоком масла на клапан муфты E или блокировочной муфты сигналом включения/выключения.
Контроллер КПП отслеживает состояние нескольких входных сигналов и включает или выключает электромагнитные клапаны и выбирает передачи в соответствии с режимом движения автомобиля.

Условия записи диагностического кода неисправности

Действия при занесении кода неисправности

Условия удаления индикации mil/ диагностического кода неисправности

Рекомендации по диагностике

dtc p1852 - Обрыв выхода соленоида 1

ШагОперацияЗначенияДаНет
1
Выполнить проверку системы бортовой диагностики.
Проверка произведена?
-
Перейти к Шагу 2
Перейти к "Проверка систему бортовой диагностики"
2
  1. Установить диагностический прибор.
  2. Включить зажигание при выключенном двигателе.
  3. Выбрать "Actuating" на диагностическом приборе.
  4. Активизировать включение/ выключение соленоида 1.
Соленоид 1 изменяется на ВКЛ.?
вкл/выкл
Перейти к "Рекомендации по диагностике"
Перейти к Шагу 3
3
  1. Повернуть ключ зажигания в положение "LOCK" (блокировки).
  2. Отсоединить соединительный зажим коробки передач.
  3. Измерить сопротивление между разъёмами 3 и 12 соединительного зажима коробки передач.
Соответствует ли сопротивление указанным пределам?
tft 25°c 6Ом
Перейти к Шагу 7
Перейти к Шагу 4
4
  1. Снять масляный поддон.
  2. Отсоединить соединительный зажим соленоида 1.
  3. Измерить сопротивление между разъёмом 1 соленоида 1 и разъёмом 12 соединительного жгута коробки передач 4.
  4. Измерить сопротивление между разъёмом 2 соленоида 1 и разъёмом 3 соединительного жгута коробки передач.
Соответствует ли сопротивление указанным пределам?
0Ом
Перейти к Шагу 6
Перейти к Шагу 5
5
  1. Устранить разрыв линии (между разъёмом 1 и разъёмом 12).
  2. Устранить разрыв линии (между разъёмом 2 и разъёмом 3).
Ремонт закончен?
-
Система в норме
-
6
Заменить соленоид 1.
Замена завершена?
-
Система в норме
-
7
  1. Отсоединить соединительный зажим коробки переключения передачи соединитель контроллера КПП.
  2. Измерить сопротивление между разъёмом 3 соединительного зажима коробки передач и разъёмом С7 соединительного зажима контроллера КПП.
  3. Измерить сопротивление между разъёмом 12 соединительного зажима коробки передач и разъёмом А9 соединительного зажима контроллера КПП.
Соответствует ли сопротивление указанным пределам?
0Ом
Перейти к Шагу 9
Перейти к Шагу 8
8
Устранить разрыв цепи жгута проводов коробки передач.
Ремонт закончен?
-
Система в норме
-
9
Заменить контроллер КПП.
Замена завершена?
-
Перейти к Шагу 10
-
10
  1. После ремонта следует выполнить функцию "clear info" диагностического прибора и дорожное испытание.
  2. См. ""DTC info"".
Был ли сбой при последнем тесте или на дисплее показывается текущий код неисправности?
-
Начать диагностику заново
Ремонт подтверждён Выйти из таблицы неисправностей

UAA5A400
Показать иллюстрациюПеревод текста в иллюстрациях


ДИАГНОСТИЧЕСКИЙ КОД НЕИСПРАВНОСТИ p1853 ЗАМЫКАНИЕ ВЫХОДА СОЛЕНОИДА 2 НА МАССУ

Описание схемы

Переключающие соленоиды - это два идентичных, нормально открытых электронных выпускных клапана, контролирующих включение повышающей и понижающей передачи переднего хода. Эти соленоиды работают совместно в комбинации включение/выключение и изменяют давление в линиях гидропривода механизма переключения (муфты и тормоза).
Соленоид 2 контролирует высокое и низкое давление в трубопроводе (поток к каждому клапану муфты) операцией включения/выключения, т.е. если соленоид 2 включен, давление в трубопроводе низкое (6~8 бар), если соленоид 2 выключен, давление в трубопроводе высокое (16~18 бар). Соленоид 2 управляет потоком масла на клапан муфты E или блокировочной муфты сигналом включения/выключения.
Контроллер КПП отслеживает состояние нескольких входных сигналов и включает или выключает электромагнитные клапаны и выбирает передачи в соответствии с режимом движения автомобиля.

Условия записи диагностического кода неисправности

Действия при занесении кода неисправности

Условия удаления индикации mil/ диагностического кода неисправности

Рекомендации по диагностике

dtc p1853 - Замыкание выхода соленоида 2 на массу

ШагОперацияЗначенияДаНет
1
Выполнить проверку системы бортовой диагностики.
Проверка произведена?
-
Перейти к Шагу 2
Перейти к "Проверка систему бортовой диагностики"
2
  1. Установить диагностический прибор.
  2. Включить зажигание при выключенном двигателе.
  3. Записать стареть коды неисправности.
  4. Выбрать "Actuating" на диагностическом приборе.
  5. Активизировать включение/ выключение соленоида.
Соленоид 2 изменяется на ВКЛ.?
вкл/выкл
Перейти к "Рекомендации по диагностике"
Перейти к Шагу 3
3
  1. Повернуть ключ зажигания в положение "LOCK" (блокировки).
  2. Отсоединить соединительный зажим коробки передач.
  3. Измерить сопротивление между разъёмами 3 и 12 соединительного зажима коробки передач.
Соответствует ли сопротивление указанным пределам?
tft 25°c 26-34.5Ом
Перейти к Шагу 7
Перейти к Шагу 4
4
  1. Снять масляный поддон.
  2. Отсоединить соединительный зажим соленоида 2.
  3. Измерить сопротивление между разъёмом 2 соленоида 2 и заземлением.
  4. Измерить сопротивление между разъёмом 1 соленоида 2 и заземлением.
Соответствует ли сопротивление указанным пределам?
Перейти к Шагу 6
Перейти к Шагу 5
5
Устранить заземление внутренней линии (соленоид 2).
Ремонт закончен?
-
Система в норме
-
6
Заменить соленоид 2.
Замена завершена?
-
Система в норме
-
7
  1. Отсоединить соединительный зажим коробки переключения передачи соединитель контроллера КПП.
  2. Измерить сопротивление между разъёмами 3 соединительного зажима коробки передач и заземлением.
  3. Измерить сопротивление между разъёмами 13 соединительного зажима коробки передач и заземлением.
Соответствует ли сопротивление указанным пределам?
Перейти к Шагу 9
Перейти к Шагу 8
8
Устранить заземление жгута провода коробки передач.
Ремонт закончен?
-
Система в норме
-
9
Заменить контроллер КПП.
Замена завершена?
-
Перейти к Шагу 10
-
10
  1. После ремонта следует выполнить функцию "clear info" диагностического прибора и дорожные испытания.
  2. См. ""DTC info"".
  3. Был ли сбой при последнем тесте или на дисплее показывается текущий код неисправности?
-
Начать диагностику заново
Ремонт подтверждён Выйти из таблицы неисправностей

UAA5A400
Показать иллюстрациюПеревод текста в иллюстрациях


ДИАГНОСТИЧЕСКИЙ КОД НЕИСПРАВНОСТИ p1854 ЗАМЫКАНИЕ ВЫХОДА СОЛЕНОИДА 2 НА АККУМУЛЯТОРНУЮ БАТАРЕЮ

Описание схемы

Переключающие соленоиды - это два идентичных, нормально открытых электронных выпускных клапана, контролирующих включение повышающей и понижающей передачи переднего хода. Эти соленоиды работают совместно в комбинации включение/выключение и изменяют давление в линиях гидропривода механизма переключения (муфты и тормоза).
Соленоид 2 контролирует высокое и низкое давление в трубопроводе (поток к каждому клапану муфты) операцией включения/выключения, т.е. если соленоид 2 включен, давление в трубопроводе низкое (6~8 бар), если соленоид 2 выключен, давление в трубопроводе высокое (16~18 бар). Соленоид 2 управляет потоком масла на клапан муфты E или блокировочной муфты сигналом включения/выключения.
Контроллер КПП отслеживает состояние нескольких входных сигналов и включает или выключает электромагнитные клапаны и выбирает передачи в соответствии с режимом движения автомобиля

Условия записи диагностического кода неисправности

Действия при занесении кода неисправности

Условия удаления индикации mil/ диагностического кода неисправности

Рекомендации по диагностике

dtc p1854 - Замыкание выхода соленоида 2 на аккумуляторную батарею

ШагОперацияЗначенияДаНет
1
Выполнить проверку системы бортовой диагностики.
Проверка произведена?
-
Перейти к Шагу 2
Перейти к "Проверка систему бортовой диагностики"
2
  1. Установить диагностический прибор.
  2. Включить зажигание при выключенном двигателе.
  3. Выбрать "Actuating" на диагностическом приборе.
  4. Активизировать включение/ выключение соленоида 2.
Соленоид 2 изменяется на ВКЛ.?
вкл/выкл
Перейти к "Рекомендации по диагностике"
Перейти к Шагу 3
3
  1. Снять масляный поддон.
  2. Отсоединить соединительный зажим соленоида 2.
  3. Включить зажигание при выключенном двигателе.
  4. Измерить напряжение разъёма 1 соединительного зажима соленоида 2.
Соответствует ли сопротивление указанным пределам?
11-14В
Перейти к Шагу 4
Перейти к Шагу 5
4
Устранить замыкание внутренней линии (соленоид 2) на аккумуляторную батарею.
Ремонт закончен?
-
Система в норме
-
5
Заменить соленоид 2.
Замена завершена?
-
Перейти к Шагу 6
-
6
  1. Проверить наличие кодов неисправности.
  2. Выявлены ли коды неисправностей, которые ещё не диагностировались?
-
Перейти к "Применяемая таблица кодов неисправностей"
Система в норме

UAA5A400
Показать иллюстрациюПеревод текста в иллюстрациях


ДИАГНОСТИЧЕСКИЙ КОД НЕИСПРАВНОСТИ p1855 ОБРЫВ ЦЕПИ ВЫХОДА СОЛЕНОИДА 2

Описание схемы

Переключающие соленоиды - это два идентичных, нормально открытых электронных выпускных клапана, контролирующих включение повышающей и понижающей передачи переднего хода. Эти соленоиды работают совместно в комбинации включение/выключение и изменяют давление в линиях гидропривода механизма переключения (муфты и тормоза).
Соленоид 2 контролирует высокое и низкое давление в трубопроводе (поток к каждому клапану муфты) операцией включения/выключения, т.е. если соленоид 2 включен, давление в трубопроводе низкое (6~8 бар), если соленоид 2 выключен, давление в трубопроводе высокое (16~18 бар). Соленоид 2 управляет потоком масла на клапан муфты E или блокировочной муфты сигналом включения/выключения.
Контроллер КПП отслеживает состояние нескольких входных сигналов и включает или выключает электромагнитные клапаны и выбирает передачи в соответствии с режимом движения автомобиля.

Условия записи диагностического кода неисправности

Действия при занесении кода неисправности

Условия удаления индикации mil/ диагностического кода неисправности

Рекомендации по диагностике

dtc p1855 - Обрыв выхода соленоида 2

ШагОперацияЗначенияДаНет
1
Выполнить проверку системы бортовой диагностики.
Проверка произведена?
-
Перейти к Шагу 2
Перейти к "Проверка систему бортовой диагностики"
2
  1. Установить диагностический прибор.
  2. Включить зажигание при выключенном двигателе.
  3. Выбрать "Actuating" на диагностическом приборе.
  4. Активизировать включение/ выключение соленоида 2.
Соленоид 2 изменяется на ВКЛ.?
вкл/выкл
Перейти к "Рекомендации по диагностике"
Перейти к Шагу 3
3
  1. Повернуть ключ зажигания в положение "LOCK" (блокировки).
  2. Отсоединить соединительный зажим коробки передач.
  3. Измерить сопротивление между разъёмами 3 и 12 соединительного зажима коробки передач.
Соответствует ли сопротивление указанным пределам?
tft 25°c 6Ом
Перейти к Шагу 7
Перейти к Шагу 4
4
  1. Снять масляный поддон.
  2. Отсоединить соединительный зажим соленоида 2.
  3. Измерить сопротивление между разъёмом 1 соленоида 2 и разъёмом 13 соединительного жгута коробки передач.
  4. Измерить сопротивление между разъёмом 2 соленоида 2 и разъёмом 3 соединительного жгута коробки передач.
Соответствует ли сопротивление указанным пределам?
0Ом
Перейти к Шагу 6
Перейти к Шагу 5
5
  1. Устранить разрыв линии (между разъёмом 1 и разъёмом 13).
  2. Устранить разрыв линии (между разъёмом 2 и разъёмом 3).
Ремонт закончен?
-
Система в норме
-
6
Заменить соленоид 2.
Замена завершена?
-
Система в норме
-
7
  1. Отсоединить соединительный зажим коробки переключения передачи соединитель контроллера КПП.
  2. Измерить сопротивление между разъёмом 3 соединительного зажима коробки передач и разъёмом С7 соединительного зажима контроллера КПП.
  3. Измерить сопротивление между разъёмом 13 соединительного зажима коробки передач и разъёмом А9 соединительного зажима контроллера КПП.
Соответствует ли сопротивление указанным пределам?
0Ом
Перейти к Шагу 9
Перейти к Шагу 8
8
Устранить разрыв цепи жгута проводов коробки передач.
Ремонт закончен?
-
Система в норме
-
9
Заменить контроллер КПП.
Замена завершена?
-
Перейти к Шагу 10
-
10
  1. После ремонта следует выполнить функцию "clear info" диагностического прибора и дорожное испытание.
  2. См. ""DTC info"".
Был ли сбой при последнем тесте или на дисплее показывается текущий код неисправности?
-
Начать диагностику заново
Ремонт подтверждён Выйти из таблицы неисправностей

U4A15A11
Показать иллюстрациюПеревод текста в иллюстрациях


ДИАГНОСТИЧЕСКИЙ КОД НЕИСПРАВНОСТИ p1861 eds 4 ЗАМЫКАНИЕ ВЫХОДА НА МАССУ

Описание схемы

Клапан давления (клапан EDS 3,4,5,6) представляет собой прецизионный электронный регулятор давления, управляющий работой всех муфт, тормозов, блокировочной муфты.
Клапан уменьшает давление в системе, которое подаётся на электромагнитный клапан нагнетательного потока и электрические клапаны регулировки давления. В результате можно использовать меньшие электромагнитные клапаны. EDS требует постоянного входного давления.

Условия записи диагностического кода неисправности

Действия при занесении кода неисправности

Условия удаления индикации mil/ диагностического кода неисправности

Рекомендации по диагностике

dtc p1861 - eds 4 Замыкание выхода на массу

ШагОперацияЗначенияДаНет
1
Выполнить проверку системы бортовой диагностики.
Проверка произведена?
-
Перейти к Шагу 2
Перейти к "Проверка систему бортовой диагностики"
2
  1. Установить диагностический прибор.
  2. Включить зажигание при выключенном двигателе.
  3. Выбрать "Actuating" на диагностическом приборе.
  4. Активизировать включение/ выключение eds 4.
Меняется ли включение/ выключение eds4?
вкл/выкл
Перейти к "Рекомендации по диагностике"
Перейти к Шагу 3
3
  1. Повернуть ключ зажигания в положение "LOCK" (блокировки).
  2. Отсоединить соединительный зажим коробки передач.
  3. Измерить сопротивление между разъёмами 5 и 7 соединительного зажима коробки передач.
Соответствует ли сопротивление указанным пределам?
tft 25°c 6Ом
Перейти к Шагу 7
Перейти к Шагу 4
4
  1. Снять масляный поддон.
  2. Отсоединить соединительный зажим eds 4.
  3. Измерить сопротивление между разъёмами 2 eds 4 и заземлением.
  4. Измерить сопротивление между разъёмами 1 eds 4 и заземлением.
Соответствует ли сопротивление указанным пределам?
Перейти к Шагу 6
Перейти к Шагу 5
5
Устранить замыкание внутренней линии (eds 4) на массу.
Ремонт закончен?
-
Система в норме
-
6
Заменить eds 4.
Замена завершена?
-
Система в норме
-
7
  1. Отсоединить соединительный зажим коробки переключения передачи соединитель контроллера КПП.
  2. Измерить сопротивление между разъёмами 5 соединительного зажима коробки передач и заземлением.
  3. Измерить сопротивление между разъёмами 7 соединительного зажима коробки передач и заземлением.
Соответствует ли сопротивление указанным пределам?
Перейти к Шагу 9
Перейти к Шагу 8
8
Устранить заземление жгута провода коробки передач.
Ремонт закончен?
-
Система в норме
-
9
Заменить контроллер КПП.
Замена завершена?
-
Перейти к Шагу 10
-
10
  1. После ремонта следует выполнить функцию "clear info" диагностического прибора и дорожное испытание.
  2. См. ""DTC info"".
Был ли сбой при последнем тесте или на дисплее показывается текущий код неисправности?
-
Начать диагностику заново
Ремонт подтверждён Выйти из таблицы неисправностей

U4A15A11
Показать иллюстрациюПеревод текста в иллюстрациях


ДИАГНОСТИЧЕСКИЙ КОД НЕИСПРАВНОСТИ p1862 eds 4 ЗАМЫКАНИЕ ВЫХОДА НА АККУМУЛЯТОРНУЮ БАТАРЕЮ

Описание схемы

Клапан давления (клапан EDS 3,4,5,6) представляет собой прецизионный электронный регулятор давления, управляющий работой всех муфт, тормозов, блокировочной муфты.
Клапан уменьшает давление в системе, которое подаётся на электромагнитный клапан нагнетательного потока и электрические клапаны регулировки давления. В результате можно использовать меньшие электромагнитные клапаны. EDS требует постоянного входного давления.

Условия записи диагностического кода неисправности

Действия при занесении кода неисправности

Условия удаления индикации mil/ диагностического кода неисправности

Рекомендации по диагностике

dtc p1862 - eds4 Замыкание выхода на аккумуляторную батарею

ШагОперацияЗначенияДаНет
1
Выполнить проверку системы бортовой диагностики.
Проверка произведена?
-
Перейти к Шагу 2
Перейти к "Проверка систему бортовой диагностики"
2
  1. Установить диагностический прибор.
  2. Включить зажигание при выключенном двигателе.
  3. Выбрать "Actuating" на диагностическом приборе.
  4. Активизировать включение/ выключение eds 4.
Меняется ли включение/ выключение eds4?
вкл/выкл
Перейти к "Рекомендации по диагностике"
Перейти к Шагу 3
3
  1. Снять масляный поддон.
  2. Отсоединить соединительный зажим eds 4.
  3. Включить зажигание при выключенном двигателе.
  4. Измерить напряжение разъёма 1 соединительного зажима eds 4.
Соответствует ли сопротивление указанным пределам?
11-14В
Перейти к Шагу 4
Перейти к Шагу 5
4
Устранить замыкание внутренней линии (eds 4) на аккумуляторную батарею.
Ремонт закончен?
-
Система в норме
-
5
Заменить eds 4.
Замена завершена?
-
Перейти к Шагу 6
-
6
  1. Проверить наличие кодов неисправности.
  2. Выявлены ли коды неисправностей, которые ещё не диагностировались?
-
Перейти к "Применяемая таблица кодов неисправностей"
Система в норме

U4A15A11
Показать иллюстрациюПеревод текста в иллюстрациях


ДИАГНОСТИЧЕСКИЙ КОД НЕИСПРАВНОСТИ p1863 eds 4 ОБРЫВ ЦЕПИ ВЫХОДА

Описание схемы

Клапан давления (клапан EDS 3,4,5,6) представляет собой прецизионный электронный регулятор давления, управляющий работой всех муфт, тормозов, блокировочной муфты.
Клапан уменьшает давление в системе, которое подаётся на электромагнитный клапан нагнетательного потока и электрические клапаны регулировки давления. В результате можно использовать меньшие электромагнитные клапаны. EDS требует постоянного входного давления.

Условия записи диагностического кода неисправности

Действия при занесении кода неисправности

Условия удаления индикации mil/ диагностического кода неисправности

Рекомендации по диагностике

dtc p1863 - Обрыв выхода eds 4

ШагОперацияЗначенияДаНет
1
Выполнить проверку системы бортовой диагностики.
Проверка произведена?
-
Перейти к Шагу 2
Перейти к "Проверка систему бортовой диагностики"
2
  1. Установить диагностический прибор.
  2. Включить зажигание при выключенном двигателе.
  3. Выбрать "Actuating" на диагностическом приборе.
  4. Активизировать включение/ выключение eds 4.
Меняется ли включение/ выключение eds4?
вкл/выкл
Перейти к "Рекомендации по диагностике"
Перейти к Шагу 3
3
  1. Повернуть ключ зажигания в положение "LOCK" (блокировки).
  2. Отсоединить соединительный зажим коробки передач.
  3. Измерить сопротивление между разъёмами 5 и 7 соединительного зажима коробки передач.
Соответствует ли сопротивление указанным пределам?
tft 25°c 6Ом
Перейти к Шагу 7
Перейти к Шагу 4
4
  1. Снять масляный поддон.
  2. Отсоединить соединительный зажим eds 4.
  3. Измерить сопротивление между разъёмом 2 eds 4 и разъёмом 5 соединительного жгута коробки передач.
  4. Измерить сопротивление между разъёмом 1 eds 4 и разъёмом 7 соединительного жгута коробки передач.
Соответствует ли сопротивление указанным пределам?
0Ом
Перейти к Шагу 6
Перейти к Шагу 5
5
  1. Устранить разрыв цепи (между разъёмом 2 и разъёмом 5).
  2. Устранить разрыв цепи (между разъёмом 1 и разъёмом 7).
Ремонт закончен?
-
Система в норме
-
6
Заменить eds 4.
Замена завершена?
-
Система в норме
-
7
  1. Отсоединить соединительный зажим коробки переключения передачи соединитель контроллера КПП.
  2. Измерить сопротивление между разъёмом 5 соединительного зажима коробки передач и разъёмом С7 соединительного зажима контроллера КПП.
  3. Измерить сопротивление между разъёмом 7 соединительного зажима коробки передач и разъёмом А3 соединительного зажима контроллера КПП.
Соответствует ли сопротивление указанным пределам?
0Ом
Перейти к Шагу 9
Перейти к Шагу 8
8
Устранить разрыв цепи жгута проводов коробки передач.
Ремонт закончен?
-
Система в норме
-
9
Заменить контроллер КПП.
Замена завершена?
-
Перейти к Шагу 10
-
10
  1. После ремонта следует выполнить функцию "clear info" диагностического прибора и дорожное испытание.
  2. См. ""DTC info"".
Был ли сбой при последнем тесте или на дисплее показывается текущий код неисправности?
-
Начать диагностику заново
Ремонт подтверждён Выйти из таблицы неисправностей

U4A15A11
Показать иллюстрациюПеревод текста в иллюстрациях


ДИАГНОСТИЧЕСКИЙ КОД НЕИСПРАВНОСТИ p1864 eds 5 ЗАМЫКАНИЕ ВЫХОДА НА МАССУ

Описание схемы

Клапан давления (клапан EDS 3,4,5,6) представляет собой прецизионный электронный регулятор давления, управляющий работой всех муфт, тормозов, блокировочной муфты.
Клапан уменьшает давление в системе, которое подаётся на электромагнитный клапан нагнетательного потока и электрические клапаны регулировки давления. В результате можно использовать меньшие электромагнитные клапаны. EDS требует постоянного входного давления.

Условия записи диагностического кода неисправности

Действия при занесении кода неисправности

Условия удаления индикации mil/ диагностического кода неисправности

Рекомендации по диагностике

dtc p1864 - eds 5 Замыкание выхода на массу

ШагОперацияЗначенияДаНет
1
Выполнить проверку системы бортовой диагностики.
Проверка произведена?
-
Перейти к Шагу 2
Перейти к "Проверка систему бортовой диагностики"
2
  1. Установить диагностический прибор.
  2. Включить зажигание при выключенном двигателе.
  3. Выбрать "Actuating" на диагностическом приборе.
  4. Активизировать включение/ выключение eds 5.
Меняется ли включение/ выключение eds5?
вкл/выкл
Перейти к "Рекомендации по диагностике"
Перейти к Шагу 3
3
  1. Повернуть ключ зажигания в положение "LOCK" (блокировки).
  2. Отсоединить соединительный зажим коробки передач.
  3. Измерить сопротивление между разъёмами 5 и 10 соединительного зажима коробки передач.
Соответствует ли сопротивление указанным пределам?
tft 25°c 6Ом
Перейти к Шагу 7
Перейти к Шагу 4
4
  1. Снять масляный поддон.
  2. Отсоединить соединительный зажим eds 5.
  3. Измерить сопротивление между разъёмами 2 eds 5 и заземлением.
  4. Измерить сопротивление между разъёмами 1 eds 5 и заземлением.
Соответствует ли сопротивление указанным пределам?
Перейти к Шагу 6
Перейти к Шагу 5
5
Устранить замыкание внутренней линии (eds 5) на массу.
Действие завершено?
-
Система в норме
-
6
Заменить eds 5.
Действие завершено?
-
Система в норме
-
7
  1. Отсоединить соединительный зажим коробки переключения передачи соединитель контроллера КПП.
  2. Измерить сопротивление между разъёмами 5 соединительного зажима коробки передач и заземлением.
  3. Измерить сопротивление между разъёмами 10 коробки передач и заземлением.
Соответствует ли сопротивление указанным пределам?
Перейти к Шагу 9
Перейти к Шагу 8
8
Устранить заземление жгута провода коробки передач.
Действие завершено?
-
Система в норме
-
9
Заменить контроллер КПП.
Действие завершено?
-
Перейти к Шагу 10
-
10
  1. После ремонта следует выполнить функцию "clear info" диагностического прибора и дорожное испытание.
  2. См. ""DTC info"".
Был ли сбой при последнем тесте или на дисплее показывается текущий код неисправности?
-
Начать диагностику заново
Ремонт подтверждён Выйти из таблицы неисправностей

U4A15A11
Показать иллюстрациюПеревод текста в иллюстрациях


ДИАГНОСТИЧЕСКИЙ КОД НЕИСПРАВНОСТИ p1865 eds 5 ЗАМЫКАНИЕ ВЫХОДА НА АККУМУЛЯТОРНУЮ БАТАРЕЮ

Описание схемы

Клапан давления (клапан EDS 3,4,5,6) представляет собой прецизионный электронный регулятор давления, управляющий работой всех муфт, тормозов, блокировочной муфты.
Клапан уменьшает давление в системе, которое подаётся на электромагнитный клапан нагнетательного потока и электрические клапаны регулировки давления. В результате можно использовать меньшие электромагнитные клапаны. EDS требует постоянного входного давления.

Условия записи диагностического кода неисправности

Действия при занесении кода неисправности

Условия удаления индикации mil/ диагностического кода неисправности

Рекомендации по диагностике

dtc p1865 - eds 5 Замыкание выхода на аккумуляторную батарею

ШагОперацияЗначенияДаНет
1
Выполнить проверку системы бортовой диагностики.
Проверка произведена?
-
Перейти к Шагу 2
Перейти к "Проверка систему бортовой диагностики"
2
  1. Установить диагностический прибор.
  2. Включить зажигание при выключенном двигателе.
  3. Выбрать "Actuating" на диагностическом приборе.
  4. Активизировать включение/ выключение eds 5.
Меняется ли включение/ выключение eds5?
вкл/выкл
Перейти к "Рекомендации по диагностике"
Перейти к Шагу 3
3
  1. Снять масляный поддон.
  2. Отсоединить соединительный зажим eds 5.
  3. Включить зажигание при выключенном двигателе.
  4. Измерить напряжение разъёма 2 соединительного зажима eds 5.
Соответствует ли сопротивление указанным пределам?
11-14В
Перейти к Шагу 4
Перейти к Шагу 5
4
Устранить замыкание внутренней линии (eds 5) на аккумуляторную батарею.
Действие завершено?
-
Система в норме
-
5
Заменить eds 5.
Действие завершено?
-
Перейти к Шагу 6
-
6
  1. Проверить наличие кодов неисправности.
  2. Выявлены ли коды неисправностей, которые ещё не диагностировались?
-
Перейти к "Применяемая таблица кодов неисправностей"
Система в норме

U4A15A11
Показать иллюстрациюПеревод текста в иллюстрациях


ДИАГНОСТИЧЕСКИЙ КОД НЕИСПРАВНОСТИ p1866 eds 5 ОБРЫВ ЦЕПИ ВЫХОДА

Описание схемы

Клапан давления (клапан EDS 3,4,5,6) представляет собой прецизионный электронный регулятор давления, управляющий работой всех муфт, тормозов, блокировочной муфты.
Клапан уменьшает давление в системе, которое подаётся на электромагнитный клапан нагнетательного потока и электрические клапаны регулировки давления. В результате можно использовать меньшие электромагнитные клапаны. EDS требует постоянного входного давления.

Условия записи диагностического кода неисправности

Действия при занесении кода неисправности

Условия удаления индикации mil/ диагностического кода неисправности

Рекомендации по диагностике

dtc p1866 - Обрыв выхода eds 5

ШагОперацияЗначенияДаНет
1
Выполнить проверку системы бортовой диагностики.
Проверка произведена?
-
Перейти к Шагу 2
Перейти к "Проверка систему бортовой диагностики"
2
  1. Установить диагностический прибор.
  2. Включить зажигание при выключенном двигателе.
  3. Выбрать "Actuating" на диагностическом приборе.
  4. Активизировать включение/ выключение eds 5.
Меняется ли включение/ выключение eds5?
вкл/выкл
Перейти к "Рекомендации по диагностике"
Перейти к Шагу 3
3
  1. Повернуть ключ зажигания в положение "LOCK" (блокировки).
  2. Отсоединить соединительный зажим коробки передач.
  3. Измерить сопротивление между разъёмами 5 и 10 соединительного зажима коробки передач.
Соответствует ли сопротивление указанным пределам?
tft 25°c 6Ом
Перейти к Шагу 7
Перейти к Шагу 4
4
  1. Снять масляный поддон.
  2. Отсоединить соединительный зажим eds 5.
  3. Измерить сопротивление между разъёмом 2 eds 5 и разъёмом 5 соединительного жгута коробки передач.
  4. Измерить сопротивление между разъёмом 1 eds 5 и разъёмом 10 соединительного жгута коробки передач.
Соответствует ли сопротивление указанным пределам?
0Ом
Перейти к Шагу 6
Перейти к Шагу 5
5
  1. Устранить разрыв цепи (между разъёмом 2 и разъёмом 5).
  2. Устранить разрыв цепи (между разъёмом 1 и разъёмом 10).
Действие завершено?
-
Система в норме
-
6
Заменить eds 5.
Действие завершено?
-
Система в норме
-
7
  1. Отсоединить соединительный зажим коробки переключения передачи соединитель контроллера КПП.
  2. Измерить сопротивление между разъёмом 5 соединительного зажима коробки передач и разъёмом С7 соединительного зажима контроллера КПП.
  3. Измерить сопротивление между разъёмом 10 соединительного зажима коробки передач и разъёмом А10 соединительного зажима контроллера КПП.
Соответствует ли сопротивление указанным пределам?
0Ом
Перейти к Шагу 9
Перейти к Шагу 8
8
Устранить разрыв цепи жгута проводов коробки передач.
Действие завершено?
-
Система в норме
-
9
Заменить контроллер КПП.
Действие завершено?
-
Перейти к Шагу 10
-
10
  1. После ремонта следует выполнить функцию "clear info" диагностического прибора и дорожное испытание.
  2. См. ""DTC info"".
Был ли сбой при последнем тесте или на дисплее показывается текущий код неисправности?
-
Начать диагностику заново
Ремонт подтверждён Выйти из таблицы неисправностей

U4A15A11
Показать иллюстрациюПеревод текста в иллюстрациях


ДИАГНОСТИЧЕСКИЙ КОД НЕИСПРАВНОСТИ p1867 eds 6 ЗАМЫКАНИЕ ВЫХОДА НА МАССУ

Описание схемы

Клапан давления (клапан EDS 3,4,5,6) представляет собой прецизионный электронный регулятор давления, управляющий работой всех муфт, тормозов, блокировочной муфты.
Клапан уменьшает давление в системе, которое подаётся на электромагнитный клапан нагнетательного потока и электрические клапаны регулировки давления. В результате можно использовать меньшие электромагнитные клапаны. EDS требует постоянного входного давления.

Условия записи диагностического кода неисправности

Действия при занесении кода неисправности

Условия удаления индикации mil/ диагностического кода неисправности

Рекомендации по диагностике

dtc p1867 - eds 6 Замыкание выхода на массу

ШагОперацияЗначенияДаНет
1
Выполнить проверку системы бортовой диагностики.
Проверка произведена?
-
Перейти к Шагу 2
Перейти к "Проверка систему бортовой диагностики"
2
  1. Установить диагностический прибор.
  2. Включить зажигание при выключенном двигателе.
  3. Выбрать "Actuating" на диагностическом приборе.
  4. Активизировать включение/ выключение eds 6.
Меняется ли включение/ выключение eds6?
вкл/выкл
Перейти к "Рекомендации по диагностике"
Перейти к Шагу 3
3
  1. Повернуть ключ зажигания в положение "LOCK" (блокировки).
  2. Отсоединить соединительный зажим коробки передач.
  3. Измерить сопротивление между разъёмами 5 и 11 соединительного зажима коробки передач.
Соответствует ли сопротивление указанным пределам?
tft 25°c 6Ом
Перейти к Шагу 7
Перейти к Шагу 4
4
  1. Снять масляный поддон.
  2. Отсоединить соединительный зажим eds 6.
  3. Измерить сопротивление между разъёмами 2 eds 6 и заземлением.
  4. Измерить сопротивление между разъёмами 1 eds 6 и заземлением.
Соответствует ли сопротивление указанным пределам?
Перейти к Шагу 6
Перейти к Шагу 5
5
Устранить замыкание внутренней линии (eds 6) на массу.
Действие завершено?
-
Система в норме
-
6
Заменить eds 6.
Действие завершено?
-
Система в норме
-
7
  1. Отсоединить соединительный зажим коробки переключения передачи соединитель контроллера КПП.
  2. Измерить сопротивление между разъёмами 5 соединительного зажима коробки передач и заземлением.
  3. Измерить сопротивление между разъёмами 11 соединительного зажима коробки передач и заземлением.
Соответствует ли сопротивление указанным пределам?
Перейти к Шагу 9
Перейти к Шагу 8
8
Устранить заземление жгута провода коробки передач.
Действие завершено?
-
Система в норме
-
9
Заменить контроллер КПП.
Действие завершено?
-
Перейти к Шагу 10
-
10
  1. После ремонта следует выполнить функцию "clear info" диагностического прибора и дорожное испытание.
  2. См. ""DTC info"".
Был ли сбой при последнем тесте или на дисплее показывается текущий код неисправности?
-
Начать диагностику заново
Ремонт подтверждён Выйти из таблицы неисправностей

U4A15A11
Показать иллюстрациюПеревод текста в иллюстрациях


ДИАГНОСТИЧЕСКИЙ КОД НЕИСПРАВНОСТИ p1868 eds 6 ЗАМЫКАНИЕ ВЫХОДА НА АККУМУЛЯТОРНУЮ БАТАРЕЮ

Описание схемы

Клапан давления (клапан EDS 3,4,5,6) представляет собой прецизионный электронный регулятор давления, управляющий работой всех муфт, тормозов, блокировочной муфты.
Клапан уменьшает давление в системе, которое подаётся на электромагнитный клапан нагнетательного потока и электрические клапаны регулировки давления. В результате можно использовать меньшие электромагнитные клапаны. EDS требует постоянного входного давления.

Условия записи диагностического кода неисправности

Действия при занесении кода неисправности

Условия удаления индикации mil/ диагностического кода неисправности

Рекомендации по диагностике

dtc p1868 - eds 6 Замыкание выхода на аккумуляторную батарею

ШагОперацияЗначенияДаНет
1
Выполнить проверку системы бортовой диагностики.
Проверка произведена?
-
Перейти к Шагу 2
Перейти к "Проверка систему бортовой диагностики"
2
  1. Установить диагностический прибор.
  2. Включить зажигание при выключенном двигателе.
  3. Выбрать "Actuating" на диагностическом приборе.
  4. Активизировать включение/ выключение eds 6.
Меняется ли включение/ выключение eds6?
вкл/выкл
Перейти к "Рекомендации по диагностике"
Перейти к Шагу 3
3
  1. Снять масляный поддон.
  2. Отсоединить соединительный зажим eds 6.
  3. Включить зажигание при выключенном двигателе.
  4. Измерить напряжение разъёма 2 соединительного зажима eds6.
Соответствует ли сопротивление указанным пределам?
11-14В
Перейти к Шагу 4
Перейти к Шагу 5
4
Устранить замыкание внутренней линии (eds 6) на аккумуляторную батарею.
Действие завершено?
-
Система в норме
-
3
Заменить eds 6.
Действие завершено?
-
Перейти к Шагу 6
-
6
  1. Проверить наличие кодов неисправности.
  2. Выявлены ли коды неисправностей, которые ещё не диагностировались?
-
Перейти к "Применяемая таблица кодов неисправностей"
Система в норме

U4A15A11
Показать иллюстрациюПеревод текста в иллюстрациях


ДИАГНОСТИЧЕСКИЙ КОД НЕИСПРАВНОСТИ p1869 eds 6 ОБРЫВ ЦЕПИ ВЫХОДА

Описание схемы

Клапан давления (клапан EDS 3,4,5,6) представляет собой прецизионный электронный регулятор давления, управляющий работой всех муфт, тормозов, блокировочной муфты.
Клапан уменьшает давление в системе, которое подаётся на электромагнитный клапан нагнетательного потока и электрические клапаны регулировки давления. В результате можно использовать меньшие электромагнитные клапаны. EDS требует постоянного входного давления.

Условия записи диагностического кода неисправности

Действия при занесении кода неисправности

Условия удаления индикации mil/ диагностического кода неисправности

Рекомендации по диагностике

dtc p1869 - Обрыв выхода eds 6

ШагОперацияЗначенияДаНет
1
Выполнить проверку системы бортовой диагностики.
Проверка произведена?
-
Перейти к Шагу 2
Перейти к "Проверка систему бортовой диагностики"
2
  1. Установить диагностический прибор.
  2. Включить зажигание при выключенном двигателе.
  3. Выбрать "Actuating" на диагностическом приборе.
  4. Активизировать включение/ выключение eds 6.
Меняется ли включение/ выключение eds6?
вкл/выкл
Перейти к "Рекомендации по диагностике"
Перейти к Шагу 3
3
  1. Повернуть ключ зажигания в положение "LOCK" (блокировки).
  2. Отсоединить соединительный зажим коробки передач.
  3. Измерить сопротивление между разъёмами 5 и 11 соединительного зажима коробки передач.
Соответствует ли сопротивление указанным пределам?
tft 25°c 6Ом
Перейти к Шагу 7
Перейти к Шагу 4
4
  1. Снять масляный поддон.
  2. Отсоединить соединительный зажим eds 6.
  3. Измерить сопротивление между разъёмом 2 eds 6 и разъёмом 5 соединительного жгута коробки передач.
  4. Измерить сопротивление между разъёмом 1 eds 6 и разъёмом 11 соединителя коробки передач.
Соответствует ли сопротивление указанным пределам?
0Ом
Перейти к Шагу 6
Перейти к Шагу 5
5
  1. Устранить разрыв цепи (между разъёмом 2 и разъёмом 5).
  2. Устранить разрыв цепи (между разъёмом 1 и разъёмом 11).
Действие завершено?
-
Система в норме
-
6
Заменить eds 6.
Действие завершено?
-
Система в норме
-
7
  1. Отсоединить соединительный зажим коробки переключения передачи соединитель контроллера КПП.
  2. Измерить сопротивление между разъёмом 5 соединительного зажима коробки передач и разъёмом С7 соединительного зажима контроллера КПП.
  3. Измерить сопротивление между разъёмом 11 соединительного зажима коробки передач и разъёмом А12 соединительного зажима контроллера КПП.
Соответствует ли сопротивление указанным пределам?
0Ом
Перейти к Шагу 9
Перейти к Шагу 8
8
Устранить разрыв цепи жгута проводов коробки передач.
Действие завершено?
-
Система в норме
-
9
Заменить контроллер КПП.
Действие завершено?
-
Перейти к Шагу 10
-
10
  1. После ремонта следует выполнить функцию "clear info" диагностического прибора и дорожное испытание.
  2. См. ""DTC info"".
Был ли сбой при последнем тесте или на дисплее показывается текущий код неисправности?
-
Начать диагностику заново
Ремонт подтверждён Выйти из таблицы неисправностей

U4A15A11
Показать иллюстрациюПеревод текста в иллюстрациях


ДИАГНОСТИЧЕСКИЙ КОД НЕИСПРАВНОСТИ p1871 ЗАМЫКАНИЕ НА АККУМУЛЯТОРНУЮ БАТАРЕЮ ЦЕПИ ЭЛЕКТРОПИТАНИЯ КЛАПАНА eds

Описание схемы

Клапан давления (клапан EDS 3,4,5,6) представляет собой прецизионный электронный регулятор давления, управляющий работой всех муфт, тормозов, блокировочной муфты.
Клапан уменьшает давление в системе, которое подаётся на электромагнитный клапан нагнетательного потока и электрические клапаны регулировки давления. В результате можно использовать меньшие электромагнитные клапаны. EDS требует постоянного входного давления.

Условия записи диагностического кода неисправности

Действия при занесении кода неисправности

Условия удаления индикации mil/ диагностического кода неисправности

Рекомендации по диагностике

dtc p1871 - Замыкание на аккумуляторную батарею цепи электропитания клапана eds

ШагОперацияЗначенияДаНет
1
Выполнить проверку системы бортовой диагностики.
Проверка произведена?
-
Перейти к Шагу 2
Перейти к "Проверка систему бортовой диагностики"
2
  1. Установить диагностический прибор.
  2. Включить зажигание при выключенном двигателе.
  3. Запустить двигатель и разогреть его на холостом ходу.
  4. Установить рычаг переключения передач в положение парковка, нейтраль и включить стояночный тормоз.
  5. Проверить "EDS 3,4,5,6's input ampere and output ampere" (входная и выходная сила тока EDS 3,4,5,6) с помощью диагностического прибора.
Соответствует ли сопротивление указанным пределам?
Амперы eds (0-2 А)
Перейти к "Рекомендации по диагностике"
Перейти к Шагу 3
3
  1. Повернуть ключ зажигания в положение "LOCK" (блокировки).
  2. Отсоединить соединительный зажим коробки переключения передачи соединитель контроллера КПП.
  3. Измерить напряжение разъёма 5 проводки коробки передач.
Соответствует ли сопротивление указанным пределам?
11-14В
Перейти к Шагу 4
Перейти к Шагу 5
4
Устранить короткое замыкание на аккумуляторную батарею.
Действие завершено?
-
Система в норме
-
5
  1. Снять масляный поддон.
  2. Отсоединить соединитель проводки клапана eds.
  3. Установите зажигание в положение on.
  4. Измерить напряжение разъёма 2 eds 3.
  5. Измерить напряжение разъёма 2 eds 4.
  6. Измерить напряжение разъёма 2 eds 5.
  7. Измерить напряжение разъёма 2 eds 6.
Соответствует ли сопротивление указанным пределам?
11-14В
Перейти к Шагу 6
Перейти к Шагу 7
6
Устранить короткое замыкание (линии электропитания) на аккумуляторную батарею.
Действие завершено?
-
Система в норме
-
7
Заменить контроллер КПП.
Действие завершено?
-
Перейти к Шагу 8
-
8
  1. После ремонта следует выполнить функцию "clear info" диагностического прибора и дорожное испытание.
  2. См. ""DTC info"".
Был ли сбой при последнем тесте или на дисплее показывается текущий код неисправности?
-
Начать диагностику заново
Ремонт подтверждён Выйти из таблицы неисправностей

UAA5A400
Показать иллюстрациюПеревод текста в иллюстрациях


ДИАГНОСТИЧЕСКИЙ КОД НЕИСПРАВНОСТИ p1874 ЗАМЫКАНИЕ НА АККУМУЛЯТОРНУЮ БАТАРЕЮ ЦЕПИ ЭЛЕКТРОПИТАНИЯ ЭЛЕКТРОМАГНИТНОГО КЛАПАНА

Описание схемы

Клапан давления (клапан EDS 3,4,5,6) представляет собой прецизионный электронный регулятор давления, управляющий работой всех муфт, тормозов, блокировочной муфты.
Клапан уменьшает давление в системе, которое подаётся на электромагнитный клапан нагнетательного потока и электрические клапаны регулировки давления. В результате можно использовать меньшие электромагнитные клапаны. EDS требует постоянного входного давления.

Условия записи диагностического кода неисправности

Действия при занесении кода неисправности

Условия удаления индикации mil/ диагностического кода неисправности

Рекомендации по диагностике

dtc p1874 - Замыкание на аккумуляторную батарею цепи электропитания электромагнитного клапана

ШагОперацияЗначенияДаНет
1
Выполнить проверку системы бортовой диагностики.
Проверка произведена?
-
Перейти к Шагу 2
Перейти к "Проверка систему бортовой диагностики"
2
  1. Установить диагностический прибор.
  2. Включить зажигание при выключенном двигателе.
  3. Запустить двигатель и разогреть его на холостом ходу.
  4. Установить рычаг переключения передач в положение парковка, нейтраль и включить стояночный тормоз.
  5. Проверить "solenoid 1, 2" ("соленоид 1, 2") на диагностическом приборе.
Соленоид включен?
-
Перейти к "Рекомендации по диагностике"
Перейти к Шагу 3
3
  1. Повернуть ключ зажигания в положение "LOCK" (блокировки).
  2. Отсоединить соединительный зажим коробки переключения передачи соединитель контроллера КПП.
  3. Измерить напряжение разъёма 3 проводки коробки передач.
Соответствует ли сопротивление указанным пределам?
11-14В
Перейти к Шагу 4
Перейти к Шагу 5
4
Устранить короткое замыкание на аккумуляторную батарею.
Действие завершено?
-
Система в норме
-
5
  1. Снять масляный поддон.
  2. Отсоединить соединительный зажим соленоида 1, 2.
  3. Установите зажигание в положение on.
  4. Измерить напряжение разъёма 2 соленоида 1.
  5. Измерить напряжение разъёма 2 соленоида 1.
Соответствует ли сопротивление указанным пределам?
11-14В
Перейти к Шагу 6
Перейти к Шагу 7
6
Устранить короткое замыкание (линии электропитания) на аккумуляторную батарею.
Действие завершено?
-
Система в норме
-
7
Заменить контроллер КПП.
Действие завершено?
-
Перейти к Шагу 8
-
8
  1. После ремонта следует выполнить функцию "clear info" диагностического прибора и дорожное испытание.
  2. См. ""DTC info"".
Был ли сбой при последнем тесте или на дисплее показывается текущий код неисправности?
-
Начать диагностику заново
Ремонт подтверждён Выйти из таблицы неисправностей
Диапазон
Парковка/ нейтраль
Задняя
d
3
2
1
Передача
n
r
1-я
2-я
3-я
4-я
1-я
2-я
3-я
1-я
2-я
1-я
. Электромагнитный клапан 1
ВКЛ.
вкл/выкл
вкл/выкл
вкл/выкл
вкл/выкл
вкл/выкл
вкл/выкл
вкл/выкл
вкл/выкл
вкл/выкл
вкл/выкл
вкл/выкл
. Электромагнитный клапан 2
ВКЛ.
ВКЛ.
ВКЛ.
ВЫКЛ.
ВЫКЛ.
ВЫКЛ.
ВКЛ.
ВЫКЛ.
ВЫКЛ.
ВКЛ.
ВЫКЛ.
ВКЛ.
. Электромагнитный клапан 3 контроля давления в трубопроводе (eds 3)
ВЫКЛ.
ВЫКЛ.
ВЫКЛ.
ВКЛ.
вкл/выкл
вкл/выкл
ВЫКЛ.
ВКЛ.
вкл/выкл
ВЫКЛ.
ВКЛ.
вкл/выкл
. Электромагнитный клапан 4 контроля давления в трубопроводе (eds 4)
ВКЛ.
ВЫКЛ.
ВКЛ.
ВКЛ.
ВКЛ.
ВЫКЛ.
ВКЛ.
ВКЛ.
ВКЛ.
ВКЛ.
ВКЛ.
ВКЛ.
. Электромагнитный клапан 5 контроля давления в трубопроводе (eds 5)
ВЫКЛ.
ВЫКЛ.
ВКЛ.
ВКЛ.
ВЫКЛ.
ВЫКЛ.
ВКЛ.
ВКЛ.
ВЫКЛ.
ВКЛ.
ВКЛ.
ВКЛ.
. Электромагнитный клапан 6 контроля давления в трубопроводе (eds 6)
ВКЛ.
ВЫКЛ.
ВКЛ.
ВКЛ.
ВКЛ.
ВЫКЛ.
ВКЛ.
ВКЛ.
ВКЛ.
ВКЛ.
ВКЛ.
ВКЛ.
. Тормоз В
a
a
a
.
a
.
a
.
a
a
.
a
. Тормоз С
.
.
.
.
.
.
Н
.
.
.
.
.
. Тормоз d
.
Н
.
.
.
.
.
.
.
.
.
.
. Муфта Е
.
.
.
a
a
a
.
a
a
.
a
.
. Тормоз f
.
.
Н
Н
.
.
Н
Н
.
Н
Н
Н
. Блокирующая муфта
.
.
.
.
.
a
.
.
.
.
.
.
А = включено
Н = выключено
Вкл. = электромагнитный клапан под напряжением.
Выкл. = электромагнитный клапан обесточен.
** = Ручное переключение со второй передачи на третью возможно только на скорости более примерно 100 км/ч (62 миль/ч).
*** = Ручное переключение с первой передачи на вторую возможно только на скорости более примерно 100 км/ч (62 миль/ч).
ПРИМЕЧАНИЕ: Для безопасности также возможно переключение с первой передачи на третью на высокой скорости.

ДИАГНОСТИЧЕСКИЙ КОД НЕИСПРАВНОСТИ p1881 НЕИСПРАВНОСТЬ ПЕРЕКЛЮЧЕНИЯ ПЕРЕДАЧ 2-1

Описание схемы

Особенностью автоматической коробки передач 4НР 16 является, то, что она работает без муфты свободного хода. Переключение передач происходит посредством совмещения моментов включения и выключения сцепления.
Преимущество переключения с совмещением моментов включения и выключения сцепления заключается в следующем:
- конструкция коробки передач более компактна и легче из-за отсутствия муфт свободного хода и меньшего количества элементов, участвующих в процессе переключения передач;
- ниже потери на трение, т.е. более высокий КПД.
- низкий максимальный крутящий момент в узлах и карданной передаче.
Однако переключение передач с совмещением моментов включения и выключения сцепления требует высокопроизводительного аппаратного и программного обеспечения, а также точных сигналов от двигателя.

Условия записи диагностического кода неисправности

Действия при занесении кода неисправности

Условия удаления индикации mil/ диагностического кода неисправности

Рекомендации по диагностике

dtc p1881 - Неисправность переключения со 2 передачи на 1

ШагОперацияЗначенияДаНет
1
Выполнить проверку системы бортовой диагностики.
Проверка произведена?
-
Перейти к Шагу 2
Перейти к "Проверка систему бортовой диагностики"
2
  1. Установить диагностический прибор.
  2. Включить зажигание при выключенном двигателе.
  3. Запустить двигатель и разогреть его на холостом ходу.
  4. Просмотреть "скорость вращение двигателя, частота вращения на холостом ходу, TPS и т.д." на диагностическом приборе.
Была ли обнаружена причина неисправности?
-
Перейти к "Информация о диагностике двигателя"
Перейти к Шагу 3
3
Проверить "ЕСU". См. Раздел 1F, "Диагностическая информация о двигателе и процедуры".
Была ли обнаружена причина неисправности?
-
Перейти к "Информация о диагностике двигателя"
Перейти к Шагу 4
4
  1. Повернуть ключ зажигания в положение "LOCK" (блокировки).
  2. Отсоединить соединительный зажим контроллера КПП.
  3. Измерить напряжение между разъёмом В3 и В13 соединительного зажима коробки передач.
  4. Установите зажигание в положение on.
  5. Измерить напряжение между разъёмом С15 и В13 соединительного зажима коробки передач.
  6. Измерить напряжение между разъёмом С16 и В13 соединительного зажима коробки передач.
Соответствует ли сопротивление указанным пределам?
11-14В
Перейти к Шагу 5
Перейти к "Высокое или низкое напряжение бортовой цепи"
5
Заменить контроллер КПП.
Действие завершено?
-
Перейти к Шагу 8
-
6
  1. После ремонта следует выполнить функцию "clear info" диагностического прибора и дорожное испытание.
  2. См. ""DTC info"".
Был ли сбой при последнем тесте или на дисплее показывается текущий код неисправности?
-
Заменить коробку передач в сборе
Ремонт подтверждён Выйти из таблицы неисправностей
Диапазон
Парковка/ нейтраль
Задняя
d
3
2
1
Передача
n
r
1-я
2-я
3-я
4-я
1-я
2-я
3-я
1-я
2-я
1-я
. Электромагнитный клапан 1
ВКЛ.
вкл/выкл
вкл/выкл
вкл/выкл
вкл/выкл
вкл/выкл
вкл/выкл
вкл/выкл
вкл/выкл
вкл/выкл
вкл/выкл
вкл/выкл
. Электромагнитный клапан 2
ВКЛ.
ВКЛ.
ВКЛ.
ВЫКЛ.
ВЫКЛ.
ВЫКЛ.
ВКЛ.
ВЫКЛ.
ВЫКЛ.
ВКЛ.
ВЫКЛ.
ВКЛ.
. Электромагнитный клапан 3 контроля давления в трубопроводе (eds 3)
ВЫКЛ.
ВЫКЛ.
ВЫКЛ.
ВКЛ.
вкл/выкл
вкл/выкл
ВЫКЛ.
ВКЛ.
вкл/выкл
ВЫКЛ.
ВКЛ.
вкл/выкл
. Электромагнитный клапан 4 контроля давления в трубопроводе (eds 4)
ВКЛ.
ВЫКЛ.
ВКЛ.
ВКЛ.
ВКЛ.
ВЫКЛ.
ВКЛ.
ВКЛ.
ВКЛ.
ВКЛ.
ВКЛ.
ВКЛ.
. Электромагнитный клапан 5 контроля давления в трубопроводе (eds 5)
ВЫКЛ.
ВЫКЛ.
ВКЛ.
ВКЛ.
ВЫКЛ.
ВЫКЛ.
ВКЛ.
ВКЛ.
ВЫКЛ.
ВКЛ.
ВКЛ.
ВКЛ.
. Электромагнитный клапан 6 контроля давления в трубопроводе (eds 6)
ВКЛ.
ВЫКЛ.
ВКЛ.
ВКЛ.
ВКЛ.
ВЫКЛ.
ВКЛ.
ВКЛ.
ВКЛ.
ВКЛ.
ВКЛ.
ВКЛ.
. Тормоз В
a
a
a
.
a
.
a
.
a
a
.
a
. Тормоз С
.
.
.
.
.
.
Н
.
.
.
.
.
. Тормоз d
.
Н
.
.
.
.
.
.
.
.
.
.
. Муфта Е
.
.
.
a
a
a
.
a
a
.
a
.
. Тормоз f
.
.
Н
Н
.
.
Н
Н
.
Н
Н
Н
. Блокирующая муфта
.
.
.
.
.
a
.
.
.
.
.
.
А = включено
Н = выключено
Вкл. = электромагнитный клапан под напряжением.
Выкл. = электромагнитный клапан обесточен.
** = Ручное переключение со второй передачи на третью возможно только на скорости более примерно 100 км/ч (62 миль/ч).
*** = Ручное переключение с первой передачи на вторую возможно только на скорости более примерно 100 км/ч (62 миль/ч).
ПРИМЕЧАНИЕ: Для безопасности также возможно переключение с первой передачи на третью на высокой скорости.

ДИАГНОСТИЧЕСКИЙ КОД НЕИСПРАВНОСТИ p1883 НЕИСПРАВНОСТЬ ПЕРЕКЛЮЧЕНИЯ ПЕРЕДАЧ 3-2

Описание схемы

Особенностью автоматической коробки передач 4НР 16 является, то, что она работает без муфты свободного хода. Переключение передач происходит посредством совмещения моментов включения и выключения сцепления.
Преимущество переключения с совмещением моментов включения и выключения сцепления заключается в следующем:
- конструкция коробки передач более компактна и легче из-за отсутствия муфт свободного хода и меньшего количества элементов, участвующих в процессе переключения передач;
- ниже потери на трение, т.е. более высокий КПД.
- низкий максимальный крутящий момент в узлах и карданной передаче.
Однако переключение передач с совмещением моментов включения и выключения сцепления требует высокопроизводительного аппаратного и программного обеспечения, а также точных сигналов от двигателя.

Условия записи диагностического кода неисправности

Действия при занесении кода неисправности

Условия удаления индикации mil/ диагностического кода неисправности

Рекомендации по диагностике

dtc p1883 - Неисправность переключения с 3 передачи на 2

ШагОперацияЗначенияДаНет
1
Выполнить проверку системы бортовой диагностики.
Проверка произведена?
-
Перейти к Шагу 2
Перейти к "Проверка систему бортовой диагностики"
2
  1. Установить диагностический прибор.
  2. Включить зажигание при выключенном двигателе.
  3. Запустить двигатель и разогреть его на холостом ходу.
  4. Просмотреть "скорость вращение двигателя, частота вращения на холостом ходу, TPS и т.д." на диагностическом приборе.
Была ли обнаружена причина неисправности?
-
Перейти к "Информация о диагностике двигателя"
Перейти к Шагу 3
3
Проверить "ЕСU". См. Раздел 1F, "Диагностическая информация о двигателе и процедуры".
Была ли обнаружена причина неисправности?
-
Перейти к "Информация о диагностике двигателя"
Перейти к Шагу 4
4
  1. Повернуть ключ зажигания в положение "LOCK" (блокировки).
  2. Отсоединить соединительный зажим контроллера КПП.
  3. Измерить напряжение между разъёмом В3 и В13 соединительного зажима коробки передач.
  4. Установите зажигание в положение on.
  5. Измерить напряжение между разъёмом С15 и В13 соединительного зажима коробки передач.
  6. Измерить напряжение между разъёмом С16 и В13 соединительного зажима коробки передач.
Соответствует ли сопротивление указанным пределам?
11-14В
Перейти к Шагу 5
Перейти к "Высокое или низкое напряжение бортовой цепи"
5
Заменить контроллер КПП.
Действие завершено?
-
Перейти к Шагу 8
-
6
  1. После ремонта следует выполнить функцию "clear info" диагностического прибора и дорожное испытание.
  2. См. ""DTC info"".
Был ли сбой при последнем тесте или на дисплее показывается текущий код неисправности?
-
Заменить коробку передач в сборе
Ремонт подтверждён Выйти из таблицы неисправностей
Диапазон
Парковка/ нейтраль
Задняя
d
3
2
1
Передача
n
r
1-я
2-я
3-я
4-я
1-я
2-я
3-я
1-я
2-я
1-я
. Электромагнитный клапан 1
ВКЛ.
вкл/выкл
вкл/выкл
вкл/выкл
вкл/выкл
вкл/выкл
вкл/выкл
вкл/выкл
вкл/выкл
вкл/выкл
вкл/выкл
вкл/выкл
. Электромагнитный клапан 2
ВКЛ.
ВКЛ.
ВКЛ.
ВЫКЛ.
ВЫКЛ.
ВЫКЛ.
ВКЛ.
ВЫКЛ.
ВЫКЛ.
ВКЛ.
ВЫКЛ.
ВКЛ.
. Электромагнитный клапан 3 контроля давления в трубопроводе (eds 3)
ВЫКЛ.
ВЫКЛ.
ВЫКЛ.
ВКЛ.
вкл/выкл
вкл/выкл
ВЫКЛ.
ВКЛ.
вкл/выкл
ВЫКЛ.
ВКЛ.
вкл/выкл
. Электромагнитный клапан 4 контроля давления в трубопроводе (eds 4)
ВКЛ.
ВЫКЛ.
ВКЛ.
ВКЛ.
ВКЛ.
ВЫКЛ.
ВКЛ.
ВКЛ.
ВКЛ.
ВКЛ.
ВКЛ.
ВКЛ.
. Электромагнитный клапан 5 контроля давления в трубопроводе (eds 5)
ВЫКЛ.
ВЫКЛ.
ВКЛ.
ВКЛ.
ВЫКЛ.
ВЫКЛ.
ВКЛ.
ВКЛ.
ВЫКЛ.
ВКЛ.
ВКЛ.
ВКЛ.
. Электромагнитный клапан 6 контроля давления в трубопроводе (eds 6)
ВКЛ.
ВЫКЛ.
ВКЛ.
ВКЛ.
ВКЛ.
ВЫКЛ.
ВКЛ.
ВКЛ.
ВКЛ.
ВКЛ.
ВКЛ.
ВКЛ.
. Тормоз В
a
a
a
.
a
.
a
.
a
a
.
a
. Тормоз С
.
.
.
.
.
.
Н
.
.
.
.
.
. Тормоз d
.
Н
.
.
.
.
.
.
.
.
.
.
. Муфта Е
.
.
.
a
a
a
.
a
a
.
a
.
. Тормоз f
.
.
Н
Н
.
.
Н
Н
.
Н
Н
Н
. Блокирующая муфта
.
.
.
.
.
a
.
.
.
.
.
.
А = включено
Н = выключено
Вкл. = электромагнитный клапан под напряжением.
Выкл. = электромагнитный клапан обесточен.
** = Ручное переключение со второй передачи на третью возможно только на скорости более примерно 100 км/ч (62 миль/ч).
*** = Ручное переключение с первой передачи на вторую возможно только на скорости более примерно 100 км/ч (62 миль/ч).
ПРИМЕЧАНИЕ: Для безопасности также возможно переключение с первой передачи на третью на высокой скорости.

ДИАГНОСТИЧЕСКИЙ КОД НЕИСПРАВНОСТИ p1884 НЕИСПРАВНОСТЬ ПЕРЕКЛЮЧЕНИЯ ПЕРЕДАЧ 4-3

Описание схемы

Особенностью автоматической коробки передач 4НР 16 является, то, что она работает без муфты свободного хода. Переключение передач происходит посредством совмещения моментов включения и выключения сцепления.
Преимущество переключения с совмещением моментов включения и выключения сцепления заключается в следующем:
- конструкция коробки передач более компактна и легче из-за отсутствия муфт свободного хода и меньшего количества элементов, участвующих в процессе переключения передач;
- ниже потери на трение, т.е. более высокий КПД.
- низкий максимальный крутящий момент в узлах и карданной передаче.
Однако переключение передач с совмещением моментов включения и выключения сцепления требует высокопроизводительного аппаратного и программного обеспечения, а также точных сигналов от двигателя.

Условия записи диагностического кода неисправности

Действия при занесении кода неисправности

Условия удаления индикации mil/ диагностического кода неисправности

Рекомендации по диагностике

dtc p1884 - Неисправность переключения с 4 передачи на 3

ШагОперацияЗначенияДаНет
1
Выполнить проверку системы бортовой диагностики.
Проверка произведена?
-
Перейти к Шагу 2
Перейти к "Проверка систему бортовой диагностики"
2
  1. Установить диагностический прибор.
  2. Включить зажигание при выключенном двигателе.
  3. Запустить двигатель и разогреть его на холостом ходу.
  4. Просмотреть "скорость вращение двигателя, частота вращения на холостом ходу, TPS и т.д." на диагностическом приборе.
Была ли обнаружена причина неисправности?
-
Перейти к "Информация о диагностике двигателя"
Перейти к Шагу 3
3
Проверить "ЕСU". См. Раздел 1F, "Диагностическая информация о двигателе и процедуры".
Была ли обнаружена причина неисправности?
-
Перейти к "Информация о диагностике двигателя"
Перейти к Шагу 4
4
  1. Повернуть ключ зажигания в положение "LOCK" (блокировки).
  2. Отсоединить соединительный зажим контроллера КПП.
  3. Измерить напряжение между разъёмом В3 и В13 соединительного зажима коробки передач.
  4. Установите зажигание в положение on.
  5. Измерить напряжение между разъёмом С15 и В13 соединительного зажима коробки передач.
  6. Измерить напряжение между разъёмом С16 и В13 соединительного зажима коробки передач.
Соответствует ли сопротивление указанным пределам?
11-14В
Перейти к Шагу 5
Перейти к "Высокое или низкое напряжение бортовой цепи"
5
Заменить контроллер КПП.
Действие завершено?
-
Перейти к Шагу 8
-
6
  1. После ремонта следует выполнить функцию "clear info" диагностического прибора и дорожное испытание.
  2. См. ""DTC info"".
Был ли сбой при последнем тесте или на дисплее показывается текущий код неисправности?
-
Заменить коробку передач в сборе
Ремонт подтверждён Выйти из таблицы неисправностей
Диапазон
Парковка/ нейтраль
Задняя
d
3
2
1
Передача
n
r
1-я
2-я
3-я
4-я
1-я
2-я
3-я
1-я
2-я
1-я
. Электромагнитный клапан 1
ВКЛ.
вкл/выкл
вкл/выкл
вкл/выкл
вкл/выкл
вкл/выкл
вкл/выкл
вкл/выкл
вкл/выкл
вкл/выкл
вкл/выкл
вкл/выкл
. Электромагнитный клапан 2
ВКЛ.
ВКЛ.
ВКЛ.
ВЫКЛ.
ВЫКЛ.
ВЫКЛ.
ВКЛ.
ВЫКЛ.
ВЫКЛ.
ВКЛ.
ВЫКЛ.
ВКЛ.
. Электромагнитный клапан 3 контроля давления в трубопроводе (eds 3)
ВЫКЛ.
ВЫКЛ.
ВЫКЛ.
ВКЛ.
вкл/выкл
вкл/выкл
ВЫКЛ.
ВКЛ.
вкл/выкл
ВЫКЛ.
ВКЛ.
вкл/выкл
. Электромагнитный клапан 4 контроля давления в трубопроводе (eds 4)
ВКЛ.
ВЫКЛ.
ВКЛ.
ВКЛ.
ВКЛ.
ВЫКЛ.
ВКЛ.
ВКЛ.
ВКЛ.
ВКЛ.
ВКЛ.
ВКЛ.
. Электромагнитный клапан 5 контроля давления в трубопроводе (eds 5)
ВЫКЛ.
ВЫКЛ.
ВКЛ.
ВКЛ.
ВЫКЛ.
ВЫКЛ.
ВКЛ.
ВКЛ.
ВЫКЛ.
ВКЛ.
ВКЛ.
ВКЛ.
. Электромагнитный клапан 6 контроля давления в трубопроводе (eds 6)
ВКЛ.
ВЫКЛ.
ВКЛ.
ВКЛ.
ВКЛ.
ВЫКЛ.
ВКЛ.
ВКЛ.
ВКЛ.
ВКЛ.
ВКЛ.
ВКЛ.
. Тормоз В
a
a
a
.
a
.
a
.
a
a
.
a
. Тормоз С
.
.
.
.
.
.
Н
.
.
.
.
.
. Тормоз d
.
Н
.
.
.
.
.
.
.
.
.
.
. Муфта Е
.
.
.
a
a
a
.
a
a
.
a
.
. Тормоз f
.
.
Н
Н
.
.
Н
Н
.
Н
Н
Н
. Блокирующая муфта
.
.
.
.
.
a
.
.
.
.
.
.
А = включено
Н = выключено
Вкл. = электромагнитный клапан под напряжением.
Выкл. = электромагнитный клапан обесточен.
** = Ручное переключение со второй передачи на третью возможно только на скорости более примерно 100 км/ч (62 миль/ч).
*** = Ручное переключение с первой передачи на вторую возможно только на скорости более примерно 100 км/ч (62 миль/ч).
ПРИМЕЧАНИЕ: Для безопасности также возможно переключение с первой передачи на третью на высокой скорости.

ДИАГНОСТИЧЕСКИЙ КОД НЕИСПРАВНОСТИ p1885 НЕИСПРАВНОСТЬ ПЕРЕКЛЮЧЕНИЯ ПЕРЕДАЧ 3-1

Описание схемы

Особенностью автоматической коробки передач 4НР 16 является, то, что она работает без муфты свободного хода. Переключение передач происходит посредством совмещения моментов включения и выключения сцепления.
Преимущество переключения с совмещением моментов включения и выключения сцепления заключается в следующем:
- конструкция коробки передач более компактна и легче из-за отсутствия муфт свободного хода и меньшего количества элементов, участвующих в процессе переключения передач;
- ниже потери на трение, т.е. более высокий КПД.
- низкий максимальный крутящий момент в узлах и карданной передаче.
Однако переключение передач с совмещением моментов включения и выключения сцепления требует высокопроизводительного аппаратного и программного обеспечения, а также точных сигналов от двигателя.

Условия записи диагностического кода неисправности

Действия при занесении кода неисправности

Условия удаления индикации mil/ диагностического кода неисправности

Рекомендации по диагностике

dtc p1885 - Неисправность переключения с 3 передачи на 1

ШагОперацияЗначенияДаНет
1
Выполнить проверку системы бортовой диагностики.
Проверка произведена?
-
Перейти к Шагу 2
Перейти к "Проверка систему бортовой диагностики"
2
  1. Установить диагностический прибор.
  2. Включить зажигание при выключенном двигателе.
  3. Запустить двигатель и разогреть его на холостом ходу.
  4. Просмотреть "скорость вращение двигателя, частота вращения на холостом ходу, TPS и т.д." на диагностическом приборе.
Была ли обнаружена причина неисправности?
-
Перейти к "Информация о диагностике двигателя"
Перейти к Шагу 3
3
Проверить "ЕСU". См. Раздел 1F, "Диагностическая информация о двигателе и процедуры".
Была ли обнаружена причина неисправности?
-
Перейти к "Информация о диагностике двигателя"
Перейти к Шагу 4
4
  1. Повернуть ключ зажигания в положение "LOCK" (блокировки).
  2. Отсоединить соединительный зажим контроллера КПП.
  3. Измерить напряжение между разъёмом В3 и В13 соединительного зажима коробки передач.
  4. Установите зажигание в положение on.
  5. Измерить напряжение между разъёмом С15 и В13 соединительного зажима коробки передач.
  6. Измерить напряжение между разъёмом С16 и В13 соединительного зажима коробки передач.
Соответствует ли сопротивление указанным пределам?
11-14В
Перейти к Шагу 5
Перейти к "Высокое или низкое напряжение бортовой цепи"
5
Заменить контроллер КПП.
Действие завершено?
-
Перейти к Шагу 8
-
6
  1. После ремонта следует выполнить функцию "clear info" диагностического прибора и дорожное испытание.
  2. См. ""DTC info"".
Был ли сбой при последнем тесте или на дисплее показывается текущий код неисправности?
-
Заменить коробку передач в сборе
Ремонт подтверждён Выйти из таблицы неисправностей
Диапазон
Парковка/ нейтраль
Задняя
d
3
2
1
Передача
n
r
1-я
2-я
3-я
4-я
1-я
2-я
3-я
1-я
2-я
1-я
. Электромагнитный клапан 1
ВКЛ.
вкл/выкл
вкл/выкл
вкл/выкл
вкл/выкл
вкл/выкл
вкл/выкл
вкл/выкл
вкл/выкл
вкл/выкл
вкл/выкл
вкл/выкл
. Электромагнитный клапан 2
ВКЛ.
ВКЛ.
ВКЛ.
ВЫКЛ.
ВЫКЛ.
ВЫКЛ.
ВКЛ.
ВЫКЛ.
ВЫКЛ.
ВКЛ.
ВЫКЛ.
ВКЛ.
. Электромагнитный клапан 3 контроля давления в трубопроводе (eds 3)
ВЫКЛ.
ВЫКЛ.
ВЫКЛ.
ВКЛ.
вкл/выкл
вкл/выкл
ВЫКЛ.
ВКЛ.
вкл/выкл
ВЫКЛ.
ВКЛ.
вкл/выкл
. Электромагнитный клапан 4 контроля давления в трубопроводе (eds 4)
ВКЛ.
ВЫКЛ.
ВКЛ.
ВКЛ.
ВКЛ.
ВЫКЛ.
ВКЛ.
ВКЛ.
ВКЛ.
ВКЛ.
ВКЛ.
ВКЛ.
. Электромагнитный клапан 5 контроля давления в трубопроводе (eds 5)
ВЫКЛ.
ВЫКЛ.
ВКЛ.
ВКЛ.
ВЫКЛ.
ВЫКЛ.
ВКЛ.
ВКЛ.
ВЫКЛ.
ВКЛ.
ВКЛ.
ВКЛ.
. Электромагнитный клапан 6 контроля давления в трубопроводе (eds 6)
ВКЛ.
ВЫКЛ.
ВКЛ.
ВКЛ.
ВКЛ.
ВЫКЛ.
ВКЛ.
ВКЛ.
ВКЛ.
ВКЛ.
ВКЛ.
ВКЛ.
. Тормоз В
a
a
a
.
a
.
a
.
a
a
.
a
. Тормоз С
.
.
.
.
.
.
Н
.
.
.
.
.
. Тормоз d
.
Н
.
.
.
.
.
.
.
.
.
.
. Муфта Е
.
.
.
a
a
a
.
a
a
.
a
.
. Тормоз f
.
.
Н
Н
.
.
Н
Н
.
Н
Н
Н
. Блокирующая муфта
.
.
.
.
.
a
.
.
.
.
.
.
А = включено
Н = выключено
Вкл. = электромагнитный клапан под напряжением.
Выкл. = электромагнитный клапан обесточен.
** = Ручное переключение со второй передачи на третью возможно только на скорости более примерно 100 км/ч (62 миль/ч).
*** = Ручное переключение с первой передачи на вторую возможно только на скорости более примерно 100 км/ч (62 миль/ч).
ПРИМЕЧАНИЕ: Для безопасности также возможно переключение с первой передачи на третью на высокой скорости.

ДИАГНОСТИЧЕСКИЙ КОД НЕИСПРАВНОСТИ p1886 НЕИСПРАВНОСТЬ ПЕРЕКЛЮЧЕНИЯ ПЕРЕДАЧ 4-2

Описание схемы

Особенностью автоматической коробки передач 4НР 16 является, то, что она работает без муфты свободного хода. Переключение передач происходит посредством совмещения моментов включения и выключения сцепления.
Преимущество переключения с совмещением моментов включения и выключения сцепления заключается в следующем:
- конструкция коробки передач более компактна и легче из-за отсутствия муфт свободного хода и меньшего количества элементов, участвующих в процессе переключения передач;
- ниже потери на трение, т.е. более высокий КПД.
- низкий максимальный крутящий момент в узлах и карданной передаче.
Однако переключение передач с совмещением моментов включения и выключения сцепления требует высокопроизводительного аппаратного и программного обеспечения, а также точных сигналов от двигателя.

Условия записи диагностического кода неисправности

Действия при занесении кода неисправности

Условия удаления индикации mil/ диагностического кода неисправности

Рекомендации по диагностике

dtc p1886 - Неисправность переключения с 4 передачи на 2

ШагОперацияЗначенияДаНет
1
Выполнить проверку системы бортовой диагностики.
Проверка произведена?
-
Перейти к Шагу 2
Перейти к "Проверка систему бортовой диагностики"
2
  1. Установить диагностический прибор.
  2. Включить зажигание при выключенном двигателе.
  3. Запустить двигатель и разогреть его на холостом ходу.
  4. Просмотреть "скорость вращение двигателя, частота вращения на холостом ходу, TPS и т.д." на диагностическом приборе.
Была ли обнаружена причина неисправности?
-
Перейти к "Информация о диагностике двигателя"
Перейти к Шагу 3
3
Проверить "ЕСU". См. Раздел 1F, "Диагностическая информация о двигателе и процедуры".
Была ли обнаружена причина неисправности?
-
Перейти к "Информация о диагностике двигателя"
Перейти к Шагу 4
4
  1. Повернуть ключ зажигания в положение "LOCK" (блокировки).
  2. Отсоединить соединительный зажим контроллера КПП.
  3. Измерить напряжение между разъёмом В3 и В13 соединительного зажима коробки передач.
  4. Установите зажигание в положение on.
  5. Измерить напряжение между разъёмом С15 и В13 соединительного зажима коробки передач.
  6. Измерить напряжение между разъёмом С16 и В13 соединительного зажима коробки передач.
Соответствует ли сопротивление указанным пределам?
11-14В
Перейти к Шагу 5
Перейти к "Высокое или низкое напряжение бортовой цепи"
5
Заменить контроллер КПП.
Действие завершено?
-
Перейти к Шагу 8
-
6
  1. После ремонта следует выполнить функцию "clear info" диагностического прибора и дорожное испытание.
  2. См. ""DTC info"".
Был ли сбой при последнем тесте или на дисплее показывается текущий код неисправности?
-
Заменить коробку передач в сборе
Ремонт подтверждён Выйти из таблицы неисправностей


На предыдущую страницуНа следующую страницу
https://vnx.su/ 🛠 Руководства по ремонту и эксплуатации для автомобилей

Поиск по сайту

Остались вопросы или пожелания? Пишите на почту: support@vnx.su

Карта Сайта