К началу документа
Tacuma
На предыдущую страницуНа следующую страницу
Главная страница GMDEЗагрузить нединамическое оглавлениеЗагрузить динамическое оглавлениеПомощь

РАЗДЕЛ 1G

ДВИГАТЕЛЬ (СИСТЕМА ВПУСКА ВОЗДУХА И ВЫПУСКА ОТРАБОТАВШИХ ГАЗОВ)

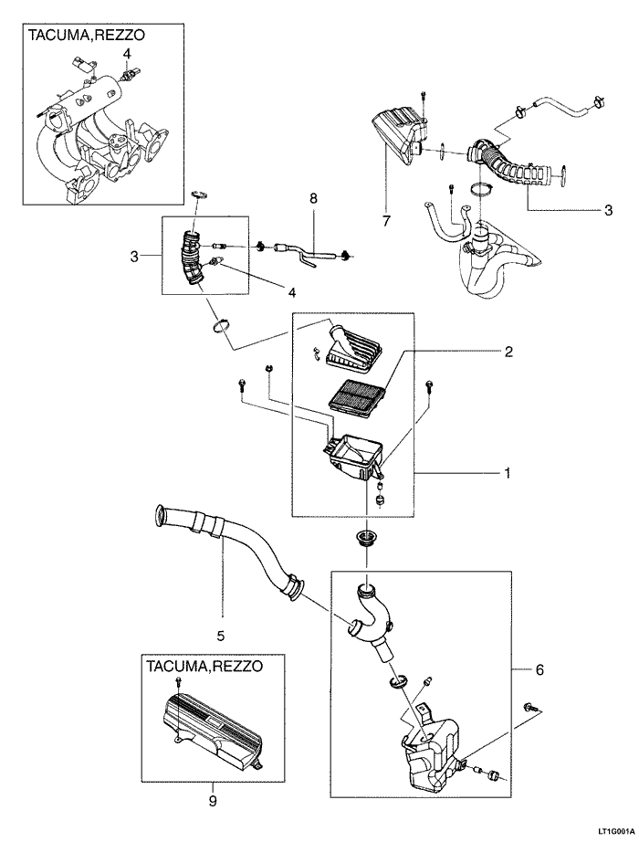
LT1G001A
Показать иллюстрациюПеревод текста в иллюстрациях


СИСТЕМА ВПУСКА И ВЫПУСКА ДВИГАТЕЛЯ - СИСТЕМА ВПУСКА ВОЗДУХА (191)

ОПИСАНИЕ ОПЕРАЦИИ
КОД ОПЕРАЦИИ
МОДЕЛЬ
t
j
v
u
1
. ВОЗДУШНЫЙ ФИЛЬТР - ЗАМЕНА
1910300
0.3
0.3
0.3
0.3
2
. ФИЛЬТРУЮЩИЙ ЭЛЕМЕНТ, ВОЗДУШНЫЙ ФИЛЬТР - ЗАМЕНА
1910500
0.2
0.2
0.2
0.2
3
. КАНАЛ И/ИЛИ ШЛАНГ, НАРУЖНЫЙ ВОЗДУХ - ЗАМЕНА
1910700
0.3
0.3
0.3
0.3
4
. ДАТЧИК, ТЕМПЕРАТУРЫ ВОЗДУХА В КОЛЛЕКТОРЕ - ЗАМЕНА
1910900
0.2
0.2
0.2
0.2
5
. КАНАЛ И/ИЛИ ШЛАНГ, НАРУЖНЫЙ ВОЗДУХ - ЗАМЕНА
1911100
0.7
0.7
0.7
-
6
. РЕЗОНАТОР, ГЛАВНЫЙ ВОЗДУШНЫЙ ФИЛЬТР - ЗАМЕНА
1911300
0.7
0.7
0.7
0.7
7
. РЕЗОНАТОР, ВСПОМОГАТЕЛЬНЫЙ - ЗАМЕНА
1911500
-
0.3
0.3
-
8
. ШЛАНГ, ВЕНТИЛЯЦИЯ - ЗАМЕНА
1912900
0.2
0.2
0.2
0.2
9
. КАНАЛ, ВПУСК ВОЗДУХА - ЗАМЕНА
1913000
-
-
-
0.2
t : lanos, j : nubira, v : leganza, u : tacuma/rezzo

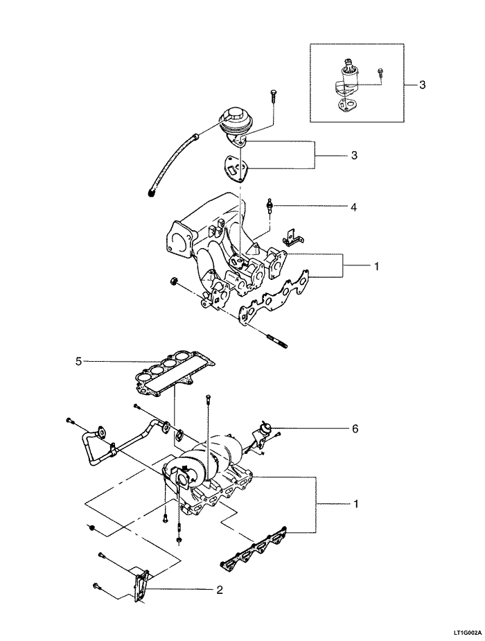
LT1G002A
Показать иллюстрациюПеревод текста в иллюстрациях


СИСТЕМА ВПУСКА И ВЫПУСКА ДВИГАТЕЛЯ - ВПУСКНОЙ КОЛЛЕКТОР (193)

ОПИСАНИЕ ОПЕРАЦИИ
КОД ОПЕРАЦИИ
МОДЕЛЬ
t
j
v
u
1
. КОЛЛЕКТОР И/ИЛИ ПРОКЛАДКА, ВПУСКНОЙ - ЗАМЕНА
.
.
.
.
.
ОДИН РАСПРЕДЕЛИТЕЛЬНЫЙ ВАЛ ВЕРХНЕГО РАСПОЛОЖЕНИЯ
1930100
1.8
2.1
1.8
1.8
dohc
1930200
1.6
1,4
1.8
1.6
2
. СТОЙКА, ВПУСКНОЙ КОЛЛЕКТОР - ЗАМЕНА
.
.
.
.
.
ОДИН РАСПРЕДЕЛИТЕЛЬНЫЙ ВАЛ ВЕРХНЕГО РАСПОЛОЖЕНИЯ
1930400
0.5
0.5
0.5
0.5
dohc
1930500
0.5
0.5
0.5
0.5
3
. КЛАПАН И/ИЛИ ПРОКЛАДКА, РЕЦИРКУЛЯЦИЯ ВЫХЛОПНЫХ ГАЗОВ - ЗАМЕНА
1930700
0.3
0.3
0.3
0.3
4
. ВИНТ, ТЕМПЕРАТУРА ОХЛАЖДАЮЩЕЙ ЖИДКОСТИ ДВИГАТЕЛЯ
.
.
.
.
.
ОДИН РАСПРЕДЕЛИТЕЛЬНЫЙ ВАЛ ВЕРХНЕГО РАСПОЛОЖЕНИЯ
1930900
0.2
0.2
0.2
0.2
dohc
1931100
0.4
0.2
0.2
0.2
5
. ПРОКЛАДКА, ВПУСКНОЙ КОЛЛЕКТОР ПЕРЕМЕННОЙ ГЕОМЕТРИИ - ЗАМЕНА
1931300
1.6
0,9
-
0,9
6
. ПРИВОД, ВПУСКНОЙ КОЛЛЕКТОР ПЕРЕМЕННОЙ ГЕОМЕТРИИ - ЗАМЕНА
1931500
0.2
0.2
-
0.2
t : lanos, j : nubira, v : leganza, u : tacuma/rezzo

LT1G003
Показать иллюстрациюПеревод текста в иллюстрациях


СИСТЕМА ВПУСКА И ВЫПУСКА ДВИГАТЕЛЯ - ВЫПУСКНОЙ КОЛЛЕКТОР (194)

ОПИСАНИЕ ОПЕРАЦИИ
КОД ОПЕРАЦИИ
МОДЕЛЬ
t
j
v
u
1
. КОЛЛЕКТОР И/ИЛИ ПРОКЛАДКА, ВЫПУСКНОЙ - ЗАМЕНА
.
.
.
.
.
ОДИН РАСПРЕДЕЛИТЕЛЬНЫЙ ВАЛ ВЕРХНЕГО РАСПОЛОЖЕНИЯ
1940200
1.0
1.1
1.1
1.0
dohc
1940300
0.7
1.1
1.1
1.0
2
. ДАТЧИК, КИСЛОРОДНЫЙ - ЗАМЕНА
.
.
.
.
.
ОДИН РАСПРЕДЕЛИТЕЛЬНЫЙ ВАЛ ВЕРХНЕГО РАСПОЛОЖЕНИЯ
1940500
0.3
0.3
0.3
0.3
dohc
1940600
0.3
0.3
0.3
0.3
3
. ПОТЕНЦИОМЕТР co - ЗАМЕНА
ВКЛ.: регулировка потенциометра CO.
1940700
0.2
0.2
0.2
0.2
4
. КРЫШКА, ВЫПУСКНОЙ КОЛЛЕКТОР - ЗАМЕНА
1940800
0.5
0.6
0.5
0.2
t : lanos, j : nubira, v : leganza, u : tacuma/rezzo

LT1G004
Показать иллюстрациюПеревод текста в иллюстрациях


СИСТЕМА ВПУСКА И ВЫПУСКА ДВИГАТЕЛЯ - ВАКУУМНЫЙ ШЛАНГ (195)

ОПИСАНИЕ ОПЕРАЦИИ
КОД ОПЕРАЦИИ
МОДЕЛЬ
t
j
v
u
1
. ВАКУУМНЫЙ ШЛАНГ - ЗАМЕНА
.
.
.
.
.
Датчик давления в коллекторе - коллектор
1950100
0.2
0.2
0.2
0.2
Регулятор - коллектор
1950200
0.2
0.2
0.2
0.2
Рециркуляция выхлопных газов - коллектор
1950300
0.2
0.2
0.2
0.2
Впускной коллектор переменной геометрии - привод
1950400
0.2
0.2
-
0.2
2
. КЛАПАН, ФИЛЬТР, ШЛАНГ И (ИЛИ) ТРУБА, ТОРМОЗ С ВАКУУМНЫМ УСИЛИТЕЛЕМ
. - ЗАМЕНА
1950900
0.3
0.3
0.3
0.3
3
. ЭЛЕКТРОМАГНИТНЫЙ КЛАПАН, ВПУСКНОЙ КОЛЛЕКТОР ПЕРЕМЕННОЙ ГЕОМЕТРИИ - ЗАМЕНА
1951100
0.2
0.2
0.2
0.2
4
. ВАКУУМНЫЙ БАЛЛОН, ВПУСКНОЙ КОЛЛЕКТОР ПЕРЕМЕННОЙ ГЕОМЕТРИИ - ЗАМЕНА
1951300
0.2
0.2
0.2
0.2
t : lanos, j : nubira, v : leganza, u : tacuma/rezzo

LT1G005B
Показать иллюстрациюПеревод текста в иллюстрациях


СИСТЕМА ВПУСКА И ВЫПУСКА ДВИГАТЕЛЯ - ВЫПУСКНОЙ ТРУБОПРОВОД (196)

ОПИСАНИЕ ОПЕРАЦИИ
КОД ОПЕРАЦИИ
МОДЕЛЬ
t
j
v
u
.
. СИСТЕМА ВЫПУСКА ОТРАБОТАВШИХ ГАЗОВ - ВЫРАВНИВАНИЕ
1960100
0.3
0.3
0.3
0.3
1
. ПОДВЕСКА И/ИЛИ ХОМУТ, ВЫПУСКНАЯ СИСТЕМА - ЗАМЕНА
1960300
0.3
0.3
0.3
0.3
2
. УПЛОТНЕНИЕ, ВЫПУСКНАЯ ТРУБА - ЗАМЕНА
1960500
0.4
0.3
0.3
0.3
3
. УПЛОТНЕНИЕ, ПЕРЕДНЯЯ ВЫПУСКНАЯ ТРУБА - ЗАМЕНА
1960700
0.5
0.6
0.5
0.5
4
. ТРУБА, ПЕРЕДНЯЯ ВЫПУСКНАЯ - ЗАМЕНА (КОЛЛЕКТОР НА КАТАЛИЗАТОР)
1960900
0.5
0.5
0.5
0.5
5
. ПОДВЕСКА И/ИЛИ КРОНШТЕЙН, КАТАЛИЗАТОР - ЗАМЕНА
1961100
0.3
0.3
0.3
0.3
6
. ЩИТОК, КАТАЛИЗАТОР - ЗАМЕНА
1961300
0.5
0.6
0.5
0.5
7
. КАТАЛИЗАТОР - ЗАМЕНА
1961500
0.4
0.6
0.4
0.4
. КАТАЛИЗАТОР, pup - ЗАМЕНА
1961600
0.6
0.6
0.7
0.7
8
. ЩИТОК, РЕЗОНАТОР И ВЫПУСКНАЯ ТРУБА - ЗАМЕНА
1961700
0.5
0.4
0.4
0.4
9
. ЩИТОК, ГЛУШИТЕЛЬ - ЗАМЕНА
1961900
0.4
0.4
0.4
0.4
10
. ГЛУШИТЕЛЬ, ПЕРЕДНИЙ - ЗАМЕНА
1962100
0.5
0.5
0.5
0.5
11
. ГЛУШИТЕЛЬ, ЗАДНИЙ - ЗАМЕНА
1962200
0.5
0.5
0.5
0.5
12
. КОЛЬЦО, ДЕКОРАТИВНОЕ, ВЫХЛОПНАЯ ТРУБА - ЗАМЕНА
1962300
0.3
0.3
0.3
0.3
13
. ДАТЧИК, КАТАЛИЗАТОР - ЗАМЕНА
1962400
0.7
0.7
0.4
0.7
14
. СИСТЕМА ВЫПУСКА ОТРАБОТАВШИХ ГАЗОВ (В СБОРЕ) - ЗАМЕНА (ОДИНОЧНАЯ)
1962500
0,9
0,9
0,9
0,9
t : lanos, j : nubira, v : leganza, u : tacuma/rezzo
На предыдущую страницуНа следующую страницу


https://vnx.su/ 🛠 Руководства по ремонту и эксплуатации для автомобилей

Поиск по сайту

Остались вопросы или пожелания? Пишите на почту: support@vnx.su

Карта Сайта