К началу документа
Matiz
На предыдущую страницуНа следующую страницу
Главная страница GMDEЗагрузить нединамическое оглавлениеЗагрузить динамическое оглавлениеПомощь

РАЗДЕЛ 1G

Выпускная система двигателя.

ТЕХНИЧЕСКИЕ ХАРАКТЕРИСТИКИ

Моменты затяжки резьбовых соединений

Применение
Н•м
lb-ft
lb-in
Гайки крепления приемной трубы глушителя к малому предварительному нейтрализатору
25 - 35
18 - 25
-
Гайки крепления переднего глушителя на заднем глушителе
25 - 35
18 - 25
-
Болт крепления малого предварительного катализатора к приемной трубе глушителя
35 - 45
26 - 33
-
Болт нижнего кронштейна каталитического нейтрализатора
25 - 35
18 - 25
-
Теплоизоляционный щиток заднего глушителя
8 - 12
-
71 - 106

РАСПОЛОЖЕНИЕ КОМПОНЕНТОВ

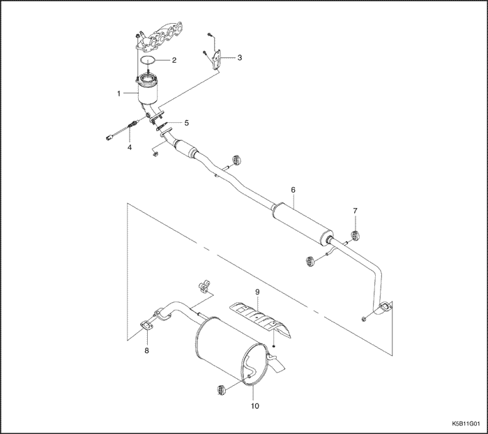
Система выпуска отработавших газов (0,8 л/1,0 л)


K5B11G01
Показать иллюстрациюПеревод текста в иллюстрациях


  1. Малый предварительный катализатор (каталитический нейтрализатор)
  2. Прокладка
  3. Кронштейн
  4. o2s (датчик кислорода) - только 1,0 л
  5. Прокладка
  6. Передний глушитель
  7. Крепление глушителя
  8. Прокладка
  9. Теплоизоляционный щиток
  10. Задний глушитель

ТЕХНИЧЕСКОЕ ОБСЛУЖИВАНИЕ И РЕМОНТ

ОБСЛУЖИВАНИЕ АВТОМОБИЛЯ



K5B11B22
Показать иллюстрациюПеревод текста в иллюстрациях


Каталитический преобразователь.

Внимание! Необходимо убедиться в том, что все компоненты остыли. Затем выполнить работу.

Процедура снятия

  1. Снять воздушный фильтр в сборе. См. раздел 1В1, Механическая часть двигателя с одним распределительным валом верхнего расположения.
  2. Отсоедините разъем датчика кислорода.
  3. Снять гайки каталитического нейтрализатора.


  4. K5B11G03
    Показать иллюстрациюПеревод текста в иллюстрациях


  5. Снять болт и гайки нижнего кронштейна каталитического нейтрализатора.
  6. Снять каталитический нейтрализатор с прокладкой.


K5B11G04
Показать иллюстрациюПеревод текста в иллюстрациях


Процедура установки

  1. Установите в порядке, противоположном порядку разборки.
  2. Установить в переднем глушителе каталитический нейтрализатор.
  3. Затянуть



    K5B11B22
    Показать иллюстрациюПеревод текста в иллюстрациях


  4. Установить каталитический нейтрализатор в выпускном коллекторе.
  5. Затянуть
    Затянуть гайки до 35-45 Н•м (26-33 фунто-фута).



K5B11G05
Показать иллюстрациюПеревод текста в иллюстрациях


Передний глушитель

Процедура снятия

  1. Снять каталитический нейтрализатор. См. "Каталитический нейтрализатор" в данном разделе.
  2. Снять гайки крепления переднего глушителя к заднему глушителю.


  3. K5B11G06
    Показать иллюстрациюПеревод текста в иллюстрациях


  4. Отсоединить передний глушитель от резиновой подвески (1).
  5. Снять передний глушитель.


K5B11G06
Показать иллюстрациюПеревод текста в иллюстрациях


Процедура установки

  1. Установите в порядке, противоположном порядку разборки.
  2. Подвесить передний глушитель на резиновой подвеске (1).


  3. K5B11G05
    Показать иллюстрациюПеревод текста в иллюстрациях


  4. Установить гайки крепления переднего глушителя к заднему глушителю.
  5. Затянуть
    Затянуть гайки до 25-35 Н•м (18-25 фунто-футов).



K5B11G05
Показать иллюстрациюПеревод текста в иллюстрациях


Задний глушитель

Процедура снятия

  1. Снять гайки крепления переднего глушителя к заднему глушителю.


  2. K5B11G07
    Показать иллюстрациюПеревод текста в иллюстрациях


  3. Отсоединить задний глушитель от резиновой подвески (1).
  4. Снять задний глушитель.


K5B11G05
Показать иллюстрациюПеревод текста в иллюстрациях


Процедура установки

  1. Установите в порядке, противоположном порядку разборки.
  2. Прицепить задний глушитель к резиновой подвеске.
  3. Установить гайки крепления заднего глушителя к переднему глушителю.

ОБЩЕЕ ОПИСАНИЕ И РАБОТА СИСТЕМЫ

Выпускная система

Примечание: Когда вы проверяете или заменяете элементы выпускной системы, убедитесь в наличии соответствующего расстояния от всех точек нижней части кузова, чтобы избежать возможного перегрева пола и возможного повреждения изоляции пассажирского отсека, а также отделочных материалов.

Проверить всю систему выпуска отработавших газов и соседние участки кузова и задний откидной борт: там не должны быть сломаны, повреждены, неправильно установлены или отсутствовать необходимые детали, не должно быть вскрытых швов, отверстий, ослабленных соединений или других повреждений, из-за которых отработавшие газы могут просачиваться в багажник или салон. Попадание пыли или воды в багажник может указывать на проблемы в одной из этих зон. Любые дефекты должны исправляться незамедлительно.

Глушитель

Глушитель снижает температуру, давление и уровень шума отработавших газов.
Помимо соединения выпускного коллектора в системе выпуска отработавших газов используется соединение с фланцем и уплотнением, в отличие от зажимной конструкции с задвижной стыковкой. Если в результате осмотра переднего глушителя и трубы в сборе обнаруживаются отверстия, разошедшиеся швы или другие дефекты, то следует заменить весь узел. Аналогичная процедура применяется для заднего глушителя.
Теплоизоляционные щитки в узлах переднего и заднего глушителя, а также каталитический нейтрализатор и приемная труба глушителя защищают автомобиль и окружающую среду от высокой температуры, создаваемой системой выпуска отработавших газов.

Каталитический преобразователь.

Примечание: При поддомкрачивании или поднятии автомобиля от балок кузова, убедитесь в том, что подъемные подушки не прикасаются к каталитическому преобразователю, так как это может привести к повреждению каталитического преобразователя.

Примечание: Каталитический нейтрализатор требует обязательного использования неэтилированного бензина, в противном случае он может выйти из строя.

Каталитический нейтрализатор представляет собой устройство контроля за выбросом вредных веществ и добавлено к системе выпуска отработавших газов с целью уменьшения количества загрязняющих веществ, выходящих из выпускных труб.
Каталитический нейтрализатор покрыт каталитическим материалом, содержащим платину и палладий, который уменьшает уровень содержания углеводорода и угарного газа в выхлопных газах. Трехходовый катализатор имеет покрытие, которое содержит платину и родий, что также способствует снижению уровня окиси азота (NOx).


На предыдущую страницуНа следующую страницу
https://vnx.su/ 🛠 Руководства по ремонту и эксплуатации для автомобилей

Поиск по сайту

Остались вопросы или пожелания? Пишите на почту: support@vnx.su

Карта Сайта