К началу документа
Matiz
На предыдущую страницуНа следующую страницу
Главная страница GMDEЗагрузить нединамическое оглавлениеЗагрузить динамическое оглавлениеПомощь

РАЗДЕЛ 1A

ОБЩИЕ ДАННЫЕ О ДВИГАТЕЛЕ

ТЕХНИЧЕСКИЕ ХАРАКТЕРИСТИКИ

Общие технические характеристики

ПРОГРАММА
Описание
0,8 л один распределительный вал верхнего расположения
1,0 л один распределительный вал верхнего расположения
Производительность автомобиля
Максимальная скорость
145 км/ч (90 миль/ч)
156 км/ч (97 миль/ч)
Преодоление подъема
0,430 tan θ
0,450 tan θ
Минимальный радиус поворота
4,6 м (15,1 фута)
Мощность двигателя
Степень сжатия
9.3 : 1
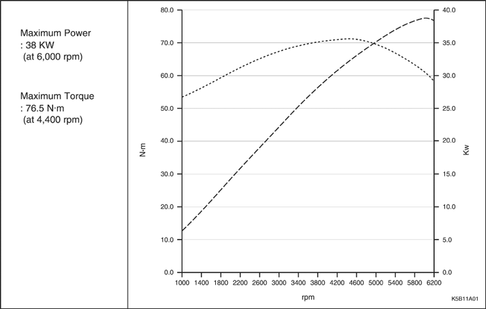
Макс. мощность
38,0 кВт (6000 мин-1)
48,5 кВт (5400 мин-1)
Макс. крутящий момент
71,5 Н•м (52,74 фунто-фута) (при 4400 об/мин)
91 Н•м (67,1 фунто-фут) (при 4200 об/мин)
Частота вращения на холостом ходу
Система кондиционирования воздуха (ВКЛ.)
1000 ± 50 об/мин.
.
Система кондиционирования воздуха (ВЫКЛ.)
950 об/мин.
Вид детали двигателя
Двигатель
3 цилиндра (рядный)
4 цилиндра (рядный)
Диаметр цилиндров и ход поршня
68,5 х 72,0 мм (2,70 х 2,83 дюйма)
68,5 х 67,5 мм (2,70 х 2,66 дюйма)
Рабочий объем
796 см³(48,6 дюйма³)
995 см³ (60,7 дюйма³)
Последовательность распределения тока по свечам зажигания
1-3-2
1-3-4-2
Тип зажигания
Система непосредственного зажигания (dis)
Стартер
sd 80n
Свечи зажигания
bpr5ey-11, wr8dcx
Тип впрыска топлива
Многоточ. инжектор
Топливный насос
Насос с электродвигателем
Топливный фильтр
Патронный
Вид смазки
С принудительной подачей
Масляный насос
Ротационный насос
Вид охлаждения
Принудительная циркуляция воды
Радиатор
С гориз. располож. трубок
Водяной насос
Центробежный
Термостат
С чувствительным элементом
Аккумулятор
mf
Моторное масло
api sl sae i0w-30 (Холодная зона: sae 5w-30), жаркая зона: sae 15w-40/sae 10w-30
ПРОГРАММА
Описание
0,8 л один распределительный вал верхнего расположения
1,0 л один распределительный вал верхнего расположения
Емкость узла двигателя
Моторное масло
Демонтаж двигателя
3,0 л (3,17 кварты)
3,5 л (3,70 кварты)
.
Замена масла (включая фильтр)
2,7 л (2,85 кварты)
3,2 л (3,38 кварты)
.
Замена масла (не включая фильтр)
2,5 л (2,64 кварты)
3,0 л (3,17 кварты)
Охлаждающая жидкость
4,0 л (4,23 кварты)
4,2 л (4,44 кварты)
Аккумулятор
12 В - 35 АЧАС, 275 cca
Генератор
12В - 65А
Стартер
0,8 кВт
Емкость топливного бака
35 л (9,2 галлона)

Кривая мощности двигателя

0,8 л одинарный верх. распредвал


K5B11A01
Показать иллюстрациюПеревод текста в иллюстрациях


1,0 л одинарный верх. распредвал


K5B11A02
Показать иллюстрациюПеревод текста в иллюстрациях


РАСПОЛОЖЕНИЕ КОМПОНЕНТОВ

Моторный отсек (0,8 л один распределительный вал верхнего расположения)

(показано левостороннее рулевое управление, правостороннее аналогично)


K5B11A03
Показать иллюстрациюПеревод текста в иллюстрациях


  1. Расширительный бачок
  2. Датчик температуры впускного воздуха
  3. Датчик давления воздуха в коллекторе
  4. Корпус дроссельной заслонки
  5. Бачок тормозной жидкости
  6. Аккумулятор
  7. Контроллер ЭСУД
  8. Коробка предохранителей
  9. Фара
  10. Корпус воздухоочистителя
  11. Клапан регулятора холостого хода
  12. Датчик положения дроссельной заслонки (ДПДЗ)
  13. Шланг угольного фильтра
  14. Кабель зажигания
  15. Трос дроссельной заслонки
  16. Погружная труба
  17. dis
  18. Крышка горловины для заливки моторного масла
  19. Бачок для жидкости рулевого управления с гидроусилителем
  20. Щуп для измерения уровня масла
  21. Модуль АБС
  22. Бачок с жидкостью для омывателя

Моторный отсек (1,0 л один распределительный вал верхнего расположения)

(показано левостороннее рулевое управление, правостороннее аналогично)


K5B11A04
Показать иллюстрациюПеревод текста в иллюстрациях


  1. Расширительный бачок
  2. Датчик температуры впускного воздуха
  3. Датчик давления воздуха в коллекторе
  4. Корпус дроссельной заслонки
  5. Бачок тормозной жидкости
  6. Аккумулятор
  7. Контроллер ЭСУД
  8. Коробка предохранителей
  9. Фара
  10. Корпус воздухоочистителя
  11. Погружная труба
  12. Кабель зажигания
  13. dis
  14. Бачок для жидкости рулевого управления с гидроусилителем
  15. Щуп для измерения уровня масла
  16. Крышка горловины для заливки моторного масла
  17. Модуль АБС
  18. Бачок с жидкостью для омывателя

ДИАГНОСТИКА

Общая диагностика

СОСТОЯНИЕ
Вероятная причина
Устранение
Затрудненный запуск (при холодном запуске двигателя)
Неисправность системы зажигания
Перегорел предохранитель.
Замените предохранитель.
.
Перегорела свеча зажигания.
Очистить, отрегулировать зазор в свече или заменить.
.
Утечка тока в кабеле высокого напряжения.
Заменить трос.
.
Ненадежное соединение кабеля высокого напряжения или токопроводящих проводников.
Заменить кабель или провода.
.
Нарушена установка угла опережения зажигания.
Откорректировать установку угла опережения зажигания.
.
Неисправна катушка зажигания.
Заменить катушку зажигания.
Неисправность топливной системы
Заблокирована подача топлива из топливного бака.
Подать топливо.
.
Загрязнен или засорен топливный фильтр.
Заменить фильтр.
.
Закупорка топливопровода.
Очистить топливопровод.
.
Неисправность топливного насоса.
Заменить топливный насос.
.
Неисправность топливной форсунки.
Заменить форсунку.
.
Постороннее вещество в топливном баке.
Очистить топливный бак и заменить топливный фильтр.
Падение давления сжатия
Слабая затяжка свечи зажигания.
Затянуть до указанного момента затяжки.
.
Растрескалась прокладка головки цилиндров.
Заменить прокладку.
.
Несоответствующий зазор клапанов.
Откорректировать зазор.
.
Утечка в зазоре клапанов.
Отремонтировать клапан.
.
Нарушение в штоке клапана.
Заменить клапан или направляющую клапана.
.
Недостаточная упругость или повреждение пружины клапана.
Заменить пружину клапана.
.
Значительное нарушение в работе поршней и цилиндров.
Заменить поршневое кольцо.
.
Сильный износ поршней, колец или цилиндров.
Заменить кольцо или поршень с каналом ствола или заменить цилиндр.
Прочее
Обрыв приводного ремня газораспределительного механизма.
Заменить ремень.
.
Неисправность клапана принудительной вентиляции картера.
Проверить и при необходимости заменить клапан принудительной вентиляции картера.
.
Отсоединение, повреждение или нарушение герметичности вакуумного шланга.
Установить надежное соединение шланга или заменить его.
.
Утечка в системе впуска.
Заменить систему впуска.
Недостаток мощности двигателя
Падение давления сжатия
См. "Страница 1А-5".
См. "Страница 1А-5".
Неисправность системы зажигания
Нарушена установка угла опережения зажигания.
Откорректировать установку угла опережения зажигания.
.
Перегорела свеча зажигания.
Отрегулировать или заменить свечу зажигания.
.
Утечка тока или ненадежное соединение в кабеле высокого напряжения.
Правильно присоединить кабель или заменить его.
Неисправность топливной системы
Закупорка топливопровода.
Очистить трубу.
.
Засорение или загрязнение топливного фильтра.
Заменить фильтр.
Прочее
Засорение системы выпуска отработавших газов.
Проверить и отремонтировать систему.
.
Засорение или загрязнение элемента воздушного фильтра.
Очистить или заменить элемент воздушного фильтра.
.
Утечка через прокладку впускного коллектора.
Заменить прокладку.
.
Слабая работа тормозов.
Отремонтировать или заменить тормозные механизмы.
.
Пробуксовка сцепления.
Отрегулировать или заменить сцепление.
Неустойчивые холостые обороты.
Падение давления сжатия
См. "Страница 1А-5".
См. "Страница 1А-5".
Неисправность топливной системы
Закупорка топливопровода.
Очистить трубу.
.
Засорение или загрязнение топливного фильтра.
Заменить фильтр.
.
Неисправность регулятора давления в топливопроводе.
Заменить регулятор.
Неисправность системы зажигания
Неисправность свечи зажигания.
Отрегулировать или заменить свечу зажигания.
.
Износ контакта крышки прерывателя-распределителя или нагар в крышке прерывателя-распределителя.
Заменить или очистить крышку прерывателя-распределителя.
.
Неточная установка угла опережения зажигания.
Откорректировать установку угла опережения зажигания.
.
Неисправность катушки зажигания.
Заменить катушку зажигания.
Прочее
Засорение или загрязнение элемента воздушного фильтра.
Очистить или заменить элемент воздушного фильтра.
.
Утечка через прокладку впускного коллектора.
Заменить прокладку.
.
Неисправность клапана принудительной вентиляции картера.
Проверить или при необходимости заменить ее.
.
Ненадежное соединение или повреждение или нарушение герметичности вакуумного шланга.
Установить надежное соединение шланга или заменить его.
"Медлительность" двигателя (двигатель реагирует на нажатие педали газа не сразу. Это особенно заметно при использовании круиз-контроля или запуске).
Падение давления сжатия
См. "Страница 1А-5".
См. "Страница 1А-5".
Неисправность системы зажигания
Неточная установка угла опережения зажигания.
Откорректировать установку угла опережения зажигания.
.
Плохое состояние свечи зажигания или неправильный зазор свечи.
Заменить свечу или отрегулировать зазор.
.
Утечка тока или ненадежное соединение в кабеле высокого напряжения.
Правильно присоединить кабель или заменить его.
Прочее
Неисправность системы очистки воздуха.
Очистить или заменить систему очистки воздуха.
.
Утечка через прокладку впускного коллектора.
Заменить прокладку.
Неровный ход двигателя (мощность двигателя изменяется при фиксированной скорости и скорость изменяется без изменения нажима на педаль газа).
Падение давления сжатия
См. "Страница 1А-5".
См. "Страница 1А-5".
Неисправность топливной системы
Закупорка топливопровода.
Очистить трубу.
.
Засорение или загрязнение топливного фильтра.
Заменить фильтр.
.
Неисправность регулятора давления в топливопроводе.
Заменить регулятор давления топлива.
Неисправность системы зажигания
Неисправность свечи зажигания.
Отрегулировать или заменить свечу зажигания.
.
Утечка тока или ненадежное соединение в кабеле высокого напряжения.
Правильно присоединить кабель или заменить его.
.
Ослаблен или поврежден ротор прерывателя-распределителя или крышка.
Заменить ротор прерывателя-распределителя или крышку.
.
Неточная установка угла опережения зажигания.
Откорректировать установку угла опережения зажигания.
Прочее
Утечка через прокладку впускного коллектора.
Очистить или заменить прокладку.
.
Нарушение герметичности вакуумного шланга.
Установить надежное соединение шланга или заменить его.
Повышенная детонация (в пределах открытия дроссельной заслонки прослушивается металлический хлопок с нарушенной вспышкой).
Перегрев двигателя
См. "Перегрев" на данной странице.
См. "Перегрев" на данной странице.
Неисправность системы зажигания
Неисправность свечи зажигания.
Заменить свечу зажигания.
.
Неточная установка угла опережения зажигания.
Откорректировать установку угла опережения зажигания.
.
Утечка тока или ненадежное соединение в кабеле высокого напряжения.
Правильно присоединить кабель или заменить его.
Неисправность топливной системы
Засорен или загрязнен топливный фильтр и топливопровод.
Очистить или заменить топливный фильтр и топливопровод.
Прочее
Утечка через прокладку впускного коллектора.
Заменить прокладку.
.
Большой нагар в связи с нарушением сгорания.
Удалить нагар.
Перегрев
Неисправность системы охлаждения
Недостаток охлаждающей жидкости.
Долить охлаждающую жидкость.
.
Неисправность термостата.
Заменить термостат.
.
Неисправность вентилятора системы охлаждения.
Проверить или заменить вентилятор системы охлаждения.
.
Нарушена работоспособность насоса охлаждающей жидкости.
Заменить насос.
.
Засорен радиатор или в нем утечка.
Очистить, отремонтировать или заменить радиатор.
Неисправность системы смазки
Низкое качество моторного масла.
Заменить моторное масло на указанный сорт.
.
Забился масляный фильтр или фильтр грубой очистки.
Очистить или заменить масляный фильтр или фильтр грубой очистки.
.
Недостаток моторного масла.
Долить масло.
.
Снижение работоспособности масляного насоса.
Заменить или отремонтировать насос.
.
Утечка масла.
Ремонт.
Прочее
Нарушена прокладка головки цилиндров.
Заменить прокладку.
Недостаточный расход топлива.
Падение давления сжатия
См. "Страница 1А-5".
См. "Страница 1А-5".
Неисправность топливной системы
Утечка в топливном баке или топливопроводе.
Отремонтировать или заменить топливный бак или топливопровод.
Неисправность системы зажигания
Нарушена установка угла опережения зажигания.
Откорректировать установку угла опережения зажигания.
.
Нарушена работа свечи зажигания (большой нагар, нарушен зазор, перегорел электрод).
Заменить свечу зажигания.
.
Утечка тока или ненадежное соединение в кабеле высокого напряжения.
Правильно присоединить кабель или заменить его.
Неисправность системы охлаждения
Неисправность термостата.
Заменить термостат.
Прочее
Неправильная установка клапана.
Отремонтировать или заменить клапан.
.
Пробуксовка сцепления.
Отремонтировать или заменить сцепление.
.
Низкое давление в шинах.
Довести давление в шинах до нормы.
Повышенный расход моторного масла
Утечка моторного масла
Отвернулась пробка горловины для слива масла.
Подтянуть пробку.
.
Отвернулись болты масляного поддона.
Подтянуть болты.
.
Плохо закреплен масляный фильтр.
Подтянуть фильтр.
.
Ослабление выключателя давления в маслопроводе.
Подтянуть выключатель.
.
Нарушение герметичности в переднем сальнике распределительного вала.
Заменить сальник.
.
Нарушение герметичности в переднем сальнике коленчатого вала.
Заменить сальник.
.
Утечка через прокладку крышки головки цилиндров.
Заменить прокладку.
.
Повреждение прокладки головки цилиндров.
Заменить прокладку.
Смешивание с маслом в камере сгорания.
Заело поршневое кольцо.
Удалить нагар и заменить кольцо.
.
Износ поршня или цилиндра.
Заменить поршень или цилиндр.
.
Износ поршневого кольца или кольцевой бороздки.
Заменить поршнень или кольцо.
.
Нарушено расположение режущей части поршневого кольца.
Отрегулировать расположение.
.
Истирание или повреждение системы клапанов.
Заменить систему клапанов.
Низкое давление масла
Неисправность системы смазки
Несоответствующая вязкость масла.
Заменить на указанный сорт.
.
Ослабление выключателя давления в маслопроводе.
Подтянуть выключатель.
.
Недостаток моторного масла.
Долить масло.
.
Закупорка масляного фильтра.
Очистить фильтр.
.
Снижение работоспособности масляного насоса.
Заменить насос.
.
Истирание или повреждение предохранительного клапана масляного насоса.
Заменить клапан.
Шум в двигателе
Шум клапанов
Нарушен зазор в клапанах
Отрегулировать зазор в клапанах.
.
Истирание штока или направляющей клапана.
Заменить шток или направляющую клапана.
.
Ослабла пружина клапана.
Замените пружину.
Шум от поршня, кольца, цилиндра
Истирание поршня, кольца или цилиндра.
Расточка цилиндра или замена поршня, кольца или цилиндра.
Шум от шатуна
Истирание шатунного подшипника.
Заменить подшипник.
.
Открутилась гайка шатуна.
Затянуть до указанного момента затяжки.
Шум от коленчатого вала
Истирание коренного подшипника.
Заменить подшипник.
.
Истирание шейки коленчатого вала.
Отшлифовать или заменить шейку коленчатого вала.
.
Открутился болт крышки подшипника.
Затянуть до указанного момента затяжки.
.
Повышенный зазор в упорном подшипнике коленчатого вала.
Произвести регулировку или заменить.
.
Низкое давление масла.
См. "Низкое давление масла" в данном разделе.

Проверка уровня жидкости в двигателе

Проверить уровень или состояние жидкости в двигателе. При необходимости долить или заменить масло.
Проверить уровень масла в двигателе в пределах обычной рабочей температуры следующим образом:
  1. Заглушив двигатель, подождать несколько минут, чтобы масло собралось в масляном поддоне.
  2. Вытащив щуп для измерения уровня масла (а), проверить по нему его уровень.
  3. Очистить щуп для измерения уровня масла и вставить его в направляющую трубку.
  4. Вытащив щуп еще раз, повторно проверить уровень масла и вставить его в направляющую трубку опять.

Важно: Уровень масла должен быть в пределах между отметкой "МИН" и "МАКС".

  1. Если уровень масла ниже отметки "МИН", долейте моторное масло до нужного уровня.

Важно: При проверке уровня масла в момент, когда двигатель остыл, масло быстро не собирается в масляном поддоне и точность проверки его уровня не обеспечивается. Поэтому нужно дождаться повышения температуры до рабочего уровня и тогда проверить уровень моторного масла.


K5B11A05
Показать иллюстрациюПеревод текста в иллюстрациях


Замена моторного масла или масляного фильтра

Необходимое оборудование

09915-47341 Ключ для масляного фильтра.
При проверке уровня или состояния моторного масла, если это необходимо, заменить моторное масло (включая фильтр) следующим образом:
  1. Заглушив двигатель, подождать несколько минут, чтобы масло собралось в масляном поддоне.
  2. Снять колпачок масляного фильтра (b).
  3. Снять пробку отверстия для слива масла (с) и слить масло.

K5B11A06
Показать иллюстрациюПеревод текста в иллюстрациях


  1. После того, как масло полностью сольется, затянуть пробку отверстия для слива масла до 30-40 Н•м (22-30 фунто-футов).
  2. Заменить масляный фильтр с помощью ключа для масляного фильтра DW 130-040.

Важно: При любой замени моторного масла заменять масляный фильтр. При установке нового масляного фильтра нанести моторное масло на уплотнение масляного фильтра.


K5B11A07
Показать иллюстрациюПеревод текста в иллюстрациях


Проверка приводного ремня газораспределительного механизма двигателя

После проверки на прочность закрепления, отсутствие трещин, износ и натяжение приводного ремня газораспределительного механизма при необходимости заменить ремень.

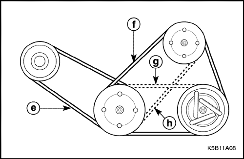
Проверка вспомогательного ремня

После проверки ремня генератора (е), ремня системы кондиционирования воздуха/рулевого управления с гидроусилителем (f), ремня системы кондиционирования воздуха (g), ремня системы рулевого управления с гидроусилителем (h) на прочность закрепления, отсутствие трещин, износ и натяжение при необходимости произвести замену ремня.

K5B11A08
Показать иллюстрациюПеревод текста в иллюстрациях


Проверка свечей зажигания

После проверки зазора в свечах зажигания, присутствия нагара, степени износа электродов или целостности изоляторов при необходимости заменить на новые.
Снять и проверить свечи зажигания следующим образом:
  1. Вытащить участок кабеля высокого напряжения с насадкой (i) и отсоединить его от свечи зажигания. Если потянуть за кабель высокого напряжения (j), цепь может разъединиться. Поэтому нужно браться только за ту часть, где имеется насадка.

K5B11A09
Показать иллюстрациюПеревод текста в иллюстрациях


  1. Снять свечи зажигания с головки цилиндров гаечным ключом.
  2. Замерить зазор в свечах зажигания (k) с помощью калибра. Если измеренная величина не соответствует указанной, отрегулировать положение заземляющего электрода. При установке новой свечи зажигания проверить ее зазор и установить ее.

K5B11A10
Показать иллюстрациюПеревод текста в иллюстрациях


Проверка элемента воздушного фильтра

При загрязнении элемента воздушного фильтра нарушается эффективность работы двигателя.
Необходимо часто проверять этот элемент.
Особенно необходимо часто проверять и заменять этот элемент при езде автомобиля по пыльной дороге.

Проверка топливного фильтра

При использовании топливного фильтра сверх указанного периода на работе двигателя начинает сказываться пыль или постороннее вещество.
Поэтому необходимо заменять его в течение указанного периода на новый.

Проверка топливной системы

Проверить топливную систему следующим образом:

Проверка системы шлангов

Проверить вакуумный шланг двигателя, шланг системы вентиляции картера или шланг угольного фильтра следующим образом:

ОБЩИЕ СВЕДЕНИЯ

Чистота и уход

Автомобильный двигатель - это комбинация многих обточенных, хонингованных, отполированных и притертых поверхностей с допусками, измеряемыми в десятитысячных долях дюйма. При обслуживании внутренних деталей двигателя важны чистота и уход. На трущиеся поверхности во время сборки наносится толстый слой машинного масла для защиты и смазки поверхностей в начальный период эксплуатации. Правильная очистка и защита обработанных на станке поверхностей и трущихся деталей - часть процедуры ремонта. Она считается стандартной практикой ремонтных мастерских, даже если это не оговорено особо.
После снятия компонентов клапанного механизма для обслуживания их следует содержать в надлежащем порядке. Их следует устанавливать на те же места и с теми же сопрягаемыми поверхностями, как и до демонтажа. Перед проведением больших работ на двигателе следует отключить кабели аккумуляторной батареи. При неотключении кабеля возможны повреждения жгутов кабелей или других электрических деталей.

Обслуживание двигателя

Внимание! Отключите отрицательный кабель батаре перед снятием или установкой любых электрических узлов или при возможном контакте инструментов или оборудования с оголенными электрическими клеммами. Отключение кабеля поможет избежать травм и механических повреждений. Необходимо также, чтобы ключ зажигания находился в положении "B", если не указано иное.

Примечание: При снятии воздушного фильтра необходимо закрыть впусное отверстие. Эта мера защитит от случайного попадания постороннего материала, который по впускному каналу может попасть в цилиндр и вызвать сильное повреждение при запуске двигателя.



На предыдущую страницуНа следующую страницу
https://vnx.su/ 🛠 Руководства по ремонту и эксплуатации для автомобилей

Поиск по сайту

Остались вопросы или пожелания? Пишите на почту: support@vnx.su

Карта Сайта