413-13A Parking Aid - Vehicles With: Rear Parking Aid 2014 Fiesta
General Procedures Procedure revision date: 05/21/2013

Azimuth System Check

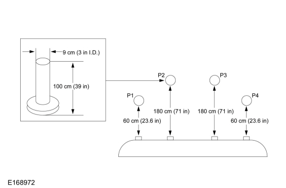
  1. NOTE: The object used in this system check can be fabricated using a 9 cm diameter (3 in I.D.) pipe, 100 cm (39 in) in length (available as Polyvinyl Chloride (PVC) pipe, or similar from a hardware or plumbing supply.

    NOTE: The following system check should be carried out with the vehicle on a level surface.

    NOTE: The parking aid system defaults to on when the ignition is cycled from the OFF position to the ON position.

    Arrange the test objects as shown.
  1. Turn the ignition ON, engine off.
  1. Apply the parking brake.
  1. Place the gear shift in REVERSE (R).
  1. NOTE: The speaker should beep slowly when objects are detected on the outer edges of the detection zone, and increase in rate as the object is moved closer to the vehicle. When the object is within 12  in ( 30  cm) of the bumper, the tone should sound continuously.

    NOTE: If the BCM does not detect the object above, refer to Diagnosis and Testing.

    Verify the BCM detects the objects when placed in the 4 specified locations (P1, P2, P3 and P4).